178115 (596260), страница 6
Текст из файла (страница 6)
Отжиг углеродистой листовой стали после холодной прокатки является окончательной термической обработкой, поэтому его проводят в защитной атмосфере, предохраняющей поверхность от окисления. После такого отжига, называемого светлым, листовая сталь в травлении не нуждается.
2.2.3.1 Колпаковая печь
В цехах холодной прокатки для отжига углеродистой листовой стали широко применяют колпаковые печи (рис. 2.3). Колпаковая печь состоит из неподвижного стенда (пода) 7, внутреннего колпака-муфеля 2, выполненного из жаропрочной стали, и наружного нагревательного колпака 1, установленного над муфелем и футерованного огнеупорным легковесным кирпичом. В этом колпаке (иногда в стенках стенда) внизу расположены горелки 9 и сделаны дымовые окна 6.
Рулоны 3 листовой стали укладывают на стенде в стопу и накрывают муфелем. Этот муфель устанавливают в специальный песочный затвор, предохраняющий отжигаемый металл от продуктов сгорания при нагреве и атмосферного воздуха при охлаждении. Затем муфель накрывают колпаком. Продукты сгорания, выходящие из горелок, экранами направляются к своду, затем опускаются и через дымовые окна отсасываются эжектором 5.
При нагреве и охлаждении рулонов внутрь муфеля непрерывно поступает защитный газ для предохранения поверхности листовой стали от окисления и появления цветов побежалости. Для ускорения нагрева применяют принудительную циркуляцию защитного газа, передающего тепло от стенки муфеля к торцовым и внутренним поверхностям рулонов. С этой целью современные колпаковые печи для отжига рулонов оборудованы специальными вентиляторами 8, установленными под стопой рулонов. Вентилятор забирает защитный газ из полости внутри рулонов и через специальный направляющий аппарат выбрасывает его в пространство между стенкой рулонов и муфелем. Защитный газ, получивший тепло от стенок муфеля, проходит между рулонами через отверстия в специальных ребристых прокладках 4, установленных между рулонами, поступает во внутреннюю полость рулонов и далее к вентилятору.
Для отжига рулонов листовой стали используют многостопные и одностопные колпаковые печи. Последние получают все большее распространение, так как имеют наилучший обогрев рулонов. Кроме того, нагревательные колпаки одностопных колпаковых печей имеют меньшую массу, что удешевляет здание и мостовые краны переноса колпаков. Загрузка этих печей более простая, так как садка состоит из 2-3 рулонов.
Обычно один нагревательный колпак обслуживает 3-4 стенда. Нагревательный колпак, после того как садка нагрета до заданной температуры, снимают и переносят на другой стенд. Такой порядок работы позволяет использовать тепло, аккумулированное в футеровке нагревательного колпака, для нагрева новой садки и, следовательно, увеличить производительность печи.
Для ускорения охлаждения применяют специальные охладительные колпаки, которые помещают над муфелями после переноса нагревательного колпака на другой стенд. На верху такого колпака устанавливают вентилятор, который засасывает в пространство между колпаком и муфелем холодный воздух, ускоряя этим охлаждение рулонов. При температуре ниже 300 °С для ускорения охлаждения применяют также воду, которую подают по трубопроводам на верх муфеля; последняя стекает по его наружной стенке или впрыскивается снизу и увлажняет воздух, засасываемый вентилятором охладительного колпака.
Колпаковые печи отапливают чаще всего коксовым газом, причем газ сгорает непосредственно в пространстве между нагревательным колпаком и муфелем или в радиационных трубах, изготовленных из жаропрочной стали.
Рис. 2.3 Колпаковая печь для светлого отжига рулонов листовой стали после холодной прокатки
Электрические колпаковые печи в большинстве случаев применяют для термической обработки специальной листовой стали. Кроме того, для отжига листовой стали применяют непрерывные печи, которые позволяют значительно ускорить процесс производства холоднокатаной листовой стали, так как время отжига разматываемой полосы, проходящей через печь с большой скоростью, составляет несколько минут. В непрерывных печах рулоны разматываются, концы их свариваются и полоса движется непрерывно через печь, в которой она нагревается и охлаждается, а затем, по выходе из печи, сварные швы вырезают и полоса сматывается в рулоны. Большим преимуществом непрерывного отжига является также то, что полоса по всей длине имеет одинаковые механические свойства. Это обусловливается одинаковыми условиями нагрева и охлаждения. Следует отметить, что при непрерывном отжиге исключается опасность слипания витков рулона и наблюдается некоторое уменьшение коробоватости и волнистости полосы, получающихся при холодной прокатке.
2.2.3.2 Агрегат непрерывного отжига жести
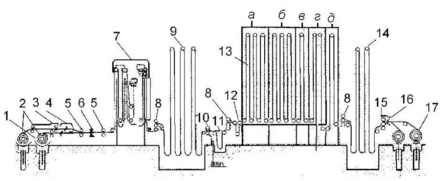
На рис.2.4 показана схема агрегата непрерывного отжига жести. Рулоны жести подают к разматывателю. Обычно устанавливают два разматывателя 1 и 2, причем с одного из них полоса поступает в печь, а на другой в это время устанавливают новый рулон. Применение двух разматывателей позволяет сократить время перехода на новый рулон при окончании размотки предыдущего и этим уменьшить емкость петлевого устройства.
С разматывателя полосу подают тянущими роликами 3 к сдвоенным гильотинным ножницам 4, на которых обрезают задний конец предыдущего рулона и передний конец следующего рулона перед сваркой их внахлестку в электросварочной машине 7. Перед сварочной машиной и за ней имеются подающие ролики 5. Так как жесть подвергают лужению, поверхность ее перед отжигом очищают от масла, металлической пыли и других веществ, остающихся на полосе после прокатки. В противном случае образуется сажистый налет, который может привести к браку при лужении. После подающих роликов 5 полоса проходит петлевую секцию 6, состоящую из ванны химической обработки, щеточно-моечных машин, ванны электролитического обезжиривания и камеры для промывки водой и сушки полосы.
Рис. 2.4. Схема агрегата непрерывного отжига листовой стали с башенными печами
Далее полоса поступает в тянущие ролики 8 и в петлевую башню 9, обеспечивающую непрерывную работу отжигательной печи во время сварки концов. Эта башня представляет собой сварную металлическую конструкцию высотой около 20 м, под которой имеется петлевая яма. За петлевой башней установлены дисковые ножницы 10 для обрезки боковых кромок в случае, если на них есть мелкие трещины (во избежание обрывов полосы в печи), за которыми расположено небольшое петлевое устройство 11. Далее полоса проходит тянущие ролики 8 и регулятор натяжения 12, который создает необходимое натяжение полосы перед поступлением в печь. Отжигательная печь 13 состоит из камер нагрева а, выдержки б, замедленного охлаждения в, ускоренного охлаждения г и окончательного охлаждения д. В камере нагрева полоса делает три петли длиной 100 м и нагревается до 700-730 °С. На входе в эту камеру установлены специальные уплотняющие ролики, препятствующие проникновению воздуха в печь. С двух сторон каждой ветви петли расположены нагревательные элементы. Если печь отапливается газом, то нагревательным элементом являются радиационные трубы (коксодоменный газ сжигается в трубах). Если для нагрева применяют электроэнергию, то нагревателями являются элементы сопротивления.
Камера выдержки предназначена для выдерживания полосы при температуре нагрева и имеет электрический обогрев. В этой камере полоса также делает три петли общей длиной около 100 м. В камере замедленного охлаждения полоса делает только одну петлю и охлаждается до 500 °С, проходя между трубами с холодным воздухом. Предусмотренные в камере электронагреватели включают только в начале работы печи для разогрева кладки. В этой камере при замедленном охлаждении полосы обеспечивается полное выпадение мелкодисперсных карбидов, растворенных в феррите, что необходимо для повышения пластических свойств металла. Далее полоса проходит камеру ускоренного охлаждения, где она делает 10 петель, проходя через каналы с водяными рубашками. Для ускорения охлаждения осуществляется циркуляция защитного газа. В камере ускоренного охлаждения полоса охлаждается до 120-150 °С. Во всех четырех камерах полоса находится в атмосфере защитного газа, поэтому по выходе из четвертой камеры поверхность полосы будет светлой (при 120-150 °С цвета побежалости не образуются). Дальнейшее охлаждение полосы до температуры не выше 50 °С производится в камере окончательного охлаждения, где полоса делает одну петлю. В этой камере полосу охлаждают холодным воздухом. Исследования показывают, что время отжига можно сократить в несколько раз, используя ускоренный нагрев и охлаждение полосы. Для быстрой заправки полосы печь имеет люки сверху и снизу, а также специальные механизмы, осуществляющие заправку.
За печью непрерывного отжига имеются выходные тянущие ролики 8 и петлевая башня с ямой 14. Далее установлены тянущие ролики 15, ножницы 16 для вырезки сварных швов и две моталки 17, оборудованные уборочными устройствами для рулонов. При непрерывном отжиге полоса под натяжением проходит петлевой путь в башнях, огибая направляющие профилированные ролики на 180°, благодаря чему ее легче центрировать; поэтому скорость движения полосы достигает в этих печах до 10 м/с. Производительность непрерывных печей башенного типа составляет 30-50 т/ч.
Кроме агрегатов непрерывного отжига с вертикальной печью, применяют также агрегаты с горизонтальным расположением печи.
Длина этих печей достигает 150-200 м, что является одним из недостатков, так как они удлиняют здание цеха. Для уменьшения длины печей ролики для перемещения полосы располагают в несколько рядов по высоте. В этом случае полоса с помощью роликов делает несколько поворотов по высоте рабочего пространства печи и после этого выходит из печи. В горизонтальных печах отжигают полосы толщиной 0,5-2,0 мм. Производительность таких печей низкая (10-15 т/ч) вследствие того, что по условиям центрирования движущейся полосы скорость ее не превышает 1,5-2,0 м/с. При скорости движения полосы более 2,0 м/с происходит сильное биение и сползание полосы к стенкам печи.
Преимуществами этих агрегатов являются меньшая высота цеха, более простой ввод в печь переднего конца полосы и более легкая наладка в случае разрывов полосы.
2.2.3.3 Дрессировка
Следующая операция отделки холоднокатаных листов углеродистой стали - дрессировка, которая заключается в холодной прокатке металла с обжатиями в пределах 0,5-3 %.
Дрессировка углеродистой листовой стали, применяемой главным образом в автотракторной промышленности, предназначена для предотвращения появлений линий сдвига при штамповке (линий Чернова - Людерса), что исключает ее применение без дополнительной обработки - дрессировки. Эти линии бывают настолько резко выражены, что даже после покраски и эмалирования они остаются заметными. Для изделий, к поверхности которых предъявляют повышенные требования, листовая сталь с линиями сдвига совершенно непригодна.
Кроме того, в результате дрессировки заметно улучшается поверхность листовой стали. Мягкая листовая сталь после дрессировки приобретает некоторую упругость, что предохраняет ее от ломки и смятия при дальнейшей обработке. В результате дрессировки несколько повышается прочность листовой стали, а также уменьшается волнистость и коробоватость листов.
В современных цехах холодной прокатки для дрессировки углеродистой листовой стали применяют одноклетевые или двухклетевые четырехвалковые станы, которые по конструкции аналогичны станам холодной прокатки. Дрессировка на этих станах производится с натяжением, при котором обеспечивается не только обжатие металла, но и правка его растяжением. При дрессировке углеродистой листовой стали толщиной 0,5-1,5 мм натяжение составляет 0,7-0,8 предела текучести. Для лучшей правки и получения гладкой поверхности полосы желательно на дрессировочных станах применять рабочие валки большого диаметра (для получения большего упругого сплющивания валков и большей длины контакта с полосой). Однако для унификации на дрессировочных станах применяют валки того же диаметра, что и на станах холодной прокатки данного цеха (500-600 мм).
На рис. 2.5 показан общий вид одноклетевого дрессировочного четырехвалкового стана 500/1300х1200 конструкции УЗТМ для дрессировки отожженной полосы и жести толщиной 0,2-0,6 мм и шириной 1000 мм, масса рулона 15 т.















