169808 (595764), страница 4
Текст из файла (страница 4)
загрязнений. В этой связи представляют интерес основные закономерности развития колонии микроорганизмов, вводимой в контакт с жидкостью, содержащей питательные вещества, при достаточном обеспечении ее растворенным кислородом. В этом развитии можно выделить следующие фазы:
I - лаг-фазу, или фазу адаптации, которая наблюдается сразу после введения микробиальной культуры в контакт с питательной средой, и в которой практически не происходит прироста биомассы. Длительность этой фазы зависит как от природы органических веществ и степени адаптированности микроорганизмов к ним, так и от условий, в которые вносится микробиальная масса;
II - фазу экспоненциального роста микроорганизмов, в которой избыток питательных веществ и отсутствие продуктов обмена веществ способствуют поддержанию максимально возможной в данных условиях скорости размножения клеток, определяемой лишь биологической сущностью процесса их воспроизводства;
III - фазу замедленного роста, в которой скорость роста биомассы начинает все более сдерживаться по мере истощения питательных веществ и накопления продуктов метаболизма в культуральной среде;
IV - фазу прекращения роста, в которой наблюдается практически стационарное состояние в количестве биомассы, свидетельствующее о равновесии между наличием питательных веществ и накопленной биологической массой;
V - фазу эндогенного дыхания (или фазу самоокисления), в которой из-за недостатка питания начинаются отмирание и распад клеток, ведущие к снижению общего количества биомассы в биологическом реакторе.
Рисунок 4. Зависимость прироста биомассы в аэробных условиях от концентрации питательных веществ [7].
Из рисунка 4 видно, что отмеченным фазам роста микробиальной массы соответствует и динамика изменения концентрации питательных веществ, выраженных через БПК, и, следовательно, можно сделать следующие весьма важные для технической реализации процесса заключения:
• при биологической очистке значительная часть загрязнений, содержащихся в сточных водах, трансформируется в биологическую массу или, иными словами, растворенные и инертные взвешенные органические вещества в результате метаболической активности микроорганизмов и сорбционной способности активного ила превращаются в биологическую массу, сравнительно легко отделимую от очищенной воды;
• длительность изъятия и окисления, содержащихся в сточной воде органических загрязнений будет тем короче, чем дольше масса микроорганизмов будет в контакте с ними;
• при падении содержания органических веществ в очищаемой жидкости ниже определенного предела жизнедеятельность микроорганизмов продолжается, но уже либо за счет накопленных питательных веществ, либо за счет их собственной массы, т.е. отмирания и окисления микроорганизмов со снижением общей их массы (процесс самоокисления).
В большинстве применяемых в настоящее время систем очистки в аэротенках процесс отделения активного ила осуществляется гравитационным путем, т.е. отстаиванием, при котором активный ил осаждается на дно отстойного сооружения и несколько уплотняется, после чего может быть возвращен в аэрационное сооружение. Если ил будет плохо осаждаться в отстойных сооружениях, то его вынос с очищенной водой ухудшает качество очищенной воды, а в некоторых случаях не позволяет поддерживать в аэрационном сооружении требуемую дозу активного ила. Иными словами, если попытаться установить произвольно высокую концентрацию ила в аэрационном сооружении, то при переходе иловой смеси в сооружение для отделения ила путем его осаждения последний будет постепенно выноситься вместе с очищенной водой, и в аэрационном сооружении установится концентрация активного ила, соответствующая иловому индексу для данных условий. Хорошо оседающий ил имеет иловый индекс от 60 – 90 до 120 – 150 мл/г в зависимости от технологического режима работы аэрационных сооружений и состава сточных вод. Как перегрузка, так и недогрузка активного ила по загрязнениям приводят к резкому увеличению илового индекса, названному «вспуханием» ила, и повышенному выносу его с очищенной сточной водой [15].
1.7 Классификация аэротенков
По существующим представлениям «аэротенк представляет собой резервуар, в котором медленно протекает смесь активного ила и очищенной сточной жидкости». Рассмотрим классификацию аэротнков по основным признакам:
по гидродинамическому режиму – аэротенки–вытеснители, аэротенки–смесители и аэротенки с рассредоточенным впуском сточной жидкости (аэротенки промежуточного типа);
по способу регенерирования активного ила – аэротенки с отдельной регенерацией и аэротенки без отдельной регенерации активного ила;
по нагрузкам на активный ил – высоконагружаемые (аэротенки на неполную очистку), обычные и низконагружаемые (аэротенки продленной аэрации);
по количеству ступеней очистки – одно-, двух- и многоступенчатые аэротенки. При этом под ступенью очистки следует понимать часть общей биохимической системы, в которой поддерживается специфическая культура активного ила;
по режиму ввода сточной жидкости – проточные, полупроточные, с переменным рабочим уровнем и контактные.
Конструкции применяемых аэротенков подразделяются по способу подачи сточных вод и их потоку на три основных типа:
-
вытеснители (рисунок 5) с «поршневым» потоком сточных вод;
-
смесители с рассредоточенной или центральной (рисунок 6) подачей и выпуском сточных вод;
-
аэротенки промежуточного типа (рисунок 7).
Рисунок 5. Схема движения сточных вод в четырехкоридорном аэротенке-вытеснителе.
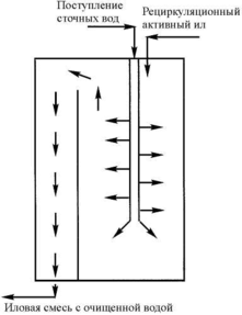
Рисунок 6. Схема аэротенка-смесителя с центральным подводом сточных вод и ила в аэрационную зону.
Рисунок 7. Схема движения сточных вод в аэротенке промежуточного типа: смесителе-вытеснителе.
В основу схем работы аэротенков с регенераторами положены представления о стадийном характере процесса биохимической очистки сточных вод. Согласно данной концепции, первая стадия процесса – адсорбция или изъятие органических загрязнений активным илом – происходит более быстро, чем последующее их окисление. Поэтому обе стадии процесса осуществляются раздельно: в аэротенке происходит адсорбция и минерализация наиболее легко окисляющихся веществ, в регенераторе – завершение окисления сорбированных веществ и восстановление начальной активности ила.
Аэротенки с регенераторами в настоящее время применяются на многих городских станциях аэрации, рассчитанных на полную биохимическую очистку, а также на предприятиях различных отраслей промышленности [9,15].
1.8 Интенсификация биологической очистки сточных вод в аэротенках
Под интенсификацией понимается не только повышение окислительной мощности, но и повышение эффекта или глубины очистки сточных вод в них, равно как и всемерное сокращение затрат на обработку единицы объема очищаемой жидкости.
Введение периодической аэрации. Существенным фактором снижения энергозатрат в процессе биологической очистки сточных вод в аэротенках может служить использование некоторых закономерностей протекания биохимических процессов микробиального изъятия из раствора и последующей трансформации органических веществ. Одним из неизбежно образующихся продуктов первичной трансформации органических соединений является пероксид водорода, который может накапливаться либо в клетках микроорганизмов, либо выделяться в окружающую жидкость. В любом случае пероксид водорода можно рассматривать как определенный запас кислорода, поскольку под воздействием фермента каталазы или пероксидазы он расщепляется на кислород и воду. Это означает, что временное прекращение подачи воздуха в аэротенк не приведет к возникновению анаэробных условий. В силу этого, постоянная аэрация иловой смеси в аэротенке не является необходимой и, следовательно, может быть применена периодической аэрацией без ущерба для протекания аэробных процессов или для глубины очистки воды. Снижение энергозатрат при периодической аэрации происходит за счет двух основных факторов. Первый - это использование при перерыве образующихся в период аэрации количеств пероксида водорода. Второй - периодическое снижение концентрации растворенного в жидкости кислорода повышает интенсивность его переноса из воздуха в жидкость при возобновлении аэрации. По сравнению с непрерывной аэрацией периодическая аэрация позволяет уменьшить затраты электроэнергии на 25-30% [11].
Особо следует подчеркнуть важность введения периодической аэрации иловых смесей в системах с биологическим удалением соединений азота методом нитрификации - денитрификации. В последние годы это направление использования аэротенков всесторонне исследуется и достаточно широко используется в целях глубокого удаления соединений азота одновременно с биологической очисткой воды. Наиболее широкое распространение получили две базовые схемы работы аэротенков: схема работы по одноиловой системе и схема работы по двухиловой системе удаления азота. При этом следует отметить, что предложено и разработано значительное количество различных модификаций этих схем, направленных на оптимизацию очистных процессов и снижение капитальных и эксплуатационных затрат.
Увеличение массы активного ила, участвующего в процессе очистки. Повышение концентрации активного ила в аэротенках является основным из возможных путей интенсификации их работы. Считается, что с повышением дозы активного ила в зоне аэрации с 1—2 до 25 г/л происходит пропорциональный рост окислительной мощности аэротенков с 0,5—1 до 12 кг БПКполн/(м3 * сут). Однако повышение концентрации активного ила в аэротенках увеличивает вынос его из вторичных отстойников, что связано с ухудшением гравитационного разделения иловых смесей по мере повышения их концентрации. Одновременно возникает опасность длительного пребывания активного ила в анаэробных условиях во вторичных отстойниках, что может вызвать снижение активности ила, а в некоторых случаях даже его загнивание [22].
Для работающих аэротенков существует предельная концентрация активного ила в иловой смеси, поступающей во вторичные отстойники, при которой обеспечивается нормальная работа последних. Эта предельная концентрация для различных очистных сооружений может быть разной, зависящей от многих факторов. Увеличивая до возможного предела концентрацию активного ила в аэротенках, можно несколько увеличить их производительность и повысить качество очистки сточных вод. При этом нужно учитывать, что положительный эффект может быть достигнут только при полном обеспечении биохимического процесса кислородом.
Известно, что масса активного ила, участвующего в процессе биологической очистки, может быть увеличена за счет применения отдельной регенерации активного ила. В таком случае в регенераторах может поддерживаться высокая доза ила (до 7—8 г/л), а в аэротенках устанавливается оптимальная доза (обычно 1,5—2 г/л), обеспечивающая нормальную работу вторичных отстойников.
При наличии регенераторов важно поддерживать в них возможно большую концентрацию активного ила, что может быть достигнуто увеличением продолжительности уплотнения активного ила в осадочной части вторичных отстойников, то есть путем уменьшения расхода рециркулирующего ила. Однако, как уже отмечалось, это может иметь отрицательные последствия для работы вторичных отстойников и самих аэротенков.
Таким образом, с одной стороны, уменьшив расход рециркуляционного ила, можно существенно увеличить концентрацию и абсолютную массу активного ила в peгeнepаторах и тем самым увеличить окислительную мощность всей системы аэрационных сооружений, но, с другой стороны, уменьшение рециркуляционного расхода может вести к ухудшению окислительных и седиментационных свойств ила, к созданию менее благоприятных условий обеспечения микроорганизмов кислородом при возрастании концентрациях ила в регенераторах [12].
Учитывая эти противоположные тенденции, нужно полагать, что для каждого конкретного случая существует оптимальный расход рециркуляционного ила, обеспечивающий максимальную производительность аэротенков с предельной регенерацией активного ила. Установить этот оптимальный расход можно путем плавного изменения расхода рециркуляционного ила при непрерывном контроле таких показателей процесса очистки, как концентрация взвешенных веществ в воде на выходе из вторичных отстойников, БПК сточных вод до- и после очистки в аэротенке, дозы активного ила и концентрации растворенного кислорода в регенераторе и собственно аэротенке, иловый индекс.
Как отмечалось ранее, работа вторичных отстойников и вместе с этим аэротенков ухудшается при вспухании активного ила. Универсального способа борьбы с вспуханием ила не существует, что связано, по–видимому, с большим разнообразием причин этого явления, поэтому в каждом конкретном случае очень важно выявить и устранить эти причины. Обычно седиментационные свойства активного ила существенно улучшаются вследствие осуществления мер, обеспечивающих нормальный кислородный режим в аэротенках и оптимальные нагрузки на активный ил, устранение дефицита биогенных элементов в очищаемых сточных водах, усреднение сточных вод, поддержание оптимальных значений рН.
















