169254 (595731), страница 4
Текст из файла (страница 4)
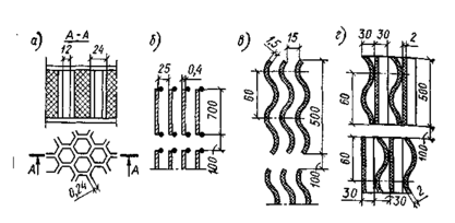
Рис. 6. Пленочные оросители из пластмасс
а — сотоблочный; б — из перфорированного листа; в — из гофрированного листа; г — из волнистого листа
Рис. 7. Капельно-пленочный ороситель из деревянных брусков
Пленочный ороситель применяют для устойчивого и глубокого охлаждения воды, а также в условиях жаркого климата с расчетной температурой воздуха по влажному термометру выше 21°С. Его использование позволяет уменьшить площадь градирни на 30-40 % по сравнению с капельным оросителем той же производительности что является важным преимуществом при строительстве градирен на застроенной территории.
Выбор типа оросителя зависит также от химико-физического состава охлаждаемой воды. Наличие в воде жиров, смол нефтепродуктов, а также взвешенных веществ препятствует применению пленочных оросителей, так как может происходить засорение пространства между стоящими рядом щитами. В этом случае наблюдается плохая смачиваемость щитов и происходит ухудшение охлаждения воды. В таких условиях применяются капельные оросители или они не применяются вообще.
Плотность орошения для капельных оросителей башенных градирен обычно принимается равной не менее 0,8 кг/(м2с), для пленочных— 1,4 кг/(м2с). Для вентиляторных градирен плотность орошения ориентировочно может быть принята: при пленочном оросителе 2,2— 3,3 кг/(м2с), капельном оросителе 1,7—2,2 кг/( м2с) и брызгальном 1,4—1,7 кг/( м2с) [4].
1.6.4. Водоуловительные установки
Вынос капель из градирен вызывает потери воды в системах водоснабжения промышленных предприятий, На некоторых предприятиях вынос недопустим по санитарным соображениям и для охраны окружающей среды.
Учитывая, что размеры, мощность и число градирен на промышленных площадках непрерывно возрастают, количество уносимой из них воды весьма велико. С целью уменьшения ее выноса над водораспределителями градирен устанавливают водоуловители, что позволяет снизить вынос воды из градирни до 0,05—0,2 % расхода оборотной воды.
Из применяемых водоуловителей наиболее распространены водоуловители, выполняемые из двух рядов наклонных досок (рис. 8, а) и из волнистых асбоцементных листов (рис. 8, б).
Установка водоуловителя в некоторой степени увеличивает аэродинамическое сопротивление градирен, которое зависит от ряда факторов: степени заполнения живого сечения водоуловителя лопатками, наклона, формы, их взаимного расположения, материала.
Рис. 8. Типы водоуловителей для градирен
Рис. 9 Схемы расположения водоуловителей в градирнях (стрелками указано направление наклона лопаток)
Наличие водоуловителя в градирне приводит к неравномерности распределения потока воздуха перед вентилятором, что может привести к снижению КПД вентиляторной установки. На рис. 9 приведены рекомендуемые схемы расположения водоуловителей, позволяющие выравнивать поток воздуха.
Применение водоуловителей из волнистого полиэтилена позволяет исключить недостатки рассмотренных конструкций. Их аэродинамическое сопротивление ниже сопротивления деревянных и асбестоцементных водоуловителей [4].
1.6.5. Вентиляторные градирни
Вентиляторные градирни применяют в системах оборотного водоснабжения, требующих устойчивого и глубокого охлаждения воды, при необходимости маневренного регулирования температуры охлажденной воды, автоматизации для поддержания заданной температуры охлажденной воды или охлаждаемого продукта, а также при необходимости сокращения объемов строительных работ.
Сооружение вентиляторных градирен дешевле башенных на 50—80% и брызгальных бассейнов на 30—50%. В сравнении с башенными градирнями они работают при более низких напорах воды, однако для привода вентиляторов необходим значительный расход электроэнергии, а сами вентиляторы и их приводы нуждаются в постоянном уходе и ремонте.
По способу подачи воздуха в ороситель вентиляторные градирни бывают двух типов: нагнетательные и отсасывающие. При верхнем расположении вентиляторы отсасывают воздух из градирни, при нижнем - нагнетают. Для градирен используются специальные осевые отсасывающие или нагнетательные вентиляторы. Преимущественное распространение получили градирни с отсасывающими вентиляторами.
При отсасывающих вентиляторах обеспечивается более равномерное распределение воздуха по поперечному сечению в основании градирни, чем при нагнетательных, происходит меньший подсос влажного теплого воздуха! попадающего в градирню через входные окна.
При нагнетательных вентиляторах воздух из градирни выходит со скоростью в 5—6 раз меньшей, чем при отсасывающих вентиляторах; даже слабый ветер способствует задуванию уходящего влажного теплого воздуха вниз, а также к засасыванию его вентилятором, что приводит к резкому ухудшению охлаждающей способности и требуется увеличение размеров градирен. Исходя из этого нагнетательные вентиляторы применяют для градирен с малой площадью орошения. В холодную погоду лопасти нагнетательного вентилятора могут обмерзать в отсасывающих градирнях возможность обмерзания меньше, так как лопасти постоянно омываются теплым воздухом.
Монтаж нагнетательных вентиляторов более прост. Улучшается доступ к ним, проще соединение с электродвигателем, чем у всасывающих вентиляторов. С несущего каркаса градирни снимается нагрузка, исключается вибрация.
При использовании отсасывающих вентиляторов возможно значительное увеличение диаметра рабочего колеса, что позволяет снизить число вентиляторных установок для больших градирен, повысить их экономичность и снизить шум.
В случае установки осевого нагнетательного вентилятора увеличение диаметра рабочего колеса связано с увеличением высоты подачи воды, а следовательно, и расхода электроэнергии на циркуляционные насосы.
Лопасти вентиляторов изготовляют из алюминиевых сплавов, пластмасс, нержавеющей стали и обыкновенной стали с антикоррозионным покрытием.
Регулировку вентиляторов осуществляют изменением числа оборотов с помощью гидромуфт, электромагнитных муфт или двухскоростных многополюсных электродвигателей, поворотом лопастей.
Для охлаждения оборотной воды в количестве 100-10000 м3/ч применяют многосекционные отсасывающие градирни с секциями площадью до 200 м2 каждая квадратной или прямоугольной формы в плане (рис.10). При охлаждении оборотной воды в количествах более 10000 м3/ч применяются отсасывающие градирни площадью орошения 400 м2 и более, круглые, квадратные, многоугольные в плане одновентиляторные и секционные.
Схема одновентиляторной градирни площадью 400 м2 с вентилятором IВГ-104 приведена на рис. 11. Каркас градирен может быть стальным или железобетонным. Для обшивки градирен применяют дерево, ас-бестоцементные листы, стеклопластик.
В градирнях применяют пленочные, капельно-пленочный, капельный и брызгальный оросители с противоточным движением воздуха в них. В южных районах, где нет опасности обмерзания градирен, возможно применение отсасывающих градирен с поперечным движением воздуха в оросителе.
Рис. 10. Схема вентиляторной градирни с отсасывающим вентилятором
1 — выхлопной патрубок; 2 — вентилятор; 3 — водоуловитель; 4 — водораспределительное устройство (система); 5—оросительное устройство; 6 — воздухонаправляющий козырек; 7 — воздухораспределительное пространство; 8 — воздуховходные окна; 9 — ветровая перегородка; 10 — подводящий водопровод; 11 — отводящий водовод; 12 — водосборный бассейн; 13 — грязевой водовод; 14 — переливной водовод
Суммарное аэродинамическое сопротивление поперечно-точных градирен ниже, чем у противоточных. Капитальные затраты при их строительстве сокращаются.
Рис. 11. Одновентиляторная градирня площадью 400 м2
Область применения вентиляторных отсасывающих градирен определяется следующими параметрами: удельная тепловая нагрузка 90—120 кВт/м2; перепад температуры воды до 25 °С и выше; разность температур охлажденной воды и температуры атмосферного воздуха по смоченному термометру 4—5°С.
Приведенные данные указывают на то, что вентиляторные градирни могут охлаждать воду до более низких температур, чем башенные градирни, и тем более чем брызгальные бассейны и водохранилища-охладители (при равных условиях). Таким образом, для достижения одинакового эффекта охлаждения вентиляторные градирни требуют меньшей площади застройки по сравнению с другими охладителями воды.
Однако вентиляторные градирни имеют один существенный недостаток, который иногда ограничивает их применение (например, в теплоэнергетике); для привода вентиляторов требуется электроэнергия, что приводит к увеличению эксплуатационных расходов.
Для охлаждения воды в количестве от 10 до 800 м3/ч для потребителей, находящихся внутри зданий, применяют нагнетательные вентиляторные градирни с противоточным и поперечным движением воздуха, которые размещают на плоской кровле. Оросители в этих градирнях капельного и пленочного типа выполнены из дерева или пластмассы; каркас градирен — из стали или алюминиевомагниевых сплавов с асбестоцементной облицовкой. Градирня имеет поддон для сбора охлажденной воды слоем 100—150 мм. Необходимый аварийный запас воды хранится в резервуаре, установленном в здании или вне его. Градирни допускают плотность орошения от 1,1 до 3,3 кг/(м2с) в зависимости от требований к температуре охлажденной воды.
При выборе типовых решений градирен пользуются графиками охлаждения, составленными на основе результатов обследований действующих градирен [4].
2. ИССЛЕДОВАТЕЛЬСКАЯ ЧАСТЬ
2.1. Объект исследования
Объектом исследования является водооборотный узел 1838 цеха 46 завода «Мономер» ОАО «Салаватнефтеоргсинтез».
Блок оборотного водоснабжения предназначен для обеспечения оборотной водой производства этилбензол - стирола цеха 46 завода «Мономер».
2.2. Методы исследований
2.2.1. Определение взвешенных веществ в оборотной воде гравиметрическим методом
Сухой остаток характеризует общее содержание растворенных в воде минеральных и частично органических веществ, температура кипения которых превышает 110 оС, нелетучих с водяным паром и не разлагающихся при указанной температуре [12].
Гравиметрический метод определения взвешенных веществ основан на выделении из пробы фильтрованием воды через мембранный фильтр с диаметром пор 0,45 мкм или бумажный фильтр «синяя лента» и взвешивании осадка на фильтре после высушивания его до постоянной массы.
Определение общего содержания примесей (суммы растворенных и взвешенных веществ) осуществляют выпариванием известного объема нефильтрованной анализируемой воды на водяной бане, высушиванием остатка при 105 оС до постоянной массы и взвешиванием.
Ход определения.
Взвешенный бумажный фильтр помещают в воронку, смачивают небольшим количеством дистиллированной воды для хорошего прилипания и фильтруют отмеренный объем тщательно перемешанной анализируемой воды.
По окончании фильтровании дают воде полностью стечь, затем фильтр с осадком трижды промывают дистиллированной водой порциями по 10 см3, осторожно вынимают пинцетом и помещают в тот же бюкс, в котором его взвешивали до фильтрования. Фильтр высушивают 2 часа при 105 оС, охлаждают в эксикаторе и закрыв бюкс крышкой взвешивают. Повторяют процедуру сушки, пока разница между взвешиваниями будет не более 0,5 мг при массе осадка 50 мг и менее 1 мг при массе более 50 мг.
Содержание взвешенных веществ в анализируемой пробе воды
(мг/дм3 ) рассчитывают по формуле:
С
(9)
= М1 – М2 100%V
где М1 и М2 – масса тигля с фильтром с высушиванием осадком после фильтрования и с чистым фильтром, мг;
V – объем пробы, взятой для анализа, мл[12].
2.2.2. Определение общей жесткости в оборотной воде комплексонометрическим методом
Общая жесткость воды обусловлена главным образом присутствием растворенных соединений кальция и магния и варьирует в широких пределах в зависимости от типа пород и почв, слагающих бассейн водосбора, а также от сезона года.
При жесткости до 4 мг-экв/л вода считается не жесткой; 4-8 мг-экв/л- средней жесткости; 8-12 мг-экв/л- жесткой; более 12 мг-экв/л- очень жесткой[8].
















