168811 (595697), страница 7
Текст из файла (страница 7)
3.4 Розрахунок граничнодопустимого викиду
Вміст домішок в повітрі регламентується також гранично допустимим викидом (ГДВ). ГДВ шкідливих речовин встановлюється для кожного джерела забруднення атмосфери таким чином, щоб викиди від даного джерела і від сукупності інших джерел з врахуванням перспективи розвитку промислових об'єктів та розсіювання шкідливих речовин не створювали приземну концентрацію, яка б перевищувала значення ГДК для живих організмів.
ГДВ встановлюють для кожного стаціонарного джерела забруднення атмосфери, для неорганізованих викидів, а також для сукупності дрібних одинарних джерел. Якщо в даний період часу значення ГДВ не можуть бути досягнуті, то по узгодженню з органами держкомприроди встановлюють значення тимчасово погодженого викиду (ТПВ).
Значення ГДВ в г/с встановлюється для умов повного навантаження технологічного та газоочисного обладнання при їх нормальній роботі і не повинні перевищуватись в будь-який 20-ти хвилинний інтервал часу. ГДВ встановлюється для кожного джерела окремо. Поряд з тим встановлюють значення ГДВ для підприємства в цілому. Якщо викиди шкідливих речовин постійні в часі, то значення ГДВ для підприємства знаходять як суму ГДВ від кожного стаціонарного джерела. При непостійних викидах в часі значення ГДВ для підприємства відповідає максимальному викиду при нормальній роботі технологічного та газоочисного обладнання.
Розрахунок ГДВ проводиться по кожній речовині окремо за формулою:
ГДВ =
(44)
якщо f ≥100, ΔТ ≈ 0, то
ГДВ =
(45)
У випадку прямокутного джерела викиду розрахунок ведеться за тими ж формулами, але V1 замінюється на V1l, а Д – на Дl.
Сф' – значення фонової концентрації, яка являє собою фонову концентрацію Сф, з якої виключено вклад даного джерела або даного підприємства:
Сф' = Сф (1–0,4
) при С<2·Сф (46)
Сф' = 0,2Сф при C>Сф (47)
Так як для даного підприємства мають місце теплі викиди, то за формулою (44) встановлюємо ГДВ для кожної забруднюючої речовини. В даному випадку в районі підприємства спостереження за фоновою концентрацією забруднюючих речовин не ведуться, оскільки котельня розташована окремо на відкритій рівній місцевості, – тому при розрахунках величиною Сф' нехтуємо. Дані для розрахунків та їх результати наведені в таблиці 3.6. [5.6]
В даному розділі ми проводили розрахунки по викиду оксиду в атмосферне повітря, яке перевищує ГДК, тому запропоновуємо очисну споруду, яка очистить викиди в атмосферу. Також проводили розрахунок СЗЗ по якому визначили розсіювання шкідливої речовини.
4. Природоохоронні заходи по атмосферному повітрі
З метою зменшення забруднення атмосферного повітря пересувними джерелам викидів в області проводилась операція «Чисте повітря», яка проходила в два етапи навесні і восени. Операція проводилась в містах Рівне, Кузнецовськ, Дубно, 16 райцентрах та населених пунктах області.
В проведенні операції приймали участь представники державної екологічної інспекції держуправління екобезпеки, управління ДАІ УМВС, громадськості. В ході операції перевірено 187 автотранспортних підприємств, автогосподарств, з них тільки на 46 організовані контрольно-регулювальні пости. Підприємствами, на яких відсутні контрольно-регулювальні пости, укладені договори з підприємствами та організаціями, які обладнані необхідними приладами для контролю за токсичністю та димністю відпрацьованих газів автомобілів з обов'язковою видачею талонів токсичності водіям. З 2594 автомобілів, перевірених на випуску з підприємств в 115 були виявлені перевищенні вмісту окису вуглецю у відпрацьованих газах. На шляхах області на токсичність відпрацьованих газів перевірено 4046 автомобілів, з них 3142 індивідуальних транспортних засобів, виявлено 243 випадки перевищення вмісту окису вуглецю у відпрацьованих газах автомобілів. За порушення законодавства про охорону атмосферного повітрі притягнуто до адмінвідповідальності 12 посадових осіб, 37 водіїв державного автотранспорту та 211 індивідуальних власників автомобілів. Накладено 260 штрафів на суму 9248 грн.
При перевірці автопідприємств і автогосподарств виявлені такі недоліки в організації робіт по охороні атмосферного повітря від забруднення викидами автотранспорту:
• недостатня кількість підприємств, на яких організовані контрольно-регулювальні пункти;
• застарілий парк автомобілів, а також відсутність коштів для проведення своєчасного ремонту двигунів та переведення автомобілів на газоподібне паливо;
• незадовільний стан покриття доріг області;
• відсутність на окремих підприємствах приладів контролю токсичності відпрацьованих газів.
Переведення автомобілів на газоподібне паливо проводилось дуже повільними темпами. Рівненською і Дубенською автомобільними газонаповнювачами компресорними станціями Рівненського управління магістральних газопроводів за 1999 р. відпущено 7429441 м3 стиснутого природного газу, який був використаний для заправлення 781 автомобілів. Спільно з управлінням ДАІ УМВС України в Рівненській області розроблений план заходів по запровадженню постійного контролю за вмістом окису вуглецю у відпрацьованих газах автомобілів та якості пального на автозаправних станціях області.
В Рівненській області нараховуються десятки об’єктів, які становлять потенційну екологічну небезпеку. Особливо небезпечними є об’єкти, аварії на яких можуть призводити до утворення зон надзвичайних екологічних ситуацій регіонального і міжрегіонального масштабу, мати катастрофічні наслідки для навколишнього природного середовища, створювати пряму загрозу здоров’ю, а то й життю людей.
Такими об’єктами в області є ВП «Рівненська АЕС», ВАТ «Рівнеазот», полігон твердих побутових відходів в м. Рівне. Вказані об’єкти увійшли до переліку найбільш екологічно небезпечних об’єктів країни. Екологічно небезпечними в межах області вважаються трансєвропейські нафто- та газопроводи, ділянки міжнародних автомобільних і залізничних магістралей, промислові підприємства з рідкими відходами, кар’єри з відкритою розробкою корисних копалин, а також інші промислово-господарські агломерації. До списку екологічних небезпечних об’єктів обласного значення ввійшло 29 підприємств господарювання.
Для розв’язання проблем, пов’язаних з поводженням з відходами необхідно:
підвищення ефективності державного контролю за природоохоронною діяльністю суб’єктів господарювання; забезпечення ефективної взаємодії з правоохоронними органами та іншими контролюючими службами області; забезпечення повного стягнення збитків за порушення екологічного законодавства та штрафних санкцій; впровадження комп’ютерних методів обробки інформації аналітичного забезпечення контрольної діяльності; здійснення заходів в рамках запровадження нової концепції регулювання охорони атмосферного повітря;
вирішення питання фінансування виробництва з переробки фосфогіпсів ВАТ «Рівнеазот»;
забезпечення ремонту і модернізації очисних споруд області;
інтенсифікація сільськогосподарського виробництва;
здійснення комплексу організаційно-технічних заходів в рамках забезпечення функціонування Рівненського державного природного заповідника; створення регіональних ландшафтних парків «Дермансько-Мостівський» в Здолбунівському, «Погориння» в Гощанському та «Демидівський» в Демидівському районах;
посилення контролю за цільовим використанням коштів природоохоронних фондів;
здійснення комплексу заходів по впровадженню регіональної інформаційної системи моніторингу навколишнього природного середовища та раціонального використання природних ресурсів області на базі системи регіонального екологічного моніторингу СЕМ «Полісся»;
забезпечення надійної експлуатації системи радіаційного спостереження та раннього оповіщення про радіаційну аварію «Гамма-1»;
посилення контролю за зберіганням на підприємствах області токсичних промислових відходів та небезпечних речовин;
розвиток науково-дослідних робіт з екологічної тематики;
удосконалення еколого-пропагандистської діяльності.
Крім того піднесенню ефективності управління природоохоронною справою на державному та регіональному рівнях у найближчій перспективі сприятиме:
запровадження екологічного аудиту;
запровадження механізму екологічного страхування юридичних та фізичних осіб на випадок заподіяння ними шкоди навколишньому середовищу, аварій та стихійних лих;
забезпечення чіткого розмежування повноважень органів державної виконавчої влади, місцевого самоврядування та спеціально уповноважених органів в галузі охорони навколишнього природного середовища та ядерної безпеки;
запровадження системи економічного стимулювання ефективної екологічної діяльності на умовах:
встановлення податкових, цінових, кредитних, митних та інших пільг для підприємств та фондів, які виготовляють конкурентоздатну, екологічно чисту, безвідходну продукцію, реалізують природоохоронні, ресурсозберігаючі технології і заходи та надають екологічні послуги;
підвищеного рівня оподаткування екологічно небезпечної продукції та технологій;
запровадження аукціонної системи купівлі-продажу ліцензій на право викидів, скидів забруднюючих речовин;
розроблення і прийняття Кабінетом Міністрів України загальнодержавної, а на її основі – регіональних програм моніторингу навколишнього природного середовища з чітким визначенням конкретних заходів, їх виконавців, термінів виконання, обсягів і джерел фінансування.
Очисною спорудою атмосферного повітря для забруднюючих речовин оксиду азоту та оксиду вуглецю є кільцевий адсорбер.
Фізична основа процесу адсорбції – здатність деяких твердих тіл з ультрамікроскопічною структурою (адсорбентів) вибірково відділяти та концентрувати на своїй поверхні окремі компоненти газової, пароповітряної суміші або розчину. В пористих тілах з капілярною структурою поверхневе поглинання доповнюється капілярною конденсацією. Основний параметр, який характеризує процес адсорбції – адсорбційна здатність (ємність) адсорбенту стосовно компоненту, який вилучається. Адсорбційна ємність визначається відношенням ваги речовини, яка поглинута адсорбентом, до ваги адсорбенту (або площі його поверхні). Вона залежить від концентрації адсорбованої речовини біля поверхні адсорбенту, тиску, загальної площі поверхні адсорбенту, фізичних, хімічних та електричних властивостей адсорбованої речовини та адсорбенту, температурних умов та наявності домішок. При рівних інших факторах, зі збільшенням температури поглинаюча здатність адсорбентів зменшується і, після досягнення певної (критичної) температури, процес переходить в десорбцію. Адсорбована речовина переходить в газову фазу. На цьому базується процес регенерації адсорбенту. Зниження тиску сприяє зменшенню адсорбційної ємності.
Процеси адсорбції здійснюють в адсорберах, які становлять вертикальні, горизонтальні або кільцеві ємності, що заповнені пористим або кусковим адсорбентом. Очищувальний газ фільтрується через адсорбент, на поверхні та в порах якого накопичується вловлювана речовина (адсорбат).
Як адсорбент найширше використовуються активоване вугілля і цеоліти. Необхідну кількість адсорбенту вираховують за формулою:
Vа х С х t х 103
М а = – , де
апог
Vа – об'ємні витрати газу, що очищаються;
С – концентрація домішків, що видаляються;
t – час проходження адсорбції;
апог – поглинювальна здатність адсорбенту.
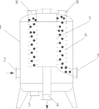
На рис. показаний розріз кільцевого адсорбера. Конструкція адсорбера вмонтована в металевий корпус (1). Газ, який підлягає очистці, потрапляє через штуцер (2) у зовнішню частину адсорбера, проходить через кільцевий шар адсорбенту, який знаходиться між внутрішньою (7) та зовнішньою (6) циліндричними решітками, та виводиться через штуцер (4). В стадії десорбції дссорбент (водяна пара) подається через штуцер (4), а парогазова суміш відводиться через штуцер (3). Завантаження адсорбенту проводять через два люки (8), а його відвантаження – через третій люк (5).
Рис. 4.1. Кільцевий адсорбер
Вибір конструкції адсорбера залежить від властивостей адсорбенту, схеми його регенерації (з видаленням з адсорбера або без нього), необхідної продуктивності по газу та необхідного ступеня очистки газів.
Розрізняють адсорбери періодичної та безперервної дії. В першому випадку адсорбент нерухомий і повітря фільтрується через його шар. Процес продовжується до повного насичення адсорбенту, після чого адсорбер відключають від очищувального газу та проводять регенерацію адсорбенту. В другому випадку адсорбент під дією своєї ваги або потоку очищувального повітря безперервно проходить через адсорбер та потрапляє на регенерацію. Віддають перевагу установкам безперервної дії, що зумовлено такими факторами:
-
вони мають менші габаритні розміри в порівнянні з установками періодичної дії;
-
менший гідравлічний опір;
-
більша продуктивність по газу.
Наведений аналіз лише найважливіших проблем функціонування різних видів транспорту, які чекають свого невідкладного розв'язання, свідчить про їх масштабність, складність і визначальність для загального розвитку економіки України, їх реалізація потребує великих інвестицій і непростих організаційних рішень. Об'єктивно склалося так, що нині треба вирішувати проблеми, які докорінно мають впливати на організаційну, технічну, технологічну сторону політики в галузі транспортних комунікацій.
В Україні є необхідні стартові умови для формування сучасної системи транспортних комунікацій, яка відповідала б європейським стандартам. До них насамперед належать: необхідність в усіх видах транспорту докорінного технічного переоснащення галузі і суттєвих організаційних змін; достатня ресурсна база і рівень розвитку техніки і технологій; наявність кваліфікованого трудового потенціалу і передових науково-технічних розробок; вигідні природно-кліматичні й географічні характеристики території; наявність конкурентоспроможних науково-технічних проектів, які пройшли відповідну експертизу і готові до реалізації; заінтересованість зарубіжних інвесторів у розміщенні капіталів в Україні; стійка тенденція до визнання України світовим співтовариством як європейської держави, з якою бажано мати стабільні ділові відносини на широкій і довготривалій основі і яка в перспективі справлятиме серйозний вплив на ключові проблеми європейської політики; наявність затвердженої концепції створення і функціонування в Україні національної мережі міжнародних транспортних коридорів. [5,6].
5. Охорона праці
5.1 Основне законодавство з охорони праці
Основними законами та підзаконними актами, які регулюють правові відносини у сфері охорони праці в умовах виробництва і загалом в суспільстві, є:
-
Конституція України;
-
Кодекс законів про працю (КЗпП);
-
Закони: «Про охорону праці», «Про охорону здоров'я», «Про пожежну безпеку», «Про використання ядерної енергії та радіаційний захист», «Про забезпечення санітарного та епідемічного благополуччя населення».
Коло питань щодо охорони праці розглядається в Цивільному, Кримінальному та Адміністративному кодексах України, в указах Верховної Ради, постановах Кабміну, постановах Президента. Правове поле в Україні ґрунтується на засадах, відповідно до яких нікого не можна примусити робити те, що не передбачено в законі.
Основний Закон України гарантує право на працю, що дає можливість людині заробляти собі на життя працею, яку вона вільно або на яку вільно погоджуються (ст. 43). Держава створює умови для повного здійснення громадянами права на працю, гарантує рівні можливості у виборі професії та роду трудової діяльності, реалізує програми професійного технічного навчання, підготовки та перепідготовки кадрів відповідно до суспільних потреб.
Кожній людині Конституція гарантує право на належні, безпечні й здорові умови праці, на заробітну плату, не нижчу від визначеної законом. Громадянам гарантується захист від незаконного звільнення.
Відповідно до статті 45 Основного Закону кожен, хто працює, має право на відпочинок. Це право забезпечується наданням днів щотижневого відпочинку, а також оплачуваної щорічної відпустки, встановленням скороченого робочою дня для окремих професій і виробництв, скороченого часу роботи в нічні години. Максимальна тривалість робочого часу, мінімальна тривалість відпочинку та мінімальна сума оплачуваної щорічної відпустки, вихідні та святкові дні, а також інші умови здійснення цього права визначає закон.
Громадяни України мають право на соціальний захист: забезпечення пенсіями в разі часткової або тимчасової втрати працездатності, втрати годувальника, безробіття з незалежних від них обставин, а також у старості та в інших випадках передбачених законом (ст. 46).
Це право гарантується загальнообов'язковим державним соціальним страхуванням.
Охорона здоров'я забезпечується державним фінансуванням відповідних соціально-економічних, медико-санітарних та оздоровчих і профілактичних програм. Охорона здоров'я забезпечується розвитком і вдосконаленням техніки безпеки й виробничої санітарії; проведенням профілактичних заходів та розгортанням наукових досліджень по запобіганню та зниженню захворюваності.
Основні питання трудового законодавства та охорони праці розглядаються в Кодексі законів про працю (КЗпП), який регулює трудові відносини всіх працівників, сприяє зростанню продуктивності праці, поліпшенню якості роботи, підвищенню ефективності суспільного виробництва, що має за мету поліпшення матеріального й культурного рівня життя людини.
У КЗпП зафіксовано питання трудового законодавства: право на працю, основні трудові права та обов'язки працівників, умови договорів про працю; тривалість робочого часу та його скорочення; робота в передсвяткові та вихідні дні; тривалість роботи в нічний неповний робочий час та обмеження понадурочних робіт та ін.
У Кодексі законів про працю в окремих статтях розглянуто шляхи створення здорових і безпечних умов праці, дотримання вимог охорони праці під час будівництва й експлуатації виробничих будівель, споруд та обладнання; заборона введення в експлуатацію підприємств, передавання в серійне виробництво зразків нових машин та іншого обладнання, які не відповідають вимогам охорони праці; обов'язки адміністрації щодо поліпшення та оздоровлення умов праці, розслідування та обліку нещасних випадків; контроль за дотриманням вимог інструкцій з охорони праці; медичні огляди; переведення на легшу роботу; матеріальна відповідальність за збитки заподіяні робітниками і службовцям ушкодженням їх здоров’я та ін.
У КЗпП значну увагу приділено охороні праці жінок та молоді, встановлено пільги робітникам і службовцям, що поєднують роботу з навчанням. Розглянуто права професійних спілок, функції органів державного соціального страхування, нагляду й контролю за дотриманням законодавства про працю, відповідальність за порушення законодавства про працю та інші питання.
Закон гарантує права громадян на своєчасну й достовірну інформацію про стан їхнього здоров'я, а також про наявні та можливі чинники ризику для здоров'я та їх ступінь. Гарантується право вільного доступу до інформації про стан довкілля, про якість харчових продуктів і предметів побуту, а також право на її поширення. Таку інформацію ніхто не може засекретити.
Згідно із Законом підприємства зобов'язані розробляти та здійснювати санітарні й протиепідеміологічні заходи та контроль за виконанням вимог санітарних норм щодо безпеки використання шкідливих для здоров'я речовин і матеріалів, а також за скиданням відходів, викидами в навколишнє середовище та готовою продукцією.
Державній реєстрації та гігієнічній регламентації підлягають будь-які небезпечні чинники фізичної, хімічної, біологічної природи, наявні в середовищі життя й діяльності людини.
У вказаному законодавчому акті у вигляді окремих статей зафіксовано вимоги до проектування, будівництва, розробки, виготовлення й використання нових засобів виробництва та технологій (ст. 15); вимоги до водопостачання й місць водовикористання (ст. 18); вимоги до атмосферного повітря та необхідність вживання заходів щодо запобігання та усунення причин забруднення повітря (ст. 19); вимоги до жилих та виробничих приміщень, територій, засобів виробництва і технологій (ст. 22),
Окремі статті розглядають питання радіаційної безпеки; захист
населення від шкідливого впливу випромінювання та інших фізичних чинників; застосування та знешкодження хімічних речовин і матеріалів, біологічних засобів.
У четвертому розділі Закону визначено основні напрями діяльності Державної санітарно-епідеміологічної служби та її управління (ст..31, 32, 33), її завдання; види відповідальності та фінансові санкції за порушення санітарного законодавства (ст. 45, 46, 48).
Чинне законодавство про охорону праці визначає шляхи реалізації державної політики у сфері захисту людини, містить конкретні вимоги стосовно організації умов праці на виробництві, які мають бути пріоритетними та спрямованими на збереження життя й здоров’я людини.
Відповідно до Конституції Верховна Рада визначає державну політику в галузі охорони праці. Вона спрямована на створення належних, безпечних і здорових, запобігання нещасним випадкам та професійним захворюванням.
Одним з принципів державної політики у сфері охорони праці є адаптація трудових процесів до можливостей працівника з урахуванням
його здоров'я та психологічного стану.
Економічні методи управління передбачають створення фондів охорони праці, які повинні використовуватися тільки на виконання заходів з охорони праці.
Цей принцип передбачає сплату штрафу підприємствами за
порушення нормативних актів у галузі охорони праці. Якщо власник спрямовує кошти на заходи з охорони праці, тоді держава встановлює йому пільгове оподаткування, а також виключає із списку оподаткованих суму на відшкодування шкоди га одноразової допомоги, які сплачуються потерпілому.
Під час прийняття рішень з охорони праці на місцевому та державному рівнях забезпечується координація діяльності всіх гілок влади, що розв'язують проблеми охорони здоров'я, гігієни та безпеки праці. Діяльність державних органів та окремих організацій при вирішенні питань безпеки координує Державний комітет з нагляду за охороною праці.
Для реалізації принципів державної політики в галузі охорони праці при Кабінеті Міністрів створено Національну раду з питань безпечної життєдіяльності, Фонд соціального страхування від нещасних випадків та інші структури.
Проектування виробничих об'єктів, розробку нових технологій, засобів виробництва, засобів колективного та індивідуального захисту працюючих слід проводити з урахуванням вимог охорони праці.
Жодне підприємство, цех, дільниця, виробництво не можуть бути прийняті і введені в експлуатацію, якщо на них не забезпечені здорові та безпечні умови праці.
Забороняється будівництво або реконструкція виробничих об’єктів і впровадження нових для даного підприємства технологій без попередньої експертизи робочого проекту на відповідність нормативно-правовим актам з охорони праці. Експертиза проектної документації на її відповідність нормативним актам про охорону праці проводиться згідно з постановою Кабінету Міністрів №431 від 23 червня 1994 року «Про порядок проведення державної експертизи проектної документації на будівництво та реконструкцію виробничих об’єктів і виготовлення засобів виробництва на відповідність їх нормативним актам про охорону праці».
Експертизу проектів, реєстрацію, огляди, випробування виробничих об’єктів прийняття їх в експлуатацію незалежно від форм власності здійснюють органи Державного комітету по нагляду за охорону праці. Введення в експлуатацію вказаних об'єктів без дозволу цього комітету забороняється.
Протягом усього періоду будівництва чи реконструкції, а також під час введення об'єкта завершеного будівництва в експлуатацію проектні організації зобов'язані здійснювати авторський нагляд. Авторський нагляд здійснюється відповідно до договору, який укладається між проектною організацією і власником.
Машини, механізми, устаткування, транспорті засоби й технологічні процеси, що впроваджуються у виробництво, повинні мати відповідні сертифікати, що засвідчують їхню безпечність для життя й здоров’я людей у процесі їх використання. Перелік продукції, яка підлягає обов’язковій сертифікації, затверджує Держстандарт.
Згідно з чинним законодавством роботодавець повинен отримати дозвіл на початок та перелік видів робіт на підприємстві, діяльність якого пов’язана з використанням процесів та устаткування підвищеної небезпеки. Перелік видів робіт, об'єктів, машин, механізмів, устаткування підвищеної небезпеки визначає Кабінет Міністрів.
Дозвіл на початок роботи підприємства видає Державний комітет з нагляду за охороною праці в порядку, встановленому Кабінетом Міністрів у постанові від 6 жовтня 1993 року №831.
Дозвіл на початок роботи підприємства є офіційним документом, який дозволяє експлуатацію підприємства в робочому режимі.
Забороняється застосовувати у виробництві шкідливі речовини в разі відсутності їх гігієнічної регламентації та державної реєстрації, на які не розроблені гранично допустимі нормативи і які не пройшли токсикологічну експертизу.
Токсикологічна експертиза є основним документом, що підтверджує безпеку продукції для організму людини. Вона проводиться згідно з постановою головного державного санітарного лікаря про «Токсиколого-гігієнічну оцінку хімічних речовин» від 19 жовтня 1992 року №4.
У разі надходження на підприємство нових небезпечних речовин власник зобов'язаний повідомити про це органи Державного нагляду за охороною праці, розробити та узгодити з ними відповідні заходи щодо захисту здоров'я і життя працівників.
Експлуатація або використання придбаних за кордоном технологій, машин, механізмів, хімічних речовин та їх сполук допускається лише за умови проведення експертизи на відповідність їх нормативно-правовим актам з охорони праці, що є чинними на території України.
Охорону здоров'я працюючих жінок гарантує державне законодавство, яке передбачає створення сприятливих умов для поєднання їх материнських функцій з активною трудовою та суспільною діяльністю.
У реальних умовах виробництва не завжди вдається створити оптимальні умови праці для жіночого організму. Нині на підприємстві спостерігається дія несприятливих виробничих чинників. Наявність таких умов у деяких випадках може спричинити до виникнення в працівниць суто жіночих хвороб, які впливають на їх репродуктивну функцію.
В умовах механізації важких категорій робіт праця стає легшою, але збільшується нервова напруженість або виникає монотонність, що також несприятливо впливає на здоров'я жінок.
В умовах рівного професійного навантаження частота виникнення вібраційної і шумової патології у жінок є значно вищою, ніж у чоловіків.
Шкіра жінок більш чутлива до дії деяких хімічних речовин. За однакових умов в однакових за віком і стажем трудових групах професійні дерматити в жінок проявляються раніше і частіше, ніж у чоловіків. Промислові отрути в ряді випадків є причиною частих захворювань у жінок.
Враховуючи фізіологічні особливості жіночого організму, їх підвищену чутливість до деяких шкідливих фізичних і хімічних чинників виробничого середовища, а також додаткові навантаження охорона праці жінок вимагає певних спеціальних заходів.
Система чинних законодавчих актів охороняє працю й здоров'я жінок та забезпечує їм всі умови для плідного виробничого й суспільного життя.
З метою поліпшення умов праці жінок та охорони їх здоров’я затверджено список виробництв, на яких забороняється використання праці жінок. Жінки не допускаються до професій зварювальника ручної зварки, що часто працює в цистернах, котлах, а також на спорудах висотою понад 10 м, землекопа, машиніста екскаваторів, автогрейдерів електростанцій, бульдозерів, автогідромоніторів, до верхолазних робіт й т. ін.
Жінки можуть працювати трактористами машиністами, водіями легкових та вантажних автомобілів вантажопідйомністю до 2,5 т, електромонтерами, ремонтниками, будівельниками та робітниками інших професій, для яких дозволено застосовувати жіночу працю.
Державні органи розробили та впровадили перелік робіт, машин і механізмів, на яких рекомендовано застосовувати переважно жіночу працю.
Жінки краще від чоловіків можуть виконувати роботи, пов'язані з точною координацією рук, дрібними рухами пальців, які часто повторюються.
З метою подальшого поліпшення умов праці та охорони здоров'я жінок встановлено обмежені розміри вантажів при їх підніманні та перенесенні.
Жінки до вантажно-розвантажувальних робіт допускаються лише в таких випадках: навантаження й розвантаження навалочних вантажів (пісок, глина), вантажів малої маси, поштучних вантажів (цегла) та ін.
Закон «Про охорону праці» регламентує для працюючих жінок на підприємстві ВАТ «РівнеАзот» сприятливий режим праці й відпочинку, обмеження праці жінок у нічний час; використання праці жінок на роботах з неповним робочим днем або з неповним робочим тижнем.
Жінкам надаються відпустки по вагітності і родах тривалістю сімдесят календарних днів до пологів і п'ятдесят шість після пологів. За бажанням жінкам надаються частково оплачувані відпустки по догляду за дитиною до досягнення нею трирічного віку з виплатою за цей період допомоги по державному соціальному страхуванню. Крім цього, можуть надаватися додаткові відпустки без збереження заробітної плати по догляду за дитиною до досягнення нею шестирічного віку. Час вказаних відпусток зараховується жінкам як у загальний, так і в безперервний стаж роботи.
Крім вказаного вище, охорона праці жінок здійснюється шляхом розробки різних заходів: санітарно-гігієнічних, санітарно-технічних, лікувально-профілактичних та інших, спрямованих на забезпечення безпеки організму жінки та її материнських функцій. Поряд із цими заходами відповідне значення має дотримання роботодавцем гігієнічних нормативів щодо стану виробничого середовища й вимог щодо організації технологічних процесів, раціональної організації робочих місць, використання спецодягу, ЗІЗ, обладнання кімнат відпочинку, гігієни та ін.
Правовою основою охорони праці неповнолітніх є відповідні статті КЗпП, Закон «Про охорону праці», Список виробництв, професій, спеціальностей і робіт, на яких забороняється використання праці осіб, що не досягли 18-річного віку, перелік медичних протипоказань до роботи в різних галузях, затверджений МОЗ та ін.
Особливі права встановлено для неповнолітніх, які навчаються спеціальностям, що передбачають виконання робіт на висоті. Учні віком до 18 років, але не молодші 17 років, допускаються до верхолазних робіт не більше ніж на 3 години в день для проходження виробничої практики під постійним наглядом працівника, призначеного наказом по організації для керівництва практикою.
Чинне законодавство встановлює пільгові умови та обмеження, спрямовані на поліпшення умов й охорону праці підлітків.
На підприємстві ВАТ «РівнеАзот» осіб молодше 18 років приймають на роботу лише після попереднього медичного огляду з подальшим щорічним проходженням такого медичного огляду до досягнення 21 року.
Відповідальність за проходження неповнолітніми обов'язкових медичних оглядів покладено на власників підприємства.
Неповнолітні приймаються на роботу, як правило, після досягнення ними 16 років. КЗпП (ст. 188) забороняє приймати на роботу, осіб молодших 16 років. Однак, у виняткових випадках за згодою одного з батьків та при наявності медичного дозволу й певного навчання з охорони праці можуть прийматися на роботу особи, яким виповнилося п'ятнадцять років.
На підприємстві ведеться спеціальний облік працівників, які не досягли вісімнадцяти років, із зазначенням дати їх народження.
Забороняється використовувати працю осіб молодше 18 років на важких роботах та на роботах зі шкідливими або небезпечними умовами праці, на підземних роботах, залучати їх до нічних та понадурочних робіт, до робіт у вихідні дні.
Обмежується використання праці підлітків на роботах по перенесенню вантажів, маса яких перевищує встановлені для підлітків граничні норми. Також заборонено призначати неповнолітніх на роботи, які полягають виключно в перенесенні важких речей, якщо їх вага перевищує 4,1 кг. Перенесення й пересування важких речей неповнолітніми чоловічої і жіночої статі в межах зазначених норм допускається лише в тих випадках, коли це пов'язано з виконанням ними постійної роботи й займає не більш як 1/3 їх робочого часу. Неповнолітні віком до 16 років взагалі не допускаються до робіт попер несенню й пересуванню вантажів.
Заробітна плата неповнолітнім при скороченій тривалості щоденної роботи виплачується в такому ж розмірі, як працівникам відповідних категорій при повній тривалості щоденної роботи. Щорічні відпустки працівникам молодше 18 років надаються тривалістю в календарний місяць у літній період або, за їх бажанням, у будь-яку іншу пору року.
Для неповнолітніх встановлено додаткові гарантії від незаконного звільнення з роботи. Звільнення з ініціативи власника допускається лише у виключних випадках за згодою комісії у справах неповнолітніх.
5.2 Техніка безпеки технологічних процесів, устаткування на підприємстві ВАТ «Рівне Азот»
Важлива роль у створенні безпечних умов праці належить новій техніці і технології.
Нині більшість робіт в промисловій галузі проводиться з широким використанням різноманітного технологічного обладнання. Безпечна праця з використанням технологічного обладнання можлива лише тоді, коли його конструкція відповідає вимогам техніки безпеки, виробничої санітарії та заходам протипожежної безпеки.
Технологічне обладнання, що використовується в різних галузях промисловості, надзвичайно різноманітне за принципом дії, конструктивними особливостями, типами та розмірами. Однак незважаючи на це існують деякі загальні вимоги, дотримання яких при конструюванні обладнання дозволяє забезпечувати вимоги безпеки в процесі його експлуатації.
У технічних завданнях, що складаються проектними організаціями на розробку нового технологічного обладнання, мають передбачатись вимоги щодо запобігання або зменшення на робочих місцях шуму, вібрації, пилу, тепловиділень та іншого шкідливою впливу до рівня, допустимого нормативними актами.
При розробці і впровадженні у виробництво нових машин, механізмів і особливо пристосувань, необхідно мати на увазі той факт, що вони сприяють зростанню параметрів роботи обладнання (швидкості руху, температури, тиску, темпу праці та ін.), що в свою чергу може призвести до появи нових виробничих небезпек або шкідливостей. Тому, ще на етапі конструювання, дуже важливим є своєчасне виявлення можливих небезпек і планування необхідних заходів по запобіганню випадкам травматизму або захворювань працюючих.
До загальних методів належать механізація і автоматизація процесів, дистанційне управління і спостереження, блокування і сигналізація, надійність і міцність технологічного обладнання. Призначення часткових методів полягає у захисті обладнання від певної небезпеки. Такі методи інженерної безпеки досить різноманітні: це може бути герметизація, екранування, теплоізоляція, звукоізоляція, амортизація, огородження, заземлення та ін.
Безпека технологічного обладнання забезпечується правильним вибором принципів дії, конструктивних систем, матеріалів, робочих процесів та ін.
Крім цього, безпека праці забезпечується:
-
використанням у конструкціях технологічного обладнання спеціальних захисних засобів;
-
дотриманням ергономічних вимог;
-
включенням вимог безпеки в технічну документацію з монтажу, експлуатації, ремонту машин та обладнання.
У процесі експлуатації технологічне обладнання не повинно забруднювати навколишнє середовище шкідливими речовинами вище за встановлені норми і являти собою небезпеку з точки зору вибуху і пожежі.
Матеріали, що використовуються в конструкціях технологічного обладнання не повинні бути небезпечними або шкідливими, а ті елементи, з якими безпосередньо контактує людина, не можуть мати гострих країв, кутів, нерівних, гарячих чи переохолоджених поверхонь.
Рухомі частини технологічного обладнання – маховики, шестерні, кінці валів, а також пасові та ланцюгові передачі, що являють небезпеку для людини, повинні бути огороджені, або мати інші засоби захисту тих частин, огородження яких не допускається їх функціональним призначенням.
Огородженню підлягають також струмоведучі деталі електрообладнання, зони високих температур і шкідливих випромінювань, робочі місця, що розташовані на висоті.
Огородження або огороджувальні засоби захисту запобігають проникненню людини або частини її тіла в небезпечну зону.
Огороджувальні пристрої не повинні погіршувати спостереження за роботою технологічного обладнання, вони мають максимально захищати від проникнення небезпечних або шкідливих чинників у виробниче середовище.
Розрізняють власне огородження, перила, кожухи, екрани щити та ширми.
Для безпечного підходу до механізмів під час монтажу, демонтажу та експлуатації технологічного обладнання на металоконструкціях влаштовують площадки, галереї та драбини.
Огородження повинно мати гладку поверхню, бути пофарбовано в один колір із технологічним обладнанням. Внутрішня поверхня огородження і нанесення на нього знаків безпеки виконується відповідно до вимог стандартів.
Ефективним засобом зниження травматизму на тяжких і малопродуктивних роботах є механізація виробничих процесів. У цьому напрямку на підприємстві ВАТ «РівнеАзот» проведена велика робота по створенню закінчених систем машин та технологічного обладнання, що дозволяє механізувати та автоматизувати технологічні цикли – від надходження сировини до відправки кінцевої продукції.
Автоматизація і механізація дозволяє у складних умовах в значній мірі знизити рівень виробничого травматизму і професійних захворювань.
При впровадженні механізації відбувається полегшення праці тих людей, яких замінили машини. Однак при цьому є відповідний нагляд і контроль, щоб вони не могли стати причиною нещасних випадків.
Комплексна автоматизація передбачає повну ізоляцію людини від будь-яких операцій виробничого циклу. Робітник може знаходитись на безпечній відстані від агрегатів. Автоматизація лишає йому контроль за роботою устаткування, машин і механізмів, поєднаних в єдину технологічну лінію, а також обов'язки по їх налагодженню та регулюванню.
Технологічні процеси при комплексній автоматизації послідовно виконуються на автоматичній лінії без фізичного втручання людини.
Вирішення питань безпеки на механізованих і автоматизованих системах набуває особливої актуальності при їх налагоджуванні та ремонтуванні. У цьому плані вирішується питання щодо повної механізації ремонтно-монтажних робіт.
Автоматичні лінії, які нині працюють на виробництві, самостійно виконують всі задані операції у визначеній послідовності і потребують висококваліфікованого персоналу тільки для налагодження та контролювання. На таких лініях відновлення порушеної роботи технологічного обладнання, режиму технологічного процесу і підтримування визначених параметрів здійснюється відповідними автоматичними пристроями. Таке автоматичне регулювання дає можливість виконувати роботу без втручання людини в технологічний цикл.
Найбільш розповсюджене технологічне обладнання може бути, джерелом шуму, вібрації, а в деяких випадках також виділення шкідливих речовин у виробниче середовище. Крім цього основною потенційною небезпекою при обслуговуванні механічного обладнання може бути отримання механічних травм. Тому при виборі того чи іншого технологічного обладнання і його розташуванні слід враховувати вимоги техніки безпеки.
Правильне розташування технологічного обладнання дозволяє найбільш оптимально організувати робоче місце, забезпечити безпеку праці і зменшити втому працюючих.
Безпечна і безпомилкова робота технологічного обладнання може бути досягнута при оптимальному узгодженні роботи оператора з машиною, а також при антропометричній відповідності параметрів і габаритів обладнання з анатомічними особливостями людини.
При обслуговуванні технологічного обладнання небезпеку становлять всі частини машини, які рухаються, здійснюють поворотно-поступальні рухи важелів – рухомі паси, ріжучі частини машини та ін. Небезпека зростає тоді, коли на деталях, що обертаються, болти, шпонки або нерівності, нарізки та ін. Зона всередині машини в якій рухаються механізми, є небезпечною, бо при потраплянні в неї або стиканні з якоюсь рухомою частиною може статися ушкодження тіла людини.
Небезпечна зона може виникати і поза машиною внаслідок наявності на частинах обладнання, що обертаються, виступаючих елементів, а також відлітання під час роботи стружки або деталей машин через погане їх скріплення або ламання. Крім цього, відповідний простір біля машини також є небезпечною зоною. При обертових частин машини може створюватися зона захоплювання, в яку можуть втягуватися частини тіла і травмуватися через це. Навіть вал, який рухається повільно, може захватати кінці одягу або волосся, втягнути руку, плече, голову в небезпечну зону.
Тому при розташуванні технологічного обладнання необхідно враховувати: габаритні розміри і конструкцію машин; зону технічного обслуговування, ремонту та розміщення сировини; проходи, розриви між сусідніми машинами, між машинами і стінами; евакуаційні проходи для евакуації людей, центральний і пристінний, зі смугою транспорту або без неї і т. ін.
Обладнання, яке створює значну вібрацію, не встановлюють на міжповерхових перекриттях, щоб не виникало додаткового навантаження.
При розташуванні обладнання виходять з розмірів зони технологічного обслуговування і ремонту машин. Зона технологічного обслуговування машин – це робочі проходи між суміжними машинами, які забезпечують безпечне виконання робочих операцій.
Правильне визначення зони технологічного обслуговування кожної машини дає можливість перевести горизонтальне планування всього виробничого приміщення і, перш за все, розташування технологічного обладнання. Це дає можливість здійснити поточність технологічного процесу, раціональну організацію робочих місць, забезпечити високу продуктивність та безпеку праці.
Зона ремонту машини необхідна для виконання ремонтних робіт, а також для демонтажу і монтажу обладнання і зберігання запасних частин, вузлів та ін. Оскільки технологічне обслуговування, профілактичний ремонт і чищення обладнання здійснюються практично в різний час, то на підприємстві ВАТ «РівнеАзот» влаштовано робочу зону і зону ремонту сумісно.
При визначенні ширини проходів в габарити машини включаються огородження, робочі місця, а також місця для інструментів, сировини і готової продукції.
При визначенні ширини робочих проходів визначають мінімальні розриви між сусідніми машинами для вільного руху обслуговуючого персоналу.
Якщо сусідні машини обслуговує один працівник, який знаходиться в проході понад 50% робочого часу, то ширина його має бути не менше 1,3 м, а якщо працюючий рідко буває у проході, тоді ширина його становить 1 м. При обслуговуванні кожної машини ним або декількома працівниками понад 50% робочого часу ширина проходу повинна бути 2 м.
Монтажний розрив між машинами передбачається в том, випадку, коли між сусідніми машинами не потрібна зона обслуговування та ремонту.
Мінімальна висота проходу до виступаючих над проходами конструктивних елементів, труб і вентиляційних повітроводів становить не менше 2 м. Евакуаційні проходи призначаються для масового руху людей після зміни або перерви, для евакуації працюючих в екстрених випадках, а також для руху транспортних засобів. По розташуванню проходи можуть бути центральними або пристінними, за призначенням – головними або допоміжними. Головні призначені для виходу з виробничого приміщення, а допоміжні – до запасних виходів і санітарно-побутових приміщень.
Ширина проходів визначається сумою значень ширини проходу для руху людей і транспорту, зон обслуговування або ремонту машин. Смуга руху людей у всіх випадках входить у ширину проходу. Ширина проходу – від 2 до 2,5 м.
Ширину будь-якого евакуаційного проходу приймають рівною ширині зони ремонту машини, якщо ця зона виявиться ширше ніж прохід.
Розміри евакуаційних виходів з виробничих будівель вибирають відповідно до існуючих норм та рекомендацій.
У кожному конкретному випадку габарити безпеки регламентуються відповідними стандартами, нормами технологічного проектування та правилами охорони праці.
5.3 Гігієна праці на підприємстві «РівнеАзот»
Запобігання захворюванням, поліпшення умов праці та відпочинку здійснюється шляхом вдосконалення досягнень гігієнічної науки, гігієнічних нормативів та санітарно-гігієнічного законодавства.
Складовою частиною загальної гігієни є гігієна праці, предметом вивчення якої є:
-
трудові процеси й певні зумовлені ними зміни в організмі;
-
вплив на організм людини чинників виробничого середовища з метою усунення їх несприятливої дії на здоров'я людини;
-
розробка гігієнічних нормативів.
Завдання санітарії полягає в практичному втіленні наукових гігієнічних положень та нормативів у виробничу, побутову та інші сфери існування людини, щоб «розвиток людини був найбільш досконалим, згасання життя – найменш швидким, життя – найбільш сильним, а смерть – найбільш віддаленою» (Е.А. Паркес) шляхом зміцнення здоров'я та зниження рівня загальної та професійної захворюваності.
Розділ охорони праці, що вивчає можливість впливу на працівників шкідливих виробничих чинників, які можуть призвести до професійних захворювань, називається виробничою санітарією.
Характер умов праці, санітарні особливості виробничих процесів відображаються на функціонуванні організму та його окремих систем.
Фактори, що визначають санітарно-гігієнічні умови праці, чинять постійний вплив на здоров'я людини через фізичні, хімічні. біологічні та психофізіологічні чинники.
На підприємстві ВАТ «РівнеАзот» для забезпечення сприятливих умов праці використовуються гігієнічні нормативи та санітарні рекомендації.
Гігієнічні нормативи – це визначений діапазон виробничого середовища, який є безпечним з точки зору збереження нормальної життєдіяльності та здоров'я людини.
Об'єкти гігієнічного нормування умовно можна поділити на групи.
До першої групи належать чинники антропогенного походження, здатні завдати шкоду організму людини (виробничий шум, пил, вібрації іонізуюче випромінювання й т. ін.).
До другої групи належать чинники природного середовища, що у відповідних межах необхідні для життєдіяльності, – мікроклімат, освітлення, сонячна радіація, ультрафіолетове опромінення й т. ін
Шляхом гігієнічного нормування встановлюються гранично допустимі концентрації (ГДК) шкідливих хімічних домішок у повітрі робочої зони (воді, ґрунті, продуктах харчування), гранично допустимі рівні (ГДР) і гранично допустимі дози (ГДД) шкідливо діючих на людину чинників, оптимальні й допустимі параметри мікроклімату, освітлення, опромінення і т. ін.
Допустимі рівні, дози, концентрації шкідливих чинників встановлюються шляхом гігієнічного нормування й узагальнюються в соціальних документах, що називаються санітарними нормами. Санітарні норми використовуються при проектуванні та організації виробництва, контролі стану охорони праці на робочих місцях, проведенні паспортизації, впровадженні стандартів, а також при розробці конкретних заходів щодо нормалізації умов праці.
Оптимальні умови праці в будь-якій виробничій діяльності людини забезпечуються шляхом розробки санітарно-гігієнічних заходів. Впровадження санітарно-гігієнічних заходів у будь-яку сферу існування людини ґрунтується та забезпечується завдяки чинному законодавству.
У системі державного санітарного законодавства чільне місце посідає Закон «Про забезпечення санітарного та епідемічного благополуччя населення» (1994).
Цей Закон регулює суспільні відносини, що виникають у сфері забезпечення санітарного та епідеміологічного благополуччя населення, з метою охорони його здоров'я. Цей Закон визначає відповідні права й обов'язки державних органів, підприємств та громадян, встановлює порядок організації санітарно-епідеміологічної служби та державного санітарно-епідеміологічного нагляду.
Складовою частиною санітарного законодавства є такі важливі документи, як санітарні норми, правила, методичні вказівки й рекомендації, положення та інструкції.
Ключовим у санітарному законодавстві є документ СН 245–71 «Санітарні норми проектування промислових підприємств», який нормує санітарні умови праці, санітарну класифікацію виробництв, допустимі рівні шкідливих виробничих чинників, вимоги до проектів, технологічних процесів, обладнання, виробничих будівель і споруд.
Важливими документами санітарного законодавства є «Державні санітарні норми виробничого шуму, ультразвуку та інфразвуку» (ДСН 3.3.6.037–99), «Державні санітарні норми виробничої загальної та локальної вібрації» (ДСН 3.3.6–039–99), «Державні санітарні норми мікроклімату виробничих приміщень» (ДПІ 3.3.6–042–99), «Санітарні правила організації технологічних процесів і гігієнічні вимоги до виробничого обладнання» та ін.
Крім основних державних документів санітарного законодавства на підприємстві ВАТ «РівнеАзот» дотримуються санітарних норм та правил галузевого і відомчого призначення, інструкцій і наказів МОЗ.
Важливим документом санітарного законодавства є БНіП для всіх видів промислового, комунального та іншого будівництва, а також Державні стандарти України (ДСТУ), Державні нормативні акти про охорону праці (ДНАОП), Міжнародні стандарти Системи стандартів безпеки праці (ГОСТ ССБТ), у яких поряд з технічними умовами є санітарні вимоги, що являють собою частку загальнодержавного санітарного законодавства.
5.4 Електробезпека підприємств ВАТ «РівнеАзот»
Електрифікація всіх сфер людської діяльності ставить на перший план питання про захист персоналу, що обслуговує електроустаткування, а також інших осіб, які можуть підпадати під небезпеку ураження струмом.
Практика свідчить про те, що майже у всіх галузях, де використовується електричний струм, бувають випадки ураження людей. Ураження струмом є найрозповюдженішим небезпечним і несподіваним для потерпілого видом виробничого травматизму.
Заходи електробезпеки були і залишаються важливим питанням охорони праці. Електробезпека – це система організаційних і технічних заходів, що забезпечують захист людини від шкідливої та небезпечної дії електричного струму, електричної дуги, електромагнітного поля і статичного струму.
До числа небезпечних і шкідливих чинників належить підвищена напруга в електричній мережі, замикання якої може відбуватись через тіло людини, підвищений рівень статичного струму, підвищений рівень електромагнітних випромінювань електричного і магнітного полів.
Вивчення причин і ступенів тяжкості ураження струмом показало, що тяжкість електротравм залежить від стану середовища в робочих зонах, тобто від температури і вологості повітря, електричної провідності підлоги, наявності значних мас і конструкцій, серед яких розміщене електрообладнання. Отже середовище, що оточує людину, може посилювати або зменшувати небезпеку ураження електричним струмом.
З метою правильного добору ізоляцій електроустановок і прийняття засобів захисту відповідно до ПУЕ електроустановки поділяються на:
-
відкриті, чи зовнішні, установки, не захищені спорудою від атмосферного впливу;
-
закриті, чи внутрішні, електроустановки, що розміщені всередині будівлі і захищені від атмосферного впливу.
Згідно з ПУЕ всі виробничі умови за рівнем небезпеки ураження електричним струмом поділяються на три категорії: з підвищеною небезпекою, особливо небезпечні та без підвищеної небезпеки.
Умови з підвищеною небезпекою ураження людей струмом характеризуються наявністю однієї з умов, що викликає підвищену небезпеку:
-
значна відносна вологість повітря (понад 75%);
-
струмопровідний пил, що вкриває провідники та проникає в машини і апарати;
-
температура перевищує 35°С або короткочасно 40°С, незалежно від пори року;
-
можливість одночасного дотикання людини до металевих корпусів електрообладнання і заземлених металевих конструкцій будівлі або виробничого обладнання;
-
наявність струмопровідних підлог (земляних, залізобетонних, металевих, цегляних), що буває у приміщенні майстерень та ін.
Особливо небезпечні умови ураження людей струмом характеризуються наявністю однієї з таких ознак:
-
дощ, сніг або приміщення, де відносна вологість повітря близька до 100% (стеля, підлоги, стіни, колони, перегородки, фундаменти і обладнання постійно вкриті вологою);
-
хімічно активне середовище з їдкими парами і газами, які руйнують ізоляцію електрообладнання;
-
одночасно наявні дві або більше умов з ознаками підвищеної безпеки. Особливо небезпечні умови виникають при роботі у котельнях, підвалах, банях, хімічних цехах, насосних станціях.
Умови без підвищеної небезпеки – це сухі, без пилу приміщення, де відсутні ознаки, притаманні першій і другій категорії.
Небезпека ураження струмом існує завжди там, де є електропроводка або використовується електрообладнання, тому не існує повністю безпечних умов праці при їх експлуатації.
Згідно із наведеною вище класифікацією найнебезпечнішими є умови другої категорії. За ступенем небезпеки роботи на зовнішніх електроустановках прирівнюються до робіт в особливо небезпечних умовах.
Згідно з ПУЕ в електроустановках використовують такі системи засобів і заходів для забезпечення їх безпечної експлуатації: захисне
заземлення, занулення, ізоляція струмопровідних частин, захисне вимикання, малі напруги, недоступність до неізольованих провідників та ін. Жоден з цих засобів не є універсальним, а має свої переваги та недоліки. Тому для забезпечення електробезпеки необхідно застосовувати не один, а кілька засобів одночасно.
У електричних установках існують три види заземлення: захисне заземлення для захисту людей від ураження струмом; робоче заземлення, що забезпечує нормальну роботу устаткування та заземлення системи блискавко захисту, що захищає будівлі і споруди від атмосферної перенапруги.
Захисним заземленням називається зумисне електричне з’єднання з землею металевих не струмопровідних частин, які можуть опинитись під напругою внаслідок пошкодження електричної ізоляції або при наведенні на них електростатичних зарядів та дії електромагнітної індукції.
Основне призначення захисного заземлення полягає в тому, щоб усунути небезпеку ураження струмом людини, якщо вона доторкнулася до металевих частин електрообладнання, яке опинилося під напругою.
Заземлюючий пристрій – це сукупність конструктивно об’єднаних заземлювачів і заземлюючих провідників, що з’єднують електрообладнання з заземлювачами.
Небезпеку ураження струмом при дотиканні до корпусу та інших не струмопровідних металевих частин електрообладнання, що опинилось під напругою внаслідок замикання на корпус, можна ліквідувати швидким відключенням пошкодженої електроустановки від мережі. З цією метою влаштовують занулення.
Зануленням називається зумисне з'єднання металевих частин електроустановки, які зазвичай не перебувають під напругою, з нульовим захисним провідником.
Однією з головних умов безпеки при експлуатації електроустановок є надійна ізоляція. Для цього покривають струмопровідні частини шаром діелектрика, що забезпечує надійність при їх експлуатації.
Електрична ізоляція струмопровідних частин характеризується певними діелектричними властивостями – електричним опором. Згідно з ПУЕ опір ізоляції струмопровідних частин нормується.
Небезпека ураження людини струмом може виникати при замиканні фази на корпус, зниженні опору ізоляції мережі нижче відповідної межі і, нарешті, у випадку дотику людини безпосередньо до струмопровідних частин, що знаходяться під напругою.
Заземлення і занулення не завжди гарантує безпеку людей від ураження струмом. Не завжди можна забезпечити також надійну роботу устаткування зануленням. Тому використовують й захисне відключення – швидкодіючий захист, який забезпечує автоматичне відключення електроустановки при виникненні в ній небезпеки ураження людини струмом. Захисне вимикання виконується більш чутливими і швидкодіючими автоматичними вимикачами.
Трапляються випадки, коли сучасні належним чином виконані електроустановки не забезпечують безпеку працюючих. Тому потрібно використовувати спеціальні захисні засоби, які слугують для захисту персоналу від ураження струмом. Вони умовно поділяються на основні і допоміжні. До основних ізолюючих засобів відносяться такі, що мають ізоляцію, яка здатна тривалий час витримувати робочу напругу. Додаткові ізолюючі захисні засоби мають ізоляцію, не придатну витримувати робочу напругу, тому вони не можуть самостійно захистити людину від ураження струмом, їх призначення полягає в тому, щоб посилити захисну дію основних ізолюючих засобів, разом з якими вони повинні використовуватись.
На підприємстві ВАТ «РівнеАзот» наказом призначено особу, яка несе відповідальність за безпечну роботу електричного устаткування.
5.5 Пожежна безпека на підприємстві ВАТ «РівнеАзот»
Пожежна безпека тісно пов’язана з технікою безпеки, оскільки на пожежах гинуть не тільки матеріальні цінності, а й люди. Проектуючи, будуючи та експлуатуючи виробничі процеси, обладнання і машини, потрібно враховувати вимоги пожежної безпеки нарівні з вимогами охорони праці.
Забезпечення пожежної безпеки є невід’ємною частиною державної політики щодо охорони життя, здоров’я людей, національного багатства й навколишнього природного середовища.
Кожна пожежа має негативні наслідки як безпосередньо для людини, що постраждала, так і для суспільства в цілому. Тому з точки зору екологічних, економічних та соціальних наслідків актуальним стає забезпечення ефективного протипожежного захисту, безпеки людей та матеріальних цінностей. З кожним роком для забезпечення ефективного протипожежного захисту держава має виділяти все більше коштів на фундаментальні дослідження, утримання пожежної охорони, профілактику пожеж. За останні роки в державі розроблено ряд цілеспрямованих заходів щодо створення загальнодержавної системи забезпечення пожежної безпеки. Основним заходом у цьому напрямку було прийняття Закону «Про пожежну безпеку», який набрав чинності з дня його опублікування 29 січня 1994 р.
Згідно із Законом забезпечення пожежної безпеки є складовою частиною державної політики щодо охорони життя та здоров'я людей, національного багатства та навколишнього природного середовища. Цей Закон визначає загальні правові, економічні та соціальні основи забезпечення пожежної безпеки на території держави, регулює відносини державних органів, юридичних і фізичних осіб у цій галузі незалежно від виду їх діяльності та форм власності.
Правовою основою діяльності в галузі пожежної безпеки є Конституція, Закон «Про пожежну безпеку», Правила пожежної безпеки та інші Закони України, постанови Верховної Ради, укази й розпорядження Президента, декрети, постанови та розпорядження Кабінету Міністрів, стандарти, будівельні норми та правила, відомчі нормативи, рішення органів державної виконавчої влади, місцевого та регіонального самоврядування, прийняті в межах їх компетенції.
Нормативні акти, стандарти, технічні умови, інші нормативно-технічні документи на пожежонебезпечні технологічні процеси та вироби мають включати вимоги пожежної безпеки та узгоджуватися з органами державного пожежного нагляду. Узгодженню підлягають також проектні рішення, на які не встановлено норми та правила.
Вимоги пожежної безпеки, що містяться у відомчих нормативних актах, не повинні суперечити державним стандартам, нормам і правилам.
Дозвіл на початок роботи підприємств та експертизу проектів щодо пожежної безпеки здійснюють органи державного пожежного нагляду, які також беруть участь у прийнятті об'єктів, що передаються в експлуатацію.
Загальні вимоги до пожежної безпеки об'єктів усіх галузей народного господарства наведено в ГОСТ 12.1.004–85.
Уci технічні рішення щодо забезпечення пожежного захисту об’єктів народного господарства підлягають нормуванню.
Причини виникнення пожеж дуже різноманітні. До них можна віднести недоліки в будівельних конструкціях, спорудах, плануванні приміщень, облаштуванні комунікацій, дефекти обладнання, неправильну організацію або порушення режимів технологічних процесів, неправильне виконання робіт, необережність персоналу й т.ін.
Причини пожеж різноманітні, але можна поділити їх на дві великі групи. Причини першої групи пов’язані х недопустимою з точки зору пожежної безпеки появою горючого середовища в умовах, де є джерело займання. Це може бути, наприклад, використання або зберігання горючих речовин і матеріалів у тих місцях, де їх наявність суперечить нормам пожежної безпеки. Причини першої групи часто зумовлені також аварійним станом обладнання та наявністю горючих речовин.
До причин другої групи відносять недопустиму за умов пожежної безпеки появу джерела загоряння при обов’язковій наявності горючої суміші, тобто горючої речовини й кисню.
Небезпека вибухів і пожеж виникає при неправильному виборі електрообладнання, коли в пожежонебезпечних і вибухонебезпечних приміщеннях використовуються електродвигуни та апаратура у відкритому виконанні. Під час роботи несправних електродвигунів можливе іскріння, що в ряді випадків призводить до займання.
Причиною пожеж і вибухів у вибухопожежонебезпечних приміщеннях може бути наявність електростатичних розрядів.
На підприємстві ВАТ «РівнеАзот» розроблено ряд попереджувальних заходів щодо розповсюдження та гасіння пожеж на стадії проектування будівель і споруд.
У процесі проектування передбачено поділ будівель на пожежні відсіки та секції протипожежними стінами, перегородками та протипожежними перекриттями. Для обмеження розповсюдження вогню по конструкціях і горючих матеріалах, облаштовано протипожежні перепони, протипожежні двері та ворота, а також протипожежні проміжки між будівлями. Виробничі будівлі міцні не тільки за умов їх нормальної експлуатації, а й за умов пожежі.
Для боротьби з виявленими осередками горіння до прибуття пожежних команд на ВАТ «РівнеАзот» використовують первинні засоби пожежогасіння. До них відносяться вогнегасники, пожежні крани, річкові насоси, бочки з водою, лопати, ломи, сокири, гаки, ящики з піском, повстяні мати, багри та інший пожежний інвентар.
Відповідно до чинного законодавства забезпечення пожежної безпеки на підприємстві ВАТ «РівнеАзот» покладається на його керівника та уповноважених ним осіб. [10]
6. Розрахунок економічної ефективності від запропонованих заходів
6.1 Встановлення нормативів плати за забруднення атмосферного повітря
Одним із перших еколого-економічних інструментів природоохоронної діяльності став механізм плати за забруднення навколишнього природного середовища, впроваджений постановою Кабінету Міністрів України від 13 січня 1992 року №18 «Про затвердження Порядку визначення плати і справляння платежів за забруднення навколишнього природного середовища і Положення про республіканський позабюджетний фонд охорони навколишнього природного середовища». Згідно з цією постановою було введено пряму плату за забруднення, яка залежить від кількості та «якості» забруднюючих речовин. Ця плата справлялася за викиди забруднюючих речовин в атмосферне повітря, за скиди забруднюючих речовин безпосередньо у водні об'єкти та за розміщення відходів.
В основу методології встановлення нормативів, які визначали
-
розміри плати за забруднення, було покладено:
-
величину еколого-економічного збитку;
-
обсяг грошових коштів, який необхідно «отримати» з кожної тонни викидів, скидів, розміщених відходів для створення джерела фінансування екологічної діяльності, який був би незалежним від державного бюджету;
-
економічний стан підприємств-забруднювачів.
Стимулююча функція платежів спрямована на запобігання виснаження природних ресурсів і припинення безоплатного використання навколишнього середовища як приймальника забруднюючих речовин.
Економічна суть плати за забруднення полягає в тому, що:
-
забруднювач і споживач продукції змушений оплачувати (компенсувати) економічні збитки від негативного екологічного впливу на здоров'я людей, об'єкти житлово-комунального господарства (житловий фонд, міський транспорт, зелені насадження тощо), сільськогосподарські угіддя, водні, лісові, рибні та рекреаційні ресурси, основні фонди промисловості та Ін. При цьому слід враховувати, що наразі не йдеться про юридичну відповідальність у повному обсязі за забруднення навколишнього середовища.
-
платежі за забруднення стали основою створення місцевих, республіканського АР Крим і Державного фондів охорони навколишнього природного середовища, незалежного від державного та місцевих бюджетів джерела фінансування природоохоронних заходів і робіт.
6.2 Розрахунок збору за забруднення атмосферного повітря
Суми збору за скиди (Пс) обчислюють на підставі затверджених лімітів, виходячи з фактичних обсягів скидів, нормативів збору та корегую чого коефіцієнта, і визначають за формулою:
П=(Мбі Мі) КТ
де Мбі – базовий норматив плати за викиди в атмосферу 1 т і-го забруднюючої речовини в межах ліміту, грн./т; Мі – маса річного викиду і-го забруднюючої речовини в межах ліміту, т; КТ – коефіцієнт, що враховує територіальні соціально-екологічні особливості. Результати вносимо в таблицю 6.1.
Таблиця 6.1. Зведені розрахунки економічних збитків за забруднення атмосферного повітря до очистки
| Назви забруднюючих речовин | Фактичні обсяги скидів, т. | Нормативи збору за тонну забруднюючої речовини, грн/т. | Плата за викиду грн/т | Загальні суми збору, грн., коп. |
| Оксид азоту | 16,188 | 80 | 1295,04 | 1278,85 |
| Оксид вуглецю | 8,41 | 3 | 25,23 | 16,82 |
| Загальна плата | 1295,67 |
Нарахований збір за забруднення навколишнього природного середовища 1295,67
Таблиця 6.2. Зведені розрахунки економічних збитків за забруднення атмосферного повітря після очистки
| Назви забруднюючих речовин | Фактичні обсяги скидів, т. | Нормативи збору за тонну забруднюючої речовини, грн/т. | Плата за ліміт викиду грн/т | Загальні суми збору, грн., коп. |
| Оксид азоту | 16,188 | 80 | 366,601 | 350,41 |
| Оксид вуглецю | 8,41 | 3 | 91,65 | 83,24 |
| Загальна плата | 433,65 |
Окупність очисного устаткування рівний 862,02 грн.
За даними розрахунками визначаючи обсяг грошових коштів, який необхідно «отримати» з кожної тонни викидів, скидів, розміщених відходів для створення джерела фінансування екологічної діяльності, який був би незалежним від державного бюджету. Забруднювач і споживач продукції змушений оплачувати (компенсувати) економічні збитки від негативного екологічного впливу на здоров'я людей, об'єкти житлово-комунального господарства (житловий фонд, міський транспорт, зелені насадження тощо), сільськогосподарські угіддя, водні, лісові, рибні та рекреаційні ресурси, основні фонди промисловості та Ін.
Висновки
Провівши аналіз стану атмосферного повітря ВАТ «Рівнеазот» цеху по виробництву аміаку за основними джерелами викиду забруднюючих речовин (оксид азоту, оксид вуглецю, моноетаноламін, аміак) та оцінивши їх вплив на навколишнє природне середовище можна зробити наступні висновки:
1. Для оцінювання забруднення атмосферного повітря використовувався методику розрахунок максимальної приземної концентрації ведеться за ОНД-86 і справедливий для 20 хвилинного інтервалу осереднення в радіусі до 100 км від джерела викиду
2. Оцінивши стан та величину відстань на яку проходить розсіювання шкідливої речовини, встановили уточнену санітарну захисну зону та розрахували ГДВ забруднюючих речовин в атмосферне повітря Знайдені значення ГДВ порівнюємо з реальними потужностями викидів на ТзОВ «Будівельник». Аналіз розрахунків показав, що:
потужність викиду перевищують тільки по оксиду азоту в 1,4 рази по всім наступним забруднюючим речовина не перевищує розрахункових значень ГДВ
3. За проведеною оцінкою було запропоновано очисну споруду кільцевий адсорбер. Процес адсорції переходить в газову фазу на якому відбувається процес регенерації.
Також запропоновані природоохоронні заходи:
підвищення ефективності державного контролю за природоохоронною діяльністю суб’єктів господарювання; забезпечення ефективної взаємодії з правоохоронними органами та іншими контролюючими службами області; забезпечення повного стягнення збитків за порушення екологічного законодавства та штрафних санкцій; впровадження комп’ютерних методів обробки інформації аналітичного забезпечення контрольної діяльності; здійснення заходів в рамках запровадження нової концепції регулювання охорони атмосферного повітря;
вирішення питання фінансування виробництва з переробки фосфогіпсів ВАТ «Рівнеазот»;
забезпечення ремонту і модернізації очисних споруд ВАТ «Рівнеазот»;
посилення контролю за цільовим використанням коштів природоохоронних фондів;
здійснення комплексу заходів по впровадженню регіональної інформаційної системи моніторингу навколишнього природного середовища та раціонального використання природних ресурсів області на базі системи регіонального екологічного моніторингу СЕМ «Полісся»
4. Запропоновані природоохоронні заходи є ефективними і їх впровадження є доцільним для покращення охорони атмосферного повітря в в межах ВАТ «Рівне азот» та прилеглих населених пунктів.
Використана література
1. Сухарєв С.М., Чудак С.Ю., Сухарєва О.Ю. Техноекологія та охорона навколишнього середовища. – Львів: Новий світ, 2000–2005. – 256 с.
2. Бойчук Ю.Д., Солошенко Е.М., Бугай О.В. Екологія і охорона навколишнього середовища. – К.: Княжа Україна, 2005. – 302 с.
3. Лук’янова Л.Б. Основи екології. – К.: Вища школа, 2000. – 327 с.
4. Клименко М.О., Прищепа А.М., Вознюк Н.М. Моніторинг довкілля. – К.: Академія, 2006. – 360 с.
5. Коротун І.М., Коротун Л.К. Географія Рівненської області. – Рівне: Кабінет редакційно-видавничої діяльності та друкованої пропаганди передового педагогічного досвіду Рівненського інституту підвищення кваліфікації педагогічних кадрів, 1996. 274 с.
6. Назаренко І.І., Польчина С.М., Дмитрук Ю.М., Смага І.С., Нікорич В.А. Ґрунтознавство з основами геології. – Чернівці: Книги – ХХІ, 2006. – 504 с.
7. Матушевська Н.Р. Охорона атмосферного повітря. – Рівне: НУВГП, 2008. – 236 с.
8. Доровских А.В., Сикарев А.А. Сети связи с подвижными объектами. К.: 1987
9. Брейдо А.Ч., Анисимов Н.К. Организация, планирование и управление в хозяйстве сигнализации и связи. К.: 1985
10. ГОСТ 10617–83. Котлы отопительные теплопроизводительностью от 0,1 до 3,15 МВт. Общие технические условия. М.
11. Клименко М.О., Прищепа А.М., Вознюк Н.М. Моніторинг довкілля: Підручник. – Київ: Видавничий центр «Академія». – 2006 р. – 259 с.
12. Санитарные нормы проектирования промышленных предприятий. СН 245–71. – Москва: Издательство литературы по строительству, 1972 р. – 96 с.
13. Закон України «Про охорону навколишнього природного середовища». – Київ, 1991
14. Аиев Г. М-А. Техника пылеулавливания и очистки промышленных газов. – Москва, 1986 р. – 365 с.
15. Белевицкий А.М. Проектирование газоочистительных сооружений. – Ленинград, 1990 р. – 312 с.
2>














