151176 (594634), страница 4
Текст из файла (страница 4)
На рисунке 3.2.2 показаны окончательные варианты сварных соединений.
При термитной сварке используют патроны различных конструкций. Соединения алюминиевых жил сечением 16-800 мм² встык и приварку наконечников ЛС на жилах сечением 300-800 мм² производят термитными патронами ПА (рисунок3)
Рисунок 3.2.3 Патрон ПА (а) и детали к нему для термитной сварки,
б — алюминиевые колпачки к патрону, в, г — алюминиевые шайбы и втулки: 1—термитный муфель, 2 — литниковое отверстие, 3 — стальной кокиль, 4 — втулка, 5 — отверстие в донышке втулки для контроля глубины вхождения в него жил
Для выполнения сварки необходимы следующие инструменты и материалы: набор НТС-2М, пресс - клещи ПК-1М со специальными губками для откусывания литниковой прибыли или рамка ножовочная ручная с ножовочным полотном для металла, слесарное зубило длинной 125 мм с лезвием шириной 10 мм, отвертку длинной 200 мм с лезвием шириной 9 мм, конопатку с полукруглым лезвием шириной 8 мм, плоский напильник длинной 200 мм с насечкой №2, молоток массой 0,4 – 0,5 кг, плоскогубцы.
Перед выполнением работы необходимо провести заготовительные операции. А именно, подобрать термитные патроны в зависимости от сечения свариваемых жил, покрыть внутреннюю часть кокиля слоем мела, предварительно разведенного до пастообразного состояния. Слой мела высушить до начала сварки. При жировых загрязнениях кокиль протереть тканью смоченной бензином или ацетоном, собрать термитные патроны, для чего ввести кокиль с двумя алюминиевыми колпачками в муфель таким образом, чтобы литниковые отверстия кокиля и муфеля располагались соосно.
Термитные патроны подбирают в зависимости от сечения свариваемых жил, перед сваркой снимают на необходимую длину изоляцию с жил. Жилы зачищают, обезжиривают и покрывают тонким слоем флюса ВАМИ (хлористый калий — 50%, хлористый натрий — 30%, криолит — 20% по массе). На концы жил насаживают алюминиевые колпачки или секторные втулки (предохраняют поверхность жил от непосредственного соприкосновения с кокилем патрона).
Затем устанавливают охладители и экраны, выполняют уплотнения асбестовым шнуром. Для поджигания термитных патронов используют специальные спички.
Комбинированные и многопроволочные секторные жилы предварительно скругляют плоскогубцами. При соединении секторных однопроволочных жил вместо алюминиевых колпачков применяют секторные втулки. Свободное пространство между колпачком и жилой заполняют отрезками присадки.
Термический патрон устанавливают на жилу таким образом, что бы стык находился в центре литникового отверстия. Нижние половины охладителей закрепляют на соединительной планке. Под охладитель установленный на жиле кабеля (провода), подкладывают прямоугольную прокладку 6, толщина которой равна половине толщины контактной пластины наконечника, для выравнивания осей кабеля и наконечника. Затем жилу закрепляют в охладителях. Между охладителем и формой (вплотную к охладителю) устанавливают тепловой экран из асбестового картона, выступающий за края охладителя не менее чем на 10 мм. Перед сваркой на боковую поверхность патронов по обе стороны от литникового отверстия накладывают тепловую изоляцию – ленты из асбестового картона шириной 25-30 мм, стянутые бандажами из стали толщиной 1-1,5 мм. В литниковое отверстие термитного патрона вводят присадочный пруток и приступают к сварке.
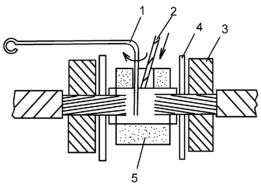
По мере горения муфеля в кокиль сплавляют присадочный пруток, а образовавшуюся сварочную массу тщательно перемешивают. После кристаллизации расплавленного металла удаляют литниковую прибыль при помощи клещей ПК-1М и закругляют кромки монолитной цилиндрической части сварного соединения. Муфель скалывается зубилом при помощи молотка. После чего снимают защитный экран и охладители с кабеля и асбест с изоляции. Напильником запиливают острые края в месте образования литниковой прибыли, после частичного ее удаления клещами ПК-1М, и закругляют кромки монолитной цилиндрической части сварного соединения. Место соединения зачищают стальной щеткой, протирают салфеткой, смоченной в бензине или ацетоне, до полного удаления шлаков и опилок. Процесс термитной сварки показан на рисунке 3.2.4
Рисунок 3.2.4.Процесс термитной сварки: 1 - мешалка; 2 - присадочный пруток; 3 - охладители; 4 - асбестовый экран; 5 - термитный патрон.
3.3 Техника безопасности при выполнении работ
К электросварочным работам допускаются электросварщики, достигшие 18-летнего возраста, имеющие не ниже второй квалификационной группы по технике безопасности. Все электросварщики цветных металлов должны проходить ежегодно медосмотр.
Все виды посторонних работ по электросварке в зданиях должны производиться в специально отведенных вентилируемых помещениях, площадь и кубатура которых удовлетворяет правилам СНиП с учетом габаритов сварочного оборудования и свариваемых изделий.
Ручная дуговая сварка или сварка в защитном газе, выполняемые систематически, должны производиться в специально хорошо вентилируемых кабинах со светонепроницаемыми стенками, из несгораемого материала. Те же виды сварки выполняемые не систематически, а так же на крупногабаритных изделиях, должны производиться при ограждении мест работы светонепроницаемыми щитами или занавесами из несгораемого материала.
В помещениях для сварки запрещается хранить легковоспламеняющиеся вещества и материалы
В помещениях для электросварочных работ должны быть предусмотрены проходы достаточной ширины проходы (не менее 0,8 м), обеспечивающие удобство и безопасность при сварочных работах и доставке изделий к месту сварки.
Многопостовые агрегаты и установки из нескольких сварочных агрегатов должны располагаться в отдельном помещении или в части общего производственного помещения, отделенной постоянными перегородками, решетками, сетками и т.п. не ниже 1,7 м.
В сварочной цепи для подвода тока к электроду следует применить гибкий шланговый кабель (провод). Изоляция кабеля должна быть защищена от механических повреждений. Запрещается применять сварочные провода с нарушенной изоляцией и оплеткой. При повреждении оплетки сварочные провода необходимо заключить в резиновый шланг.
В качестве обратного провода, соединяющего свариваемое изделие с источником сварочного тока, могут служить гибкие провода. Использование в качестве обратного провода сети заземления, металлических строительных конструкций зданий, коммуникаций и не сварочного технологического оборудования – запрещается. Следует тщательно соединять между собой отдельные элементы, используемые в качестве обратного провода (сваркой, с помощью болтов, струбцин или зажимов).
Сварочные установки, со стороны питающей сети, должны быть защищены предохранителями или автоматами. Многопостовые сварочные агрегаты, кроме того, должны иметь автоматы с максимальной защитой в общем проводе сварочной цепи и предохранители на каждом проводе к сварочному посту.
Подсоединять сварочные посты к многопостовому агрегату можно только можно только при отключенном от сети агрегате. Передвижные сварочные установки на время их передвижения необходимо отсоединять от сети.
Подсоединять к сети и отключать электросварочные установки на монтажном объекте, а так же на монтажном объекте, а так же наблюдать за их состоянием в процессе эксплуатации должен обученный персонал.
Корпус сварочных агрегатов, сварочные столы, плиты и т.п., а также обратные провода источников питания следует заземлять.
При одновременной работе сварщиков на различных высотах по одной вертикали должны быть предусмотрены надежные средства для защиты работающих от брызг металла и возможного падения огарков электродов и других предметов.
Спецодежда электросварщика должна состоять из брезентовых или суконных брюк и куртки, ботинок с глухим верхом, рукавиц, фартука с нагрудником и головного убора. При потолочной сварке необходимо пользоваться асбестовыми или брезентовыми нарукавниками. При сварке семейных сплавов, содержащих цинк, медь, свинец, необходимо пользоваться фильтрующим респиратором.
При ручной сварке угольным электродом тяжелых алюминиевых и медных шин и при электрической сварке должен быть предусмотрен отсос газов непосредственно из зоны сварки. При ручной сварке рекомендуется, кроме того, подача воздуха непосредственно под щиток сварщика. В случае необходимости следует работать в шланговом противогазе.
Для защиты рук сварщика от ожогов электрической дуги на электрододержателе следует укрепить металлический экран. Электрододержатель должен прочно удерживать электрод. Ручку электрододежателя следует изготовлять из диэлектрического и теплоизолирующего материала, металлическая ручка должна быть надежно изолирована.
Для защиты глаз и лица от лучей дуги и брызг металла, сварщик должен пользоваться маской, снабженной темными светозащитными и предохранительными стеклами.
3.4 Сдача-приемка в эксплуатацию
Сдача станка в эксплуатацию производится совместно механиками и наладчиками. При этом бригадир наладчиков заполняет журнал производства наладочных работ, в котором должны быть отражены все данные измерений устранение выявленных дефектов, изменения в принципиальной электрической схеме, протоколы испытаний электрооборудования и акт приемки-сдачи станка. С момента подписания акта приемки-сдачи станок поступает в постоянную эксплуатацию.
До приемки смонтированной установки комиссией эксплуатирующая и монтажная организации выполняют ряд предварительных мероприятий: осматривают и принимают скрытые монтажные работы (скрытые трубные прокладки, прокладки кабелей в траншеях, электропроводки). Осуществляют указанную приемку на основе технического надзора со стороны эксплуатирующей организации за этими работами в процессе их выполнения. Приемка скрытых работ оформляется актом, который и представляется приемочной комиссии. К числу подготовительных мероприятий, которые выполняет эксплуатирующая организация, относят также подготовку схемы управления электрохозяйством предприятия, обучение и подготовку электротехнического персонала, разработку эксплуатационных и должностных инструкций.
Приемка смонтированной электроустановки включает в себя проверку соответствия установки проекту и требованиям ПУЭ, СНиП и инструкциям заводов-изготовителей электрооборудования. Тщательным наружным осмотром проверяют исправность смонтированного электрооборудования и качество электромонтажных работ. Учитывая, что наружный осмотр электрооборудования не позволяет выявить скрытые дефекты, при приемке проводят испытания принимаемого оборудования, предусмотренные ПУЭ. Приемочная комиссия при приемке электроустановки также проверяет техническую документацию, выполненную в процессе монтажа электроустановки, ее испытаний и наладки.
Электрическую изоляцию проверяют измерением её сопротивления и испытанием установки повышенным напряжением. Испытание повышенным напряжением обязательно для всего электрооборудования 35 кВ и ниже. Оно предшествует осмотру и измерению сопротивления изоляции.
Сопротивление изоляции РУ, щитов и токопроводов до 1 кВ, вторичных цепей управления, защиты, сигнализации в релейно-контакторных схемах установок до 1кВ, измеренное мегаомметром 0,5-1 кВ, должно быть не менее 0,5 МОм. Сопротивления изоляции каждого присоединения вторичных цепей и цепей питания приводов выключателей и разъединителей со всеми присоединенными к ним аппаратами (катушки приводов, контакторы, реле, приборы, вторичные обмотки трансформаторов тока и напряжения) должны быть не менее 1 МОм. В РУ измерения производят для каждой секции.
Электроустановки, кроме электропроводок, испытывают повышенным напряжением промышленной частоты, равным 1 кВ, в течение 1 минуты. Такие испытания могут быть заменены измерением значения сопротивления изоляции R60 мегаомметром на напряжение 2,5 кВ в течение 1 минуты при этом измеренное сопротивление изоляции должно быть не менее приведенного в нормах. Если значение сопротивления изоляции меньше приведенного в нормах, испытание напряжением 1 кВ промышленной частоты является обязательным.
Сопротивление изоляции обмоток статора электродвигателей переменного тока до 1 кВ, измеренное мегаомметром на напряжение 1 кВ, должно быть не менее 0,5 Мом при температуре 10-30 °С.
Пред включением электрооборудования под напряжение выборочно проверяют (осматривают) заземляющие устройства, наличие цепи между заземлителями и заземляемым оборудованием, полное сопротивление петли фаза – нуль производят прибором М-417 для наиболее удаленных, а также наиболее мощных электроприемников.
Тщательная приемка в эксплуатацию вновь смонтированных электроустановок - одно из условий, обеспечивающих нормальную работ электрооборудования промышленных предприятий. Каждое отступление от требований, предъявляемых к смонтированным электроустановкам, может при эксплуатации послужить причиной различных неполадок и аварий.
















