147853 (594421), страница 3
Текст из файла (страница 3)
Економайзер примусового холостого ходу (ЕПХХ) призначений для зменшення викиду токсичних речовин з відпрацьованими газами, а також для зниження витрати палива. На режимі гальмування автомобіля двигуном (тобто при русі за інерцією з включеною передачею і відпущеною педаллю управління карбюратором), званому також змусь тільним холостим ходом (ПХХ), умови згорання робочої суміші в циліндрах різко погіршуються, у відпрацьованих газах зростає вміст продуктів неповного згорання - в основному оксиду вуглецю (З) і вуглеводнів (СН), непродуктивно витрачається паливо. Відключення топливоподачи через систему холостого ходу на режимі ПХХ дозволяє вирішити обоє ці проблеми.
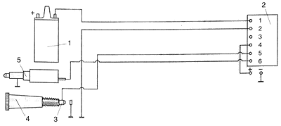
Відключення топливоподачи на ПХХ виробляється за допомогою встановленого в кришці карбюратора електромагнітного клапана на паливному жиклері холостого ходу. Подачею струму в обмотку електромагнітного клапана управляє нескладний за сучасними мірками електронний пристрій - блок управління, сполучений в електричний ланцюг з клапаном, джерелом живлення, котушкою запалення, датчиком положення дросельної заслінки на карбюраторі, а також «масою» автомобіля. Імпульси струму від котушки запалення 1 (мал. 12) дають інформацію про частоту обертання, а датчик положення дросельної заслінки, що є контактом 3 на наполегливому гвинті 4 дросельних заслінки, механічно замикається на «масу» при повністю закритій заслінці, сигналізує про перехід карбюратора в режим холостого ходу. Режим примусового холостого ходу, при якому обмотка електромагнітного клапана 5 знеструмлюється і подача палива через систему холостого ходу припиняється, настає, коли блок управління 2 реєструє одночасну наявність двох чинників: підвищена частота обертання колінчастого валу (більше 2000 мин"1) і закрита дросельна заслінка. Режим ПХХ припиняється і подача палива поновлюється, якщо водій: не натискуючи на педаль управління дросельною заслінкою зменшить швидкість руху, вимкне зчеплення або, включивши нейтраль, перейде на холостий хід (спрацює відключення режиму ПХХ по частоті обертання); натискуватиме на педаль управління дросельними заслінками і продовжить рух з високою частотою обертання (станеться відключення режиму ПХХ по положенню дросельної заслінки).
Для підвищення стійкості роботи двигуна, виключення ривків, відключення топливоподачи відбувається при одній частоті обертання (близько 2000 мин), а включення - при іншій, на 150-200 мин-' меншою. Знеструмлення електромагнітного клапана відбувається також і при виключенні запалення, чим унеможливлюється виникнення роботи двигуна з самозайманням. Для того, щоб не допускати викиду в атмосферу вельми токсичних (більш ніж в десятки разів в порівнянні з відпрацьованими) газів картерів, на сучасних двигунах застосовується система примусової вентиляції картера. Для цього гази картерів подаються під дією розрідження в порожнину повітряного фільтру після елементу, що фільтрує, і, змішуючись з повітрям, поступають в циліндри. Проте на режимах малих навантажень розрідження в повітряному фільтрі невелике, і така система не забезпечує задовільного видалення газів картерів.
Схема підключення ЕПХХ
1 - котушка запалення; 2 - блок управління ЕПХХ; 3 - ізольований наконечник гвинта кількості; 4 - гвинт кількості; 5 - електромагнітний клапан
Для підвищення ефективності роботи системи вентиляції картера її доповнюють так званою малою гілкою, що сполучає штуцер відведення газів від двигуна із задроссельным простором. Перетин цього додаткового каналу не перевищує 2-3 мм в діаметрі.
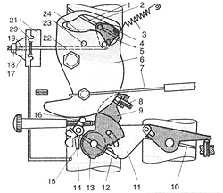
Штуцер 1 (мал. 7) для приєднання малої гілки системи вентиляції картера розташований на карбюраторі в його нижній частині, в зоні дросельної заслінки первинної камери під прискорювальним насосом. Далі гази поступають по каналу у виїмку 6 на нижньому фланці і виходять безпосередньо в задроссельное простір під дросельною заслінкою первинної камери. Привід дросельних заслінок служить для управління кількістю горючої суміші, що поступає в двигун, а, отже і зміни його потужності. Для цього є дві поворотні дросельні заслінки: первинна, зв'язана безпосередньо через ручьевой сектор і трос з педаллю «газу» в салоні і вторинна, така, що відкривається через привід важеля на останній третині повного ходу педалі. Вторинна дросельна заслінка, що відкривається за допомогою спеціального проміжного важеля 11, (мал. 11) що зв'язує осі двох заслінок, блокується в закритому положенні незалежно від величини ходу педалі управління карбюратором при витягнутій манетке управління пусковим пристроєм. Це досягається наявністю в механізмі приводу додаткового важеля 15 блокувань, що виконує роль клямки і покращує роботу непрогрітого двигуна під навантаженням. При непрацюючому пусковому пристрої важіль 15 повернений проти годинникової стрілки за рахунок дії пружини і при повороті осі первинної заслінки на 2/3 повного кута відкриття його вусик 14 входить в контакт з виступом 13 важеля заслінки, забезпечуючи поворот проміжного важеля 11 і відкриття заслінки 10 вторинної камери. При витягуванні манетки управління пусковим пристроєм на штифт 16 важеля 15 блокувань впливає поворотний важіль-кулачок 6, і підводить його вусик 14, виводячи із зони можливого зачеплення з виступом 13 важеля на осі первинної заслінки, і, перешкоджаючи тим самим відкриттю дросельної заслінки вторинної камери.
Пусковий пристрій і механізм блокування заслінки вторинної камери
1 - повітряна заслінка;2, 23 - відповідно верхня і нижні частини профільованого вирізу важеля;3 - пружина;4 - штифт;5 - важіль осі повітряної заслінки;6 - кулачок;7 - трос управління пусковим пристроєм;8 - гвинт регулювання величини прочинена дросельної заслінки в період пуску;9 - важіль на осі дросельної заслінки первинної камери;10 - дросельна заслінка вторинної камери;11 - проміжний важіль;12 - дросельна заслінка первинної камери;13 - виступ важеля осі дросельної заслінки первинної камери;14 - вусик блокуючого важеля;15 - важіль блокування;16 - штифт блокуючого важеля;17 - кришка;18 - контргайка;19 - гвинт-упор;20 - діафрагма; 21 - корпус діафрагмового механізму пускового пристрою;22 - шток; 23 - фіксатор.
При низькихтемпера турах двигун вимагає значного збагачення складу горючої суміші, тобто більшого прикриття повітряної заслінки, чим на вищих температурах, коли повітряну заслінку можна прочинити більшою мірою, обіднивши склад суміші, і, зменшивши тим самим вміст у відпрацьованих газах оксиду вуглецю на режимі прогрівання. До речі, саме так і поступають дослідні водії на карбюраторах з ручним управлінням повітряною заслінкою, поступово утапливая кнопку «підсос» у міру прогрівання двигуна. Механізм двоступінчатого приоткрытия повітряної заслінки на карбюраторах 2108 модифікацій "35" "62" (мал. 22) має вакуумну камеру 9 з діафрагмою 11 і закріпленою на ній гайкою штоком 21. Розрідження у вакуумну камеру по каналу 3 подається із задроссельного простору карбюратора через вхідний отвір 3 (рис.7) і далі по системі каналів в корпусі карбюратора через отвір 10 (мал. 22) у фланці кріплення корпусу пускового пристрою.
Під кришкою вакуумної камери є поворотна пружина, що переміщає шток 21 за відсутності розрідження управо. У корпусі кришки є підпружинений плунжер 6 з перепускним клапаном, що відкривається при зіткненні і натисненні на нього тарілки діафрагми і повідомляє при цьому порожнину 9 діафрагмового механізму пускового пристрою з штуцером 5 на кришці. Момент натиснення тарілки діафрагми на плунжер перепускного клапана кришки може змінюватися за допомогою регулювального гвинта 8, що змінює величину выступания його кінця в порожнину діафрагмового механізму. Пластмасовий різьбовий гвинт-пробка 7 на кришці діафрагмового механізму пускового пристрою має кільцеве гумове ущільнення і є механічним упором для плунжера 6 кришок, який обмежує максимально можливий хід діафрагми 11 і штока 21 вліво. Штуцер 5 на кришці пускового пристрою з'єднується гумовим шлангом з буферною ємкістю 5 (мал. 15), розміщуваною в моторному відсіку і такою, що є пластмасовим циліндром з двома штуцерами. Другий штуцер буферної ємкості з'єднується з термоклапаном 4, розміщеним в стінці повітряного фільтру. Термоклапан має два штуцери, один з яких з'єднується шлангом з штуцером буферної ємкості, а інший вільно сполучається з атмосферою. При температурі повітря нижче 10°С термоклапан 4 відкритий і штуцер на кришці пускового пристрою 3 через буферну ємкість 5 вільно сполучається з атмосферою. При температурі повітря вище 20°С термоклапан закритий і штуцер на кришці пускового пристрою сполучається з ізольованою від атмосфери буферною ємкістю 5.
На протилежному по відношенню до діафрагми кінці штока 21 (мал. 22) пускового пристрою є плоска п'ята 20, зручна для натиснення на шток пальцем руки при виконанні операцій по перевірці роботи і регулюванню механізму. Під п'ятою знаходиться ще одна поворотна пружина 19, прагнуча перемістити шток управо. У середній частині штока, осі, що знаходиться поблизу, 17 пускового пристрою, виконана проточка, в правий торець якої може упиратися вусик 26 важеля 18, жорстко зв'язаного через раніше описаний механізм важеля з віссю повітряної заслінки. При закритій повітряній заслінці, коли біметалічна пружина перемістила повідець 14 проти годинникової стрілки до упору, вусик 26 важеля 18 при непрацюючому двигуні максимально наближений до правого торця проточки штока 21, проте між ними має бути невеликий зазор, що забезпечує можливість повного закриття повітряної заслінки. Після запуску двигуна в порожнину діафрагми передається розрідження і шток 21, долаючи опір пружин, починає переміщатися вліво, зазор між вусиком 26 важеля і торцем проточки штока вибирається.
Починаючи з цього моменту повітряна заслінка прочиняється, долаючи, крім того, додатковий опір біметалічної пружини. При переміщенні під дією розрідження діафрагми 11 і штока 21 пускового пристрою вліво, тарілка діафрагми упирається в торець плунжера 6 перепускного клапана і відкриває його, повідомляючи робочу порожнину 9 діафрагмового механізму з штуцером 5 на кришці і далі з буферною ємкістю 5 (мал. 15) і термоклапаном 4. Величина ходу "А" (мал. 22) штока 21 пускового пристрою і відповідна йому міра приоткрытия повітряної заслінки у момент початку відкриття перепускного клапана визначають перше фіксоване положення повітряної заслінки після пуску. Якщо температура довколишнього повітря низька і термоклапан 4 (мал. 15) відкритий, у момент відкриття перепускного клапана 6 (мал. 22) розрідження в порожнині діафрагмового механізму починає обмежуватися за рахунок вступу туди атмосферного повітря, внаслідок чого шток 21 пускового пристрою зупиняється в першому фіксованому положенні. За рахунок зміни положення регулювального гвинта 8 можна скоректувати момент початку відкриття перепускного клапана, встановивши тим самим необхідну величину приоткрытия повітряної заслінки в першому фіксованому положенні.
При температурі довколишнього повітря більш 20°С термоклапан 4 (мал. 15) закритий і після пуску у момент натиснення штока 21 (мал. 22) на перепускний клапан розрідження в порожнині діафрагмового механізму пускового пристрою ще в перебіг 2-3 секунд продовжує обмежуватися за рахунок запасу повітря в буферній ємкості. Тим самим повітряна заслінка на цей короткий період затримується в першому фіксованому положенні, забезпечуючи необхідне в перший момент після пуску збагачення складу суміші. Після закінчення короткого часу запас повітря в ізольованій при цій температурі від атмосфери буферної ємкості, що видаляється через вакуумний канал 3 управління пусковим пристроєм в задроссельное простір, закінчується і розрідження в порожнині 9 діафрагмового механізму пускового пристрою починає підвищуватися не дивлячись на відкритий перепускний клапан 6. При цьому шток 21 рухається вліво на величину ходу «Б» до упору в гвинт-пробку 7, встановлюючи повітряну заслінку в друге фіксоване положення з більшою величиною приоткрытия. Тим самим при температурі довколишнього повітря більш 20°С робота двигуна після пуску в режимі прогрівання забезпечується на більш збідненій суміші із зниженим викидом оксиду вуглецю і вуглеводнів.
У міру підвищення температури рідини, що охолоджує, корпус нагрівача прогрівається, і біметалічна пружина пускового пристрою починає розпрямлятися, прагнучи прочинити повітряну заслінку і обернути кулачок 21 пускового пристрою за годинниковою стрілкою.
Якщо при прогріванні двигуна водій не натискує на педаль управління дросельною заслінкою, положення повітряної і дросельної заслінок унаслідок тертя в механізмі залишається незмінним і звороти двигуна у міру прогрівання практично не змінюються. В той же час при кожному натисненні на дросельну заслінку відбувається звільнення важелів приводу і повітряна заслінка, і кулачок пускового пристрою, задаючий міру приоткрытия дросельної заслінки, займають відповідне температурі двигуна положення.
На карбюраторах з автоматичним пусковим пристроєм модифікації "31" замість складнішого вищеописаного "двоступінчатого" механізму, з двома фіксованими положеннями управління повітряною заслінкою після пуску, використовується простіший механізм (мал. 28), з одним фіксованим положенням, як це має місце на всіх карбюраторах 2108 базових моделей з ручним управлінням. При такій конструкції видозмінена кришка діафрагмового механізму пускового пристрою: у ній відсутні клапан, штуцер, а також пластмасова регулювальна гайка. При цьому упором при русі штока 5 пускової системи вліво служить гвинт 4, встановлений на п'яті штока.
5 Технічне обслуговування карбюратора
















