147503 (594362), страница 6
Текст из файла (страница 6)
Для накочування рухомого складу на важкий тип рейок, а також на рейки, покладені на залізобетонні шпали, застосовують розбірні накаточні башмаки, які в зібраному виді нічим не відрізняються від звичайних накладних башмаків.
Розбірні башмаки складаються із трьох частин (корпус, вузьке й широке захоплення), маса найлегшої з яких 68кг. Кріплять їх спеціальними пристроями під головку рейки. Використовують аналогічно накладним накаточним башмаком.
Стикові башмаки (рис. 2.5) із всіх видів накаточних башмаків є більш ефективними й надійними в роботі. З їхньою допомогою можна накочувати всі типи рухомого складу на прямих і кривих ділянках шляху. На прямих ділянках шляху башмаки встановлюють у стик до рейок, отрихто-ваним у напрямку до колісних пар, що зійшли. Так само встановлюють башмаки й на кривих ділянках шляху, але ланки рейок, до яких вони кріпляться, попередньо випрямляють і рихтують для більш зручного наїзду колісних пар на накаточний башмак. Стикові башмаки для рейок Р50 можуть застосовуватися й для рейок більш важкого типу з використанням металевих підкладок під підошви башмаків товщиною 15-20 мм.
Спеціальні (крестовинні) накаточні башмаки (рис. 2.6) застосовують для накочування рухомого складу, що зійшов, у межах стрілочного переводу. Вони встановлюються й закріплюються між рамною рейкою й гостряком.
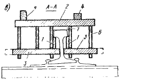
Рис. 2.7 Уніфіковані титанові накаточні башмаки: а-вид зверху; б-вид збоку; в-вид з торця; 1-висувні клини; 2-платформа; 3-висувні сухарі; 4-напрямні виступи; 5-накаточна поверхня; 6-ребра жорсткості; 7-прокладка.
Рис. 2.8 Установка напрямних башмаків: 1-накаточний башмак; 2- напрямний башмак
Рис. 2.9 Напрямний башмак для наближення, рухомого складу що зійшов з рейок: 1-властиво башмак (захват); 2-відрізок рейки
Уніфіковані титанові накаточні башмаки (рис. 2.7) можуть виготовлятися методом зварювання або лиття. Ці башмаки легко переносяться на місце установки. Клинове кріплення дозволяє встановити ці башмаки в найкоротший термін. Для установки уніфікованого накаточного башмака на рейку необхідно висунути назовні висувні сухарі 3, накласти на рейку башмак, всунути всередину висувні сухарі 3, поставити при необхідності металеву прокладку 7 між головкою рейки й башмаком (для рейок Р50), потім поставити й забити по обидва боки під головку рейки клини 1, які забезпечують надійне кріплення башмака.
Особливу значимість при використанні накаточного устаткування здобувають виготовлені раціоналізаторами різні пристосування. Характеристики деяких з них наведені в табл. 2.4.
Для накочування електровозів і тепловозів застосовуються спеціальні пристосування — напрямні башмаки (рис. 2.8). Вони забезпечують рівномірний підйом і напрямок руху колісних пар, охороняють механічну частину локомотива від ушкодження, перешкоджають скиданню накаточного башмака шляхоочисником локомотива. Напрямний башмак 2 укладають одним кінцем під бандаж колісної пари, а іншим — на накаточний башмак 1 і кріплять до шпал.
Коли колісні пари рухомого складу виходять за кінці шпал, для наближення їх до рейок також застосовується напрямний башмак (рис. 2.9), що складається із башмака 1, прикріпленого до відрізка рейки 2. Він встановлюється під колісні пари вагона. Напрямні башмаки застосовуються в сполученні з накаточними башмаками, за допомогою яких вагон встановлюється на рейки.
При накочуванні рухомого складу, що зійшов з рейок, покладених на залізобетонних шпалах, прийомна частина накаточних башмаків не вловлює колісні пари, якщо вони вийшли за копиці шпал, оскільки кінці шпал не дозволяють візку розгорнутися й наблизитися до рейок. При розвороті й підтягуванні колісних пар тросом залізобетонні шпали зриваються з болтів і руйнують шлях. У цьому випадку застосовують накаточні приставки «пастка», які й призначені для наближення колісних пар до накаточних башмаків і дозволяють накочувати рухомий склад при видаленні від шляху, не руйнуючи його. При розширенні шляху використається пристосування «туфелька».
3. ТЕХНОЛОГІЯ ВІДБУДОВНИХ РОБІТ
3.1 Характеристика сходів з рейок рухомого складу
Характер й обсяг робіт по збиранню рухомого складу, що зійшов з рейок, залежать від обставин, які викликали цей схід: зіткнення, несправність шляху, несправності в ходових або зчіпних пристроях рухомого складу, неправильне керування поїздом, зіткнення з автотранспортними засобами, наїзд на сторонні предмети й ін. Не в меншому ступені це залежить також від швидкості руху, числа одиниць рухомого складу в поїзді або групі маневрового состава. На характер сходу можуть вплинути й раптово виниклі під час сходу перешкоди, наприклад розворот візка, що зійшов з рейок, упор його деталей у шпальні ґрати з наступним накопиченням вагонів, що зійшли.
Найбільш частими, але з меншими наслідками є сходи одиночних вагонів або окремих груп з 2—4 вагонів. Найчастіше вони відбуваються на станціях при розпуску з гірок через несправності шляхів, стрілочних переводів або «перескакування» через гальмовий башмак, у більшості випадків при незначних швидкостях руху, і з цієї причини вони не закінчуються падінням вагонів набік і розвалом вантажу. Зіткнення при виробництві маневрів нерідко закінчуються більше складними сходами, аж до перекидання рухомого складу й телескопічного з'єднання. На перегонах сходи з рейок одиночного рухомого складу або груп з малим числом вагонів відбуваються дуже рідко. В основному вони мають місце на станціях і кваліфікуються у відповідності з наступними наслідками: схід локомотива або вагона з рейок однією колісною парою; схід одним візком; схід всіма візками без їхнього викиду з-під рами рухливого складу; схід всіма візками з викидом однієї з-під рами й заглибленням кінця вагона в земляне полотно; схід з викидом всіх візків, падінням рухливого складу набік або перекиданням.
Сходи з рейок рухомого складу, які відбуваються через зіткнення, можуть закінчуватися перерахованими вище наслідками, але з додатковими руйнуваннями головному й бічній частинах локомотива або вагона. Нерідко в останніх випадках зіткнення й сходи закінчуються пожежею.
Сходи з рейок одиночного рухомого складу в більшості випадків ліквідуються аварійно-польовими командами за допомогою накаточних засобів і маневрового або поїзного локомотива. У тих випадках, коли таким способом підняти рухомий склад не представляється можливим, викликається відбудовний поїзд і піднімання здійснюється способами, які будуть розглянуті нижче.
Найбільш складними наслідками закінчуються катастрофи, аварії, сходи й зіткнення поїздів і рухомого складу при більших швидкостях як на перегонах, так і на станціях. Як правило, великі катастрофи закінчуються складними завалами, які можуть собою представляти: групу вагонів, відкинутих і перекинутих з розвалом вантажу; групу вагонів, нагромаджених у кілька ярусів на невеликій площі з телескопічним з'єднанням металевих конструкцій упереміш із розваленим і розлитим вантажем.
На насипах у більшості випадковий й особливо на кривих ділянках шляху рухомий склад повністю або частково може бути відкинутий за межі габариту. У глибоких виїмках покидькові рухомого складу за межі габариту будуть перешкоджати укоси, у зв'язку із чим обсяг завалів у виїмках за інших рівних умов буде більшим, ніж на насипах.
Характер завалів багато в чому залежить від причин зіткненні й сходів рухомого складу. При лобових і бічних зіткненнях, як правило, утворяться складні завали з руйнуванням і телескопічним з'єднанням рухомого складу, значним розвалом або розливом вантажу. Це відбувається в основному через проїзди заборонних сигналів, порушень правил прийому й відправлення поїздів, несправностей пристроїв СЦБ, відходу вагонів зі шляхів станції, а також зіткнень поїздів з вагонами, що зійшли з рейок на сусідньому шляху. Меншим обсягом захаращень характеризуються випадки сходу з рейок рухомого складу при несправному шляху, через зношування деталей або вузлів вагонів, хоча й у цих випадках багато чого залежить від конкретних обставин. Найбільш складні накопичення відбуваються при сході з рейок або зіткненнях рухомого складу в тунелях, на мостах, а також двох зустрічних поїздів. Характерна схема рухомого розташування рухомого складу після сходу вагонів двох зустрічних поїздів показана на мал. 3.1.
Рис. 3.1 Характерне розташування рухомого складу вантажних поїздів після сходу з рейок
З обсягу й характеру завалів рухомого складу визначається час відновлення руху. Воно складається з ряду складових, у тому числі із часу на збір і доставку відбудовних засобів до місця події, розтаскування й піднімання рухомого складу, відновлення шляху, контактної мережі, засобів зв'язку й СЦБ. Багато в чому тривалість відбудовних робіт залежить від оснащеності відбудовних поїздів і порядку організації робіт.
3.2 Основні принципи вибору способів постановки рухливого складу на рейки
Найбільше часто повторювані випадки розташування, що зійшло з рейок рухомого складу наступні:
вагон або локомотив має схід з рейок одного колеса-візка, одного візка повністю або всіх візків. Можливі випадки, коли один візок або обидві візки при сході вийшли з конструктивного шкворневого зчленування з рамою вагона, але перебувають під кузовом рухомого складу, що зійшов, і розташовуються уздовж або поперек шляху. Можливий і такий варіант, коли один з візків або обидві візки вибиті з-під рухомого складу й перебувають на узбіччі або в міжколіях; вагон або локомотив перебуває під кутом до шляху; вагон або локомотив перекинуть і лежить на боці.
Постановка на рейки рухомого складу, що поодиноко зійшов, жадає від виконавців високої майстерності й професіоналізму. Можливо без яких-небудь додаткових ушкоджень рухомого складу й вантажів поставити його на рейки або, у крайньому випадку, поза габаритом. Проте в окремих випадках, на особливо напружених ділянках, з метою швидшого відновлення руху поїздів приймаються рішення про скидання локомотива, що зійшов з рейок, або вагона під укіс. Зрозуміло, це робиться у виняткових випадках із прийняттям всіх можливих заходів щодо зниження додаткових руйнувань рухомого складу й збереженню вантажу. У більшості ж випадків, і особливо на станціях, коли повністю рух не переривається, єдино правильним рішенням буде поставити рухомий склад на рейки. Роботу цю можна виконати за допомогою накаточних башмаків, домкратів, вантажопідйомного крана, причому як при автономному їхньому використанні, так й у відповідних сполученнях цих засобів.
Аналіз накопиченого досвіду відбудовних робіт показує, що, незважаючи на різноманіття можливих варіантів сходу з рейок рухомого складу, є ряд рекомендацій, які допомагають зупинитися на більше раціональному рішенні при виборі способу й механізмів для постановки на рейки або збирання рухомого складу, що зійшов з рейок, вибір варіанту піднімання й необхідних технічних засобів здійснюється залежно від характеру сходу рухомого складу, рельєфу місцевості й наявних поблизу комунікацій, будинків, енергомереж й інших споруджень.
У всіх випадках, коли при сході з рейок візка рухомого складу не вийшли з конструктивного зчленування з рамою, а також не розгорнулися стосовно осі шляху, найбільш прийнятним способом постановки на рейки є накочування рухомого складу за допомогою накаточних башмаків. Не виключається використання накаточних башмаків у сполученні з домкратами й іншими спеціальними пристосуваннями. Найбільше ефективно використаються гідравлічні установки, які дозволяють здійснювати піднімання поїзда-состава-сполуки-рухлив-складу й постановку на рейки.
Застосування накаточних башмаків у значній мірі1 залежить від відстані колісних пар, що зійшли, до рейкової колії, стану шляху в місці сходу, від цілісності конструкції візкового вузла і його зчленування з рамою й можливо тільки при наявності на місці відбудовних робіт локомотива або тягача.
Якщо рухомий склад у результаті сходу перевернувся або лежить на боці, піднімання варто здійснювати вантажопідйомним краном (при необхідності з попереднім розтаскуванням рухомого складу за габарит за допомогою локомотива або тягача) або за допомогою гідравлічних установок і домкратів, наявних на озброєнні відбудовних поїздів.
Для постановки на рейки рухомого складу, що зійшов, як правило, застосовуються вантажопідйомні крани на залізничному ходу й у меншому ступені - на автоходу. До речі, якби ВП мали на озброєнні вантажопідйомні крани на автомобільному ході, то витрати часу на виробництво відбудовних робіт були б значно нижче. Кран на автомобільному або гусеничному ході можна широко використати «з поля», доставляти до місця роботи із шосейних доріг, а на гусеничному ходу - і по бездоріжжю.
Особливу значимість вантажопідйомні крани здобувають при веденні відбудовних робіт у глибоких виїмках, горловинах станцій у випадках, що коли зійшли вагони або локомотиви перебувають на боці, з викинутими з під них ходовими візками.















