144779 (594126), страница 11
Текст из файла (страница 11)
Элементы облицовки по клеящейся прослойке из раствора и мастики необходимо устанавливать горизонтальными рядами снизу вверх от угла поля облицовки.
Мастику и раствор клеящейся прослойки следует наносить равномерным, без потеков, слоем до начала установки плиток. Мелкоразмерные плитки на мастиках или растворах с замедлителями твердения следует устанавливать после нанесения последних по всей облицовываемой площади в одной плоскости.
Отделка участка и всей поверхности интерьера и фасада облицовочными изделиями разного цвета, фактуры, текстуры и размеров должна производиться с подбором всего рисунка поля облицовки в соответствии с проектом.
Элементы облицовки при применении природного и искусственного камня полированной и лощеной фактуры необходимо сопрягать насухо, подгоняя кромки подобранных по рисунку смежных плит с креплением по проекту. Швы плит необходимо заполнять мастикой после заливки пазух раствором и его затвердения.
После облицовки, поверхности из плит и изделий должны быть очищены от наплывов раствора и мастики немедленно.
3.3.4.7 Монтаж подвесных потолков
Устройство подвесных потолков необходимо производить после монтажа и крепления всех элементов каркаса (в соответствии с проектом), проверки горизонтальности его плоскости и соответствия отметкам.
Монтаж плит, панелей стен и элементов подвесного потолка следует производить после разметки поверхности и начинать от угла облицовываемой плоскости. Горизонтальные стыки листов (панелей), не предусмотренные проектом, не допускаются.
Плоскость поверхности, облицованная панелями и плитами, должна быть ровной, без провесов в стыках, жесткой, без вибрации панелей и листов и отслоений от поверхности (при приклейке).
3.3.5 Устройство полов
Перед устройством полов в помещении должны быть выполнены штукатурные и др. работы, связанные с возможностью увлажнения покрытий. При устройстве этих полов и в последующий период до сдачи объекта в эксплуатацию относительная влажность воздуха в помещении не должна превышать 60 %. Сквозняки в помещении не допускаются.
Подстилающие слои, стяжки, соединительные прослойки (для керамических, бетонных, мозаичных и др. плиток) и монолитные покрытия на цементном вяжущем должны в течение 7—10 дней после укладки находиться под слоем постоянно влажного водоудерживающего материала.
3.3.5.1 Подготовка нижележащих слоев
Обеспыливание поверхности необходимо выполнить перед нанесением на поверхность грунтовочных составов, клеевых прослоек под рулонные и плиточные полимерные покрытия и мастичных составов для сплошных (бесшовных) полов.
Огрунтовка поверхностного слоя должна быть выполнена на всей поверхности без пропусков перед нанесением на нижележащий элемент строительных смесей, мастик, клеев и др. (на основе битума, дегтя, синтетических смол и водных дисперсий полимеров) составом, соответствующим материалу смеси, мастики или клея.
Увлажнение поверхностного слоя элементов пола из бетона и цементно-песчаного раствора следует выполнять до укладки на них строительных смесей из цементных и гипсовых вяжущих. Увлажнение производят до окончательного впитывания воды.
3.3.5.2 Устройство стяжек
Монолитные стяжки из бетона, асфальтобетона, цементно-песчаного раствора и сборные стяжки из древесноволокнистых плит должны выполняться с соблюдением правил устройства одноименных покрытий.
3.3.5.3 Устройство покрытий из плиток
Перед укладкой плиток производят разбивку площади пола по заданному рисунку. В углах и в середине помещения, на расстоянии 2 –2,5 м одна от другой по отметке чистого пола, вынесенной на стены, устанавливают маячные плитки. Между маячными плитками укладывают маячные рейки из деревянных брусков высотой, соответствующей требуемой толщине прослойки (15…20 мм). Нижележащий слой обычно смачивают водой не ранее чем за 5 ч. до укладки раствора. В момент укладки раствора поверхность нижележащего слоя быть влажной, но без видимых скоплений воды.
Керамические плитки, до укладки их на прослойку из жесткого раствора на 15-20 мин. Полностью погружают в воду или водный раствор поверхностно активных веществ.
На площадях не менее 10 м2 плитки утапливают в прослойку постукиванием по ним ручным инструментом, до заглубления плиток в раствор на половину их толщины, ширина швов при этом должна составлять 3-6 мм.
Через 2-е суток после укладки плиток с утапливанием их вручную, незаполненные швы между керамическими плитками заполняют жидким цементным тестом. Излишки теста сразу удаляют и очищают покрытие.
В местах примыкания к стенам, перегородкам устраивают плинтуса из цементно-песчаного раствора.
3.3.5.4 Устройство покрытий из древесины и изделий на их основе
В полах поверхность лаг должна быть выровнена слоем Подбивка деревянных клиньев или подкладок под лаги для их выравнивания или опирание лаг на деревянные подкладки запрещается.
Доски дощатого покрытия, паркетные доски, соединяемые между собой боковыми кромками в шпунт, а паркетные щиты - при помощи шпонок, необходимо плотно сплачивать. Уменьшение ширины изделий покрытия при сплачивании должно быть не менее 0,5 %.
Все доски дощатого покрытия должны крепиться к каждой лаге гвоздями длиной в 2—2,5 раза больше толщины покрытия, а паркетные щиты — гвоздями длиной 50-60 мм. Гвозди следует забивать наклонно в пласть досок дощатого покрытия и в основание нижней щеки паза на кромках паркетных досок и паркетных щитов с втапливанием шляпок. Забивка гвоздей в лицевую поверхность паркетных досок и паркетных щитов запрещается.
Стыки торцов досок дощатых покрытий, стыки торцов и боковых кромок с торцами смежных паркетных досок, а также стыки параллельных лагам кромок смежных паркетных щитов следует располагать на лагах.
Стыки торцов досок покрытия должны перекрываться доской (фризом) шириной 50-60 мм, толщиной 15 мм, врезанной заподлицо с поверхностью покрытия. Фриз прибивают к лаге гвоздями в два ряда с шагом (вдоль лаги) 200-250 мм. Стыкование торцов без перекрытия фризом допускается только в двух-трех пристенных досках покрытия; стыки не должны находиться напротив дверных проемов и должны располагаться на одной лаге. При сопряжении паркетных досок, а также паркетных щитов с опиленными кромками на одних из них должен быть выполнен паз, на других — гребень, соответствующие имеющимся на других кромках.
3.3.5.5 Устройство покрытий из полимерных материалов
Линолеум, ковры, рулонные материалы из синтетических волокон и поливинилхлоридные плитки перед приклейкой должны вылежаться до исчезновения волн и полностью прилегать к основанию, их необходимо приклеивать к нижележащему слою по всей площади, за исключением случаев, оговоренных в проекте.
Прирезку стыкуемых полотнищ рулонных материалов необходимо производить не ранее 3-х суток после основной приклейки полотнищ. Кромки стыкуемых полотнищ линолеума должны быть после прирезки сварены или склеены.
В зонах интенсивного движения пешеходов устройство поперечных (перпендикулярно направлению движения) швов в покрытиях из линолеума, ковров и рулонных материалов из синтетических волокон не допускается.
3.4 Технологическая карта на устройство дощатых полов
3.4.1 Область применения
Технологическая карта разработана на устройство дощатых полов в помещении спортивного зала физкультурно-оздоровительного комплекса.
В состав работ, рассматриваемых картой, входят:
– устройство бетонного подстилающего слоя М200;
– устройство гидроизоляции изопластом;
– укладка лаг;
– настилка шпунтовых досок;
– острожка провесов полов с очисткой поверхности от стружки и пыли;
– установка плинтусов и вентиляционных решеток.
3.4.2 Организация и технология строительного процесса
До начала работ по устройству полов должны быть выполнены в соответствии с проектом мероприятия по стабилизации, предотвращению пучения и искусственному закреплению грунтов, понижению грунтовых вод, а также примыкания к деформационным швам, каналам, приямкам, сточным лоткам, трапам и т. д. Элементы окаймления покрытия необходимо выполнить до его устройства.
Поверхностный слой основания перед укладкой на него бетонного подстилающего слоя следует упрочнить на глубину не менее 40 мм слоем щебня или гравия фракции 40-60 мм прочностью не менее 20 МПа (200 кгс/см2) с устройством цементной стяжки.
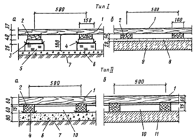
Конструкция дощатого пола приведена на рисунке 11
1 - деревянное покрытие, 2 – лага, 4 – два слоя толя, 6 – подстилающий слой, 7– грунт основания, 10 – связи между лагами
Рисунок 11
Работы по устройству оснований под полы состоят из восстановления грунтовых оснований, устройства подстилающего слоя и выполнения цементно-бетонных подготовок и стяжек. Указанные работы должны быть выполнены в соответствии с проектом на основании СНиП 2.03.3-88 "Полы" (разделы 3, 5, 6 и 7).
Грунтовое основание под полы должно быть спланировано по профилю и уровню проектных отметок и уплотнено в соответствии со СНиП 3.02.0-87 "Земляные сооружения, основания и фундаменты".
Грунт основания при уплотнении и планировке должен быть талым. Планировка и уплотнение грунта со снегом и льдом запрещаются.
Щебеночный подстилающий слой следует выполнять из щебня естественного камня или из нераспадающихся доменных шлаков фракции 25-75 мм.
Полы настилают по лагам, уложенным на подкладки. Работу выполняют звенья из двух плотников «паркетным способом», укладывая первую доску у стены гребнем к стене. Доска прикрепляется к лагам гвоздями (длина гвоздей должна быть в 2,5 раза больше толщины доски), забиваемыми в нижнюю щепку паза наклонно. Шляпка гвоздя втапливается в древесину с помощью добойника. В паз первой доски вводят гребень следующей, и ударами молотка через деревянную прокладку сжимают доски, аналогично прикрепляя их к лагам. Ровность поверхности пола проверяют двухметровой фугованной рейкой. При этом провес (зазор) не должен превышать 2 мм. После настилки дощатые полы острагивают машиной для острожки досок. Места, недоступные для машины, острагивают электрорубанком. Зазоры между покрытиями из досок, паркетных досок и щитов и стенами следует перекрывать плинтусами или галтелями.
При устройстве деревянных полов следует иметь в виду следующее:
– доски и бруски выбирают с возможно меньшим количеством сучков, удаление которых необходимо осуществлять высверливанием их и закладкой деревянных пробок;
– доски и бруски укладывают вдоль зала, а их стыки устраивают вразбежку и опирают на лаги;
– крепят доски (бруски) к лагам гвоздями и обязательно косым забоем.
3.4.3 Оборудование, применяемое при устройстве дощатых полов
Перечень машин, оборудования, инструментов, приспособлений и инвентаря, рекомендуемого при устройстве полов, приведен в таблице 14.
Таблица 14
| Наименование машин и оборудования | Марка машины оборудования | Основные параметры | Назначение машины | Примечание |
| Машина для приготовления и подачи жестких растворов | СО-126А СО-165 | Производительность до 25 м3/ч | Приготовление и транспортирование жестких цементно-песчаных растворов от места выгрузки до места укладки | Выпускается заводами Минстройдормаша |
| Виброрейка с шириной захвата 15 м | СО-131 | Производительность до 35 м2/ч | Уплотнение растворов и бетонов покрытий и подготовок полов | Выпускается заводами Минстройдормаша |
| Виброрейка с шириной захвата 30 м | СО-132 | Производительность до 30 м2/ч | Уплотнение растворов и бетонов покрытий и подготовок полов | Выпускается заводами Минстройдормаша |
| Пылесос промышленный | ПО-21 | Производительность до 100 м3/ч | Очистка поверхностей от пыли | Выпускается заводами Минэлектротехпрома |
| Машина для затирки цементных стяжек | СО-89 | Производительность до 50 м2/ч | Затирка поверхностей цементно-песчаных полов и стяжек | Выпускается заводами Минстройдормаша |
| Машина для заглаживания бетонных поверхностей | СО-135 | Производительность 60-100 м2/ч | Заглаживание бетонных поверхностей лопастями | Выпускается заводами Минстройдормаша |
| Пила электрическая стационарная | ИЭ-6902 | Диаметр пилы 200 мм | Распиловка досок | Выпускается заводами Минстройдормаша |
| Машины для нарезки деформационных швов | ДС-133 | Габариты 23401540 мм производительность 100 м/час - продольная 30 м/час - поперечная | з-д «Октябрьская кузница» Минстройдормаша | |
| Машины для уборки пыли | КУ-402 | Производительность 800 м2/ч | Для очистки нижележащего слоя | Заводы Минстройдормаша |
| Машины для уборки пыли шириной захвата 08 м | КУ-405А | Производительность 800 м2/ч | Для очистки нижележащего слоя | Заводы Минстройдормаша |
| Машина для острожки деревянных полов | СО-97А | Производительность до 40 м2/ч | Острожка дощатых полов и из паркетных клепок | Выпускается заводами Минстройдормаша |
| Машина для шлифования деревянных полов | СО-155 | Производительность 40-45 м2/ч | Шлифование и циклевка полов из паркета | Выпускается заводами Минстройдормаша |
| Вакуумно-щеточная подметательная машина | КУ-402 | Производительность до 800 м2/ч | Очистка поверхностей от мусора | Выпускается заводами Минстройдормаша |
| Паркетно-шлифовальная машина для обработки труднодоступных мест | СО-139 | Диаметр шлифовального диска 175 мм | Шлифовка паркетных полов под батареями и в др. труднодоступных местах | Выпускается заводами Минстройдормаша |
| Растворосмеситель | СО-23В СО-26В | Для приготовления ц/п растворов | Выпускается заводами Минстройдормаша | |
| Машина ручная плоскошлифовальная размер платформы 110225 мм | ИЭ-2401* | Шлифовка паркетных и дощатых полов | Выпускается заводами Минстройдормаша | |
| Пила ручная дисковая 65 мм | ИЭ-5107А | Распиловка досок и брусов резка паркетных досок | ||
| Тележка для перевозки раствора грузоподъемностью 200 кг вместимостью 01 м3 | - | Для подвозки растворов к рабочему месту | ||
| Пылесос промышленный | КУ-002 | Производительность 250 м2/ч | Для обеспыливания полов | |
| Краскораспылитель пневматический | СО-6Б | Производительность 01 л/мин | Для лакировки поверхности полов | |
| Рубанок электрический шириной строгания 75 100 мм | ИЭ-5709 | Для строгания и фугования деревянных изделий | ||
| Линейка металлическая | ГОСТ 427-75 | Для измерений | ||
| Уровни строительные типов УС2 УС3 | ГОСТ 9416-83 | Для проверки горизонтальности поверхности | ||
| Правило окованное одностороннее И1-170 | ТУ 22-3945-77 | Для выравнивания прослоек раствора | ||
| Молоток плотничный МПЛ МПА | ГОСТ 11042-83 |
3.4.4 Проект производства работ
3.4.4.1 Общие положения
















