125910 (593180)
Текст из файла
Донецкий национальный технический университет
Квалификационная работа
На тему:
Разработка динамической модели привода с фрикционным вариатором
Выполнил:
Студент гр. МС-03н: Касатка П.О.
Руководитель: Деркач О.В.
Консультант: Горобець I.О.
ДОНЕЦЬК 2007
РЕФЕРАТ
Бакалаврская работа: 38 страниц, 15 рисунков, 1 приложение, 1 таблица, 5 источников.
В данной бакалаврской работе необходимо разработать динамическую модель привода, содержащего фрикционный вариатор; составить дифференциальные уравнения, которые описывают динамические процессы в приводе.
Объект исследования: привод с фрикционным вариатором.
Цель работы: необходимо разработать динамическую модель привода, содержащего фрикционный вариатор, с помощью программного пакета MatLab Sіmulіnk, для обеспечения необходимых параметров переходного процесса.
ФРИКЦИОННЫЙ ВАРИАТОР, ПЕРЕХОДНЫЙ ПРОЦЕСС, ДИФФЕРЕНЦИАЛЬНОЕ УРАВНЕНИЕ, ДИНАМИЧЕСКАЯ МОДЕЛЬ, ГЕОМЕТРИЧЕСКОЕ СКОЛЬЖЕНИЕ, МОМЕНТ ИНЕРЦИИ
Содержание
Введение
1 Общие сведения о фрикционных вариаторах
2 Исходные данные
3 Проектный расчет фрикционного вариатора по контактным напряжениям
4 Разработка динамической модели
4.1 Структурная схема объекта и процесса в нем
4.2 Анализ допущений и факторов, принимаемых при создании модели
4.3 Динамическая модель
4.4 Определение инерционных характеристик подвижных деталей и жесткости элементов привода
4.5 Реализация динамической модели в Simulink
5 Анализ динамических процессов в объекте
5.1 Анализ динамических процессов во временной области
5.2 Представление динамической модели в пространстве состояний
5.3 Проектирование модального регулятора
Заключение
Перечень ссылок
Приложение
Вступление
Большинство современных машин и установок создается по схеме: двигатель – передача – рабочий орган (исполнительный механизм). Необходимость введения передачи как промежуточного звена между двигателем и рабочими органами машины связано с решением задачи повышения производительности, т.е. увеличения их быстродействия.
Время срабатывания фрикционной передачи входит в общее время рабочего цикла машины, следовательно, влияет на производительность машины в целом. Проблема повышения производительности непосредственно связана с разработкой методов динамического исследования машин и выбора их оптимальных параметров и структуры.
С помощью динамической модели производится анализ системы, без участия реального объекта и на ее основе можно построить систему управления объектом, и пронаблюдать поведение системы управления и объекта.
1 Общие сведения о фрикционных вариаторах
Фрикционной называют передачу, работа которой основана на использовании сил трения, возникающих в месте контакта двух тел вращения под действием сжимающей силы Q.
Фрикционные передачи вращательного движения можно разделить на две основные группы: передачи нерегулируемые, т.е. с условно постоянным передаточным отношением, и передачи регулируемые, позволяющие плавно изменять передаточное отношение (бесступенчатое регулирование) (рис. 1.1).
Одной из наиболее простых и во многих случаях достаточно надёжной является фрикционная передача, состоящая в простейшем случае из двух колёс (катков), закреплённых на ведущем и ведомом валах. Для передачи движения без скольжения необходимо приложить к одному из колёс силу Q, достаточную для возникновения трения в месте контакта, при этом касательная сила их сцепления равна по величине передаваемого окружному усилию [1].
Рисунок 1.1 – Лобовой фрикционный вариатор
Достоинствами фрикционных передач являются: плавность и бесшумность в работе, простота конструкции, невозможность поломки при резком изменении крутящего момента на одном из валов благодаря возможности проскальзывания катков, возможность бесступенчатого регулирования скоростей на ходу, без остановки передачи.
Недостатками являются: необходимость прижимного устройства, большие давления на валы и опоры от действия внешней силы прижимного устройства, что увеличивает их размеры и делает передачу громоздкой, а также ограничивает величину передаваемой мощности; непостоянство передаточного отношения из-за проскальзывания катков; сравнительно высокий износ.
Фрикционные вариаторы применяют как в кинематических, так и силовых передачах в тех случаях, когда требуется бесступенчатое регулирование скорости (зубчатая передача не позволяет такого регулирования). Фрикционные вариаторы используются станкостроении, в литейных машинах, подъемных и транспортных машинах, приводах летательных аппаратов и металлорежущих станках, роботах и манипуляторах, цифровых следящих системах, механизмах для сельского хозяйства и других изделиях.
Значение фрикционных вариаторов как бесступенчатых регуляторов скорости возрастает в связи с широким фронтом работ по автоматизации управления производственными процессами.
Один из катков фрикционного вариатора изготовляют из качественных сталей (40, 50, ШХ15 и т.д.), а другой – из серого чугуна, текстолита, фибры и других пластмасс.
Из всех типов фрикционных бесступенчатых передач с твердыми телами касания лобовые фрикционные вариаторы конструктивно наиболее просты. В таком вариаторе возможно перемещать колесо по валу в направлениях, указанных стрелками, при этом передаточное отношение будет плавно меняться в соответствии с изменением рабочего диаметра диска.
Геометрическое скольжение вариатора определяют по формуле:
знак «+» - для ведущего колеса, знак «-» - для ведущего диска (рис 1.2 а и б),
где
- радиус диска, при
скольжение максимальное;
b – ширина диска.
Рисунок 1.2 – Лобовой фрикционный вариатор:
а) с ведущим колесом; б) с ведущим диском
Основной недостаток лобовых вариаторов – большое геометрическое скольжение, поэтому в силовых передачах их диапазон регулирования передаточного отношения приходится ограничивать
.
При ведущем колесе его радиус определяют по формуле:
;
где
.
При проектном расчете принимают:
- коэффициент запаса сцепления;
- минимальный рабочий радиус диска.
Рабочие поверхности стальных фрикционных колес выполняются шлифованными с шероховатостью Ra 0,63 ... 0,32 мкм.
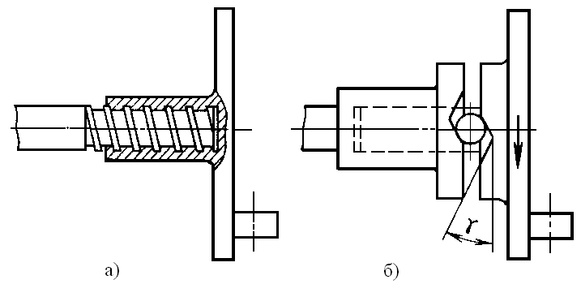
Соединение дисков с валами рекомендуется осуществлять шариковыми или винтовыми нажимными устройствами (рис. 1.3).
Во избежание чрезмерного скольжения центральную часть диска использовать не следует.
Расчет на контактные напряжения следует вести на минимальном диаметре диска, при котором требуется наибольшая сила нажатия и скольжение достигает наибольшей величины.
Рисунок 1.3 – Нажимные устройства: а) винтовое; б) шариковое
2 Исходные данные
Рассчитаем лобовую фрикционную передачу для привода ленточного конвейера при условии, что ведущее колесо передает мощность Р = 2 кВт при угловой скорости ω1 =90 рад/с ведомому колесу, вращающемуся с угловой скоростью ω2max = 45 рад/с [2].
В качестве прижимного устройства выбираем винтовое прижимное устройство, обеспечивающее постоянную силу прижатия.
Назначаем материалы колес: меньшего — текстолит ПТК, а большего — сталь 45.
Принимаем диапазон регулирования передаточного отношения
Тогда,
Передаточное отношение определяем по формуле:
Крутящий момент Мn, передаваемый ведущим колесом
Для передачи заданной мощности, выраженной окружной силой
необходимо обеспечить условие
где
— сила трения между катками.
Тогда
где β – коэффициент запаса сцепления колес, β=1,3.
Момент трения определяем по формуле:
3 Проектный расчет фрикционного вариатора
по контактным напряжениям
Определим диаметр d1 меньшего колеса из условия контактной прочности. Принимаем коэффициент запаса сцепления колес β=1,3; коэффициент трения по длине контактной линии f=0,3; допускаемое контактное напряжение (текстолит по стали) [σ]k = 70 Н/мм2, модуль упругости для меньшего колеса (текстолит) Е1=6х103 МПа, для большего колеса (сталь) Е2 = 2,15х105 МПа.
Приведенный модуль упругости Е по формуле:
Диапазон регулирования:
где
.
При проектном расчете принимают
Конструктивно наибольший диаметр диска:
Геометрическое скольжение при ведущем колесе:
Остальные размеры колес принимают конструктивно.
4 Разработка динамической модели
4.1 Структурная схема объекта
Рассматриваемая система состоит из электродвигателя, который создает момент двигателя Мn, муфты, ведущего колеса, ведомого диска, подшипников качения и рабочего органа. Двигатель создает крутящий момент с угловой скоростью ω, который передается через муфту на ведущее колесо, с него на ведомый диск, затем на рабочий орган (рис. 3.1). Винтовое прижимное устройство обеспечивает передачу крутящего момента.
Рисунок 4.1 – Расчетная схема привода.
4.2 Анализ допущений, принимаемых при создании модели
Для создания модели принимаем электродвигатель, обеспечивающий постоянный крутящий момент, муфты с η =0,98, шариковые подшипники качения с η=0,99 и роликовые подшипники качения с η=0,97. Деформации колеса и диска не учитываются.
Рисунок 4.2 – Модель лобовой передачи
4.3 Динамическая модель
Модель имеет 4 степени свободы и движение тел, входящих в модель, описывается системой дифференциальных уравнений, на основании результатов решения которой получим динамические параметры привода. Система дифференциальных уравнений имеет вид [3]:
где Is, Ip – приведенные моменты инерции вращающихся деталей двигателя и рабочего органа;
I1, I2 – приведенные моменты инерции колеса и диска соответственно;
φs, φp, φi – угловые координаты вращающихся масс;
Характеристики
Тип файла документ
Документы такого типа открываются такими программами, как Microsoft Office Word на компьютерах Windows, Apple Pages на компьютерах Mac, Open Office - бесплатная альтернатива на различных платформах, в том числе Linux. Наиболее простым и современным решением будут Google документы, так как открываются онлайн без скачивания прямо в браузере на любой платформе. Существуют российские качественные аналоги, например от Яндекса.
Будьте внимательны на мобильных устройствах, так как там используются упрощённый функционал даже в официальном приложении от Microsoft, поэтому для просмотра скачивайте PDF-версию. А если нужно редактировать файл, то используйте оригинальный файл.
Файлы такого типа обычно разбиты на страницы, а текст может быть форматированным (жирный, курсив, выбор шрифта, таблицы и т.п.), а также в него можно добавлять изображения. Формат идеально подходит для рефератов, докладов и РПЗ курсовых проектов, которые необходимо распечатать. Кстати перед печатью также сохраняйте файл в PDF, так как принтер может начудить со шрифтами.















