269095 (593160), страница 7
Текст из файла (страница 7)
М – магниевый протектор;
Э – ЭНЕС;
В – вспомогательный электрод;
И – вывод для измерения тока в трубе.
3.2.2 Стационарный неполяризующийся долгодействующий электрод сравнения типа ЭНЕС с датчиком потенциала
При проведении электроизмерительных работ используют неполяризующиеся медносульфатные электроды. Стационарный медносульфатный долгодействующий электрод с датчиком потенциала (вспомогательным электродом) используют как электрод сравнения при измерении разности потенциалов труба – земля и поляризационного потенциала, а также в качестве датчика в цепи блока управления автоматических преобразователей.
Рис. 3.2 Долгодействующий неполяризующийся электрод сравнения со вспомогательным электродом
Долгодействующий электрод типа ЭНЕС состоит из пластмассового корпуса, в верхнюю часть которого ввинчена пробка со стержнем из красной меди марки М1-Т-КР 7. Дно электрода закрыто ионообменной мембраной и пористой керамической диафрагмой. Полость электрода заполняют насыщенным раствором медного купороса. Датчик потенциала (вспомогательный электрод) представляет собой квадратную пластину размером 25×25 мм из легированной стали марки 1Х18Н9Т, вмонтированную в пластмассовое гнездо. Медный стержень и вспомогательный электрод снабжены проводами длиной не менее 2 м. Габаритные размеры электрода: высота – 110 мм, диаметр – 120 мм.
3.3 Измерение поляризационного потенциала
Поляризационный потенциал (электрохимический потенциал) определяет кинетику электродный реакций и характеризует защищенность сооружения от коррозии. Пространственно он локализован в области двойного слоя на границе металл – электролит.
Рис. 3.3 Граница металл-грунт и эквивалентная электрическая схема катодной защиты
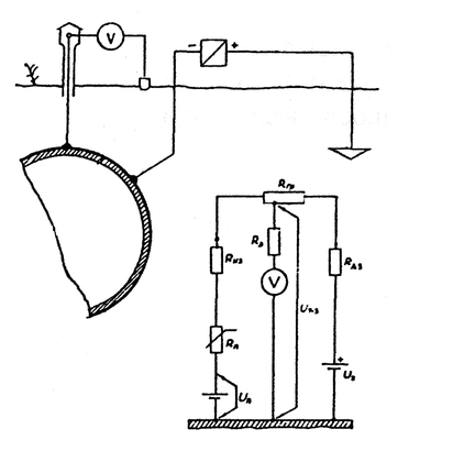
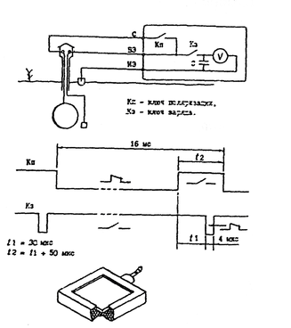
Метод отключения тока поляризации вспомогательного электрода заключается в измерении потенциала отключения вспомогательного образца-датчика (имитирующего дефект изоляции трубы) в момент его отключения от трубы.
Рис. 3.4 Измерение поляризационного потенциала методом отключения тока поляризации вспомогательного электрода. Вспомогательный электрод
Коммутирующее устройство состоит из накопительного конденсатора емкостью 4,7 мкФ и реле, обеспечивающего попеременную коммутацию цепей «датчик – трубопровод» и «датчик – электрод сравнения». Этот метод не требует отключения системы ЭХЗ. Для измерения применяют приборы: ПКО, ПКИ-02, мультиметр 43313.1, которые совмещают в себе вольтметр и коммутирующее устройство. Продолжительность коммутации цепи «датчик электрод сравнения» не менее 5 мс, продолжительность коммутации цепи «датчик - трубопровод» не менее 50 мс. Вспомогательный электрод представляет собой стальную пластину определенного размера. Одну из сторон пластины изолируют. Плоскость датчика при установке должна быть ориентирована перпендикулярно оси трубы. Важно, чтобы датчик был максимально приближен к трубе. При проведении измерений по этому методу в измеряемую величину всегда входит и падение напряжения (градиент поля токов катодной защиты) между электродом сравнения и датчиком. Поэтому необходимо, чтобы электрод сравнения был максимально приближен к датчику, но при этом не экранировал его.
Применение метода отключения вспомогательного образца ограничивается удельным сопротивлением грунта в месте измерения. В высокоомных грунтах из-за малой силы тока, протекающего через датчик, поляризация его протекает очень медленно, и получить достоверные данные практически невозможно. Еще одним ограничением применения этого метода является уровень переменной составляющей разности потенциала труба – земля, который особенно велик у точек дренажа УКЗ. Величину переменной составляющей можно оценить тем же мультиметром; если переменная составляющая превышает 8В, то измерения этим методом проводить нельзя, так как возможны значительные погрешности в результатах измерений.
На электромонтажном щитке КИП должны быть устройства для замыкания проводов от вспомогательного электрода и контрольного вывода. Вспомогательный электрод должен быть постоянно соединён с защищаемым трубопроводом и его отключают только на время измерений. Схемы измерения поляризационного потенциала в контрольно – измерительном пункте представлены на рисунке 15.
Рис. 3.5 Измерение поляризационного потенциала в специальных контрольно-измерительных пунктах, оборудованных долгодействующим электродом сравнения и вспомогательным электродом
IV. Безопасность и экологичность проектных решений
4.1 Выполнение санитарных и противопожарных норм проектирования. Правила техники безопасности
Технологическая часть проекта КС была разработана в соответствии с действующими нормами и правилами по взрывной, взрывопожарной и пожарной безопасности, а также правил пожарной безопасности ППВБ-84 с выполнением следующих мероприятий:
-
противопожарные разрывы между зданиями и сооружениями на территории компрессорных станций, выдержаны в соответствии с правилами норм и СНиП;
-
на территории площадок КС проектом предусмотрен кольцевой проезд вокруг технической зоны;
-
предусмотрен запасной выезд с территории КС;
-
внутриплощадочные проезды обеспечивают подъезд к основным зданиям как производственного, так и вспомогательного назначения, в случае возникновения пожара;
-
на территории площадок КС построены пожарный водопровод, а для защиты зданий и сооружений от грозовых ударов молнии, предусмотрена установка молниеотводов;
-
выполнены меры по расположению оборудования и ширине проходов;
-
предусмотрена тепловая изоляция нагретых поверхностей;
-
территория площадок по периметру ограждена металлическими сетчатыми панелями, закрепленными на железобетонных столбах, высотой 2,15 м (серии 3.017-1);
-
по периметру территории площадок, с внутренней стороны ограды, предусматривается охранная зона пятиметровой ширины с устройством периметральной охранной сигнализации;
-
освещение территории площадок в ночное время осуществляется светильниками, установленными на прожекторных мачтах.
4.1.1 Основные производственные опасности и вредности на газопроводе
По эксплуатируемому газопроводу перекачивается газ следующего состава
| Компонент | CH4 | C2H6 | CO2 | N2 | C4H10 |
| Объемное содержание | 97,75 | 0,8 | 0,3 | 0,8 | 0,35 |
Основной компонент газа - метан, не токсичен, но при больших концентрациях в воздухе вызывает удушье. Температура самовоспламенения 537 °С, минимальная энергия поджигающей искры 0,28 МПа. Пределы воспламенения в воздухе 5,3 % и 15 % по объему воздуха. Токсичность газу придает метанол, который используется как средство борьбы с образованием кристаллогидратных пробок в газопроводе.
В приборах КИПа используется ртуть, которая является ферментным ядом. ПДК ртути в воздухе рабочей зоны 0,01мг/м3.
В воздухе рабочей зоны может так же присутствовать окись углерода, которая является кровяным ядом. ПДК в воздухе рабочей зоны 20 мг/м3. Газотурбинные установки при работе создают шум, экспериментальный уровень которого составляет 96 - 100 дБА, что значительно превышает допустимые уровни звука на рабочих местах. Наличие вибрации от газотурбинных установок (ГТУ), компрессоров, а также высасывающего и нагнетательного трубопровода с уровнем шума 40 дБА может вызывать виброболезнь у работающих.
4.1.2 Мероприятия по технике безопасности
Оборудование КС отвечает требованиям, обеспечивающим надежную и безопасную работу всей КС в целом. КС имеет отключающую арматуру от магистрального газопровода на входе и выходе КС, а также на входе и выходе каждого ГПА, что позволяет быстро прекратить подачу газа на КС при возникновении аварийной ситуации. Эта арматура снабжена дистанционным и ручным управлением. Для надежной и безаварийной эксплуатации нагнетателей предусмотрена установка защитной разметки на всасывающем трубопроводе, предохраняющая колесо работающего нагнетателя от попадания в него посторонних предметов.
В здании компрессорного цеха предусматривается разделительная стенка между помещением турбины и нагнетателя. Помещения машзала - категории «Г» по пожарной опасности. Помещение нагнетателя категории «Г» по пожарной опасности, класс взрыво- и пожароопасности по ПУЭ-«В-1а». В помещениях зданий сооружений КС установлены пожарные извещатели автоматического и ручного действия.
Предусмотрена установка сигнализатора взрывоопасной концентрации газа в помещениях с выдачей показаний сигнала в операторную и включение аварийно-вытяжной вентиляции. Помещение машзала нагнетателей было оборудовано необходимыми подъемно транспортными механизмами, обеспечивающими нормальный ремонт и обслуживание ГПА. Края нагнетательного зала - во взрывобезопасном исполнении.
Все электрооборудование во взрывоопасных помещениях и наружных установках применяются во взрывобезопасном исполнении.
Оборудование КС имеет необходимые средства контроля, автоматики, предохранительную аппаратуру (сборные и обратные краны, обеспечивающие надежность, безаварийность работы и безопасность эксплуатации, всех систем).
Предусмотрен аварийный останов компрессорной станции и всего газа с технологических коммуникаций от одной кнопки.
Также выполнены требования следующих норм и правил:
1. СНиП III-42-80 «Магистральные трубопроводы. Правила производства и приемки работ».
2. СНиП 2.05.06-85 «Магистральные газопроводы. Нормы проектирования».
3. «Стандартные нормы проектирования промышленных предприятий» СП 245-71.
4. СНиП 11-90-81 «Производственные здания промышленных предприятий».
5. «Инструкция по проектированию силового и осветительного оборудования промышленных предприятий» СН 357-77.
6. «Правила устройства электроустановок» ПУЭ-87.
7. ССБТ ГОСТ 12.1.005-88. «Воздух рабочей зоны. Общие санитарно-гигиенические требования».
8. «Правила безопасности в газовом хозяйстве» 1980 г.
9. «Правила технической эксплуатации магистральных газопроводов» 1982 г.
10. «Правила устройства и безопасной работы сосудов, работающих под давлением» 1971 г.
11. ССБТ ГОСТ 12.1.003-76 «Шум, общие требования безопасности».
12. СНиП 11-2-80. «Противопожарные нормы проектирования зданий и сооружений».
13. ССБТ ГОСТ 12.4.026-76. «Цвета сигнальные и знаки безопасности».
14. ССБТ ГОСТ 12.2.020-76. «Взрывозащищенное электрооборудование».
4.1.3 Технические требования к оборудованию и рабочему инструменту, гарантирующие безопасность труда
Предусмотрены меры безопасности обслуживания оборудования:
• установка кожухов на движущихся частях и деталях оборудования;
• ограждения на переходных мостиках и площадках обслуживания арматуры и оборудования.
На КС взрывоопасные цехи и установки имеют защиту от прямых попаданий молнии и вторичных ее проявлений.
















