125556 (593128), страница 4
Текст из файла (страница 4)
Также на вход должна поступить информация об инструменте и заготовке, которые будут использоваться в процессе обработки данного изделия.
Рисунок 2 - Нулевой уровень функциональной модели
Работать с данной системой будут технологи, отвечающие за технологический процесс, программисты, отвечающие за корректную работу всех программных модулей системы и процесс постпроцессирования в код управляющей программы системы ЧПУ. Совместно с наладчиком станков с ЧПУ будет осуществляться ввод данных об инструменте и заготовке, в частности об их взаимном расположении друг относительно друга. Оператор будет вводить данные коррекции после правки кругов. Иногда функции оператора и наладчика станков с ЧПУ могут объединяться в одном специалисте.
Работа системы должна осуществляться на основании следующих документов:
-
технического паспорта станка, в котором содержится информация об особенностях его эксплуатации, ограничениях перемещений по осям, режимах работы и габаритных ограничениях заготовки и инструмента;
-
инструкции по программированию ЧПУ, в которой содержится справочная информация о языке программирования, вспомогательных и служебных функциях, ограничениях системы ЧПУ;
-
Санитарные нормы и правила (СНИП) по работе на шлифовальных станках содержит методологию по способам безопасного ведения обработки;
-
Стандарт предприятия (СТП) предприятия на изготовление осевого режущего инструмента содержит всю технологическую базу по обработке данного инструмента, накопленную за все время его работы, а также возможные варианты решения спорных вопросов по конструкции изделия и технологии его обработки.
Результатом работы будет выдача управляющей программы для системы ЧПУ, карты наладки для данного оборудования или кода ошибки, если введенных данных не достаточно, либо они ошибочны и выполнить расчеты и преобразования по ним не возможно.
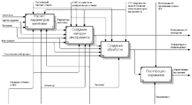
На первом уровне система разбивается два модуля (рисунок 3).
Первый модуль занимается расчетом перемещений инструмента, учитывая технологические и технические ограничения. Все входные данные поступают именно на этот модуль и соответственно все их преобразования также происходят в этом модуле. В связи с этим, этот модуль должен работать со всеми выше перечисленными документами. Работать с этим модулем должны также все выше перечисленные люди.
Модуль будет выдавать два вида файлов. Одна группа файлов будет являться управляющей программой системы ЧПУ, две другие группы файлов системные, обеспечивающие связь первого модуля со вторым. Первая группа системных файлов должна передавать исходные данные, содержащие информацию об оснащении станка (тип оснастки, инструмент, заготовка, их взаимное расположение). Вторая группа файлов должна содержать рассчитанные данные (траектории всех перемещений инструмента).
Рисунок 3 - Первый уровень функциональной модели
Второй модуль обеспечивает визуализацию обработки в анимированном, фотореалистичном виде. Данный модуль обеспечивает возможность наглядно проследить весь процесс обработки и введя необходимые поправки избежать получения бракованной продукции. Также этот модуль позволит провести процесс отладки и оптимизации программы на этапе ее создания.
Работать с этим модулем должны технолог и наладчик станков с ЧПУ. Работа модуля основывается на техническом паспорте станка и СТП предприятия на изготовление осевого режущего инструмента. Результатом работы данного модуля является создание карты наладки и проверка результата обработки на аномалии (отклонение размеров от заданных, геометрия поверхностей, наличие зарезов, как на изделии, так и на оснастке).
На втором уровне, модуль расчета перемещений инструмента можно разделить на четыре этапа (рисунок 4).
Первый этап – это моделирование заготовки [4, 5]. На нем задаются параметры заготовки (размеры, геометрические особенности, вылет из патрона). Все это производится на основании технического паспорта станка и СТП предприятия на изготовление осевого режущего инструмента.
Рисунок 4 - Второй уровень функциональной модели
Заданием параметров занимается технолог, но в процессе работы параметры могут менять в определенных пределах наладчик станков с ЧПУ и оператор. После окончания ввода данных параметры заготовки в оцифрованном виде передаются на следующий этап. Следующий этап – моделирование наладки инструмента. В этом этапе задаются типы используемых кругов, их размеры и координатные привязки к системе координат станка. Профиль каждого круга должен быть поставлен в соответствие поверхности (или группе поверхностей) которую он обрабатывает, поэтому при подборе кругов и создании их наладки необходимо использовать данные чертежа изделия. При этом необходимо руководствоваться техническим паспортом станка, СТП предприятия на изготовление осевого режущего инструмента и СНИП по работе на шлифовальных станках. Вводом данных должны заниматься те же люди, что и на первом этапе. По результату этого этапа создается первая группа системных файлов, содержащих информацию об оснащении. Те же данные, что и в файле передаются на следующий этап. Третий этап – моделирование обработки. Самый важный этап, на котором создается траектория обработки. Траектория должна учитывать особенности технологического процесса, и применяемого инструмента. Ввод данных на этом этапе осуществляет только технолог. На этот этап оказывают влияние те же документы, что и на втором этапе. На этом этапе формируется группа системных файлов, содержащих информацию обо всех перемещениях инструмента и заготовки, та же информация передается на следующий этап. На трех выше перечисленных этапах при определенных условиях необходимо вводить поправки по результатам визуализации. Это сделано для того, чтобы система могла работать в условиях реального производства, где невозможно учесть всех случайностей, как то: отсутствие заказанного инструмента, отклонений заготовок, наличия оснастки и т.д. Последний этап – постпроцессирование. На этом этапе вся набранная системой информация преобразуется в управляющую программу системы ЧПУ. Преобразование осуществляется программистом на основании инструкции по программированию ЧПУ станка. Этап моделирования обработки в свою очередь можно разделить еще на два этапа (рисунок 5). Первый этап – анализ геометрии изделия. На этом этапе технолог производит настройку приложения для максимально объективного преобразования данных в графическую информацию. Сюда необходимо подать информацию об оснащении и об инструменте. Здесь технолог вводит все уточнения по конструкции изделия, которых не было в чертеже. Все уточнения вводятся на основании СТП предприятия на изготовление осевого режущего инструмента.
Рисунок 5 - Третий уровень функциональной модели
В результате проведенного анализа на следующий этап передаются все геометрические параметры в оцифрованном виде [24]. Второй этап – назначение технологических переходов. На этом этапе технолог выделяет отдельные элементарные операции в соответствии с технологическим процессом и применяемым инструментом. Определяет все траектории движений на каждой операции в соответствии с СТП предприятия на изготовление осевого режущего инструмента, СНИП по работе на шлифовальных станках и техническим паспортом станка. По итогам этого этапа выдается информация о перемещениях в группу системных файлов и на этап постпроцессирования.
-
2.2 Алгоритм работы программного модуля
Обобщенный алгоритм работы программного модуля мехатронной системы станка с ЧПУ показан на рисунке 6.
Рисунок 6 - Алгоритм работы программы
Первым этапом работы с программным модулем является ввод исходных данных. Исходные данные должны включать геометрические свойства изделия, заготовки, инструмента, особенности технологии обработки, конструктивные особенности оснастки и так далее [4, 5, 6, 7, 8, 9, 10]. Все эти параметры должны вводиться в удобной для пользователя форме. Каждый из этих параметров должен вводиться отдельно друг от друга, но иметь определенные связи между собой. Связи обеспечивают создание ограничений на вводимые данные.
Сразу после ввода данных программа запускается на расчет траекторий движения инструмента. Этот процесс должен быть максимально автоматизирован, и иметь определенные настраиваемые параметры, чтобы быть достаточно универсальным.
Траектории движений инструмента сохраняются в виде понятном только программному модулю. Чтобы заставить пакет 3D моделирования читать эти данные, их необходимо преобразовать в вид, понятный этому пакету. Затем эти данные запускаются на выполнение пакетом 3D моделирования.
В этом пакете вначале отрисовываются все основные элементы станка, находящиеся в зоне обработки, вся оснастка, рекомендованная к применению, а также инструмент и заготовка. Далее пакет, имитируя все перемещения инструмента относительно заготовки, осуществляет вычитание одного тела из другого. Таким образом, формируется наиболее приближенная к действительности 3D модель детали. С этой моделью можно производить целый ряд действий: промерить все основные размеры, оценить топологию построения поверхностей, произвести контроль зарезов оснастки, элементов станка и заготовки во время всех технологических переходов.
По результатам этой проверки принимается решение по правке исходных данных (величины подходов, отходов, врезаний, вылета заготовки, замена оснастки и инструмента). Этот процесс повторяется до тех пор, пока не достигается оптимальный результат, который удовлетворяет всем требованиям к данному изделию.
Когда пользователь данного программного продукта принимает решение о завершении правки исходных данных, он приступает в процессу постпроцессирования. Он заключается в преобразовании всей накопленной информации в программный код системы ЧПУ.
Этот программный код записывается в файл, который без дополнительных доработок может быть передан на станок.
Такой подход позволяет достаточно хорошо прорабатывать каждую программу для системы с ЧПУ и наглядно отслеживать весь процесс обработки, не прибегая к пробным деталям.
За счет использования стороннего пакета 3D моделирования можно значительно упростить создание программного модуля, за счет исключения из программного кода акселераторов 3D графики, заменив их неявным использованием уже готовых функций пакета 3D моделирования [25].
Так же пакет 3D моделирования обладает рядом полезных функций анализа моделей, которые позволяют проводить дополнительную проверку геометрических свойств изделия, а также функций, упрощающих создание сопутствующей документации.
-
2.3 Выбор программных средств реализации системы
В соответствии с функциональной моделью программный модуль состоит из двух частей: модуля расчета и модуля визуализации.
Для создания модуля расчета лучше всего подойдет язык программирования Delphi.
Delphi – это среда быстрой разработки, в которой в качестве языка программирования используется язык Delphi. Язык Delphi – строго типизированный объектно-ориентированный язык, в основе которого лежит хорошо знакомый программистам Object Pascal [23].
Бурное развитие вычислительной техники, потребность в эффективных средствах разработки программного обеспечения привели к появлению систем программирования, ориентированных на так называемую "быструю разработку", среди которых можно выделить Borland Delphi и Microsoft Visual Basic. В основе систем быстрой разработки (RAD-систем, Rapid Application Development – среда быстрой разработки приложений) лежит технология визуального проектирования и событийного программирования, суть которой заключается в том, что среда разработки берет на себя большую часть рутинной работы, оставляя программисту работу по конструированию диалоговых окон и функций обработки событий. Производительность программиста при использовании RAD-систем возрастает в несколько раз.
Изначально среда разработки была предназначена исключительно для разработки приложений Microsoft Windows, затем был реализован также для платформ Linux (как Kylix), однако после выпуска в 2002 году Kylix 3 его разработка была прекращена, и, вскоре после этого, было объявлено о поддержке MicrosoftNET.
Delphi – результат развития языка Турбо Паскаль, который, в свою очередь, развился из языка Паскаль. Паскаль был полностью процедурным языком, Турбо Паскаль, начиная с версии "5.5", добавил в Паскаль объектно-ориентированные свойства, а в Object Pascal – динамическую идентификацию типа данных с возможностью доступа к метаданным классов (то есть к описанию классов и их членов) в компилируемом коде, также называемом интроспекцией. Данная технология получила обозначение RTTI.
Также отличительным свойством Object Pascal от "С++" является то, что объекты по умолчанию располагаются в динамической памяти. Однако можно переопределить виртуальные методы NewInstance и FreeInstance класса TObject. Таким образом, абсолютно любой класс может осуществить возможность расположения системных и исполняемых файлов в любом удобном месте. Соответственно организуется и "многокучность" [11].
Система ЧПУ станка Walter CIP6 создана фирмой Siemens. Фирма Siemens является одним из ведущих производителей систем ЧПУ, занимая по объему продаж первое место в Европе и второе в мире. Эти показатели были достигнуты благодаря не только знаменитому немецкому качеству, но и аппаратным и технологическим возможностям систем управления [26].















