124182 (592897)
Текст из файла
Содержание
СОДЕРЖАНИЕ
ВВЕДЕНИЕ
1. ПАТЕНТНЫЙ ПОИСК
1.1 Характеристика объекта разработки
1.2 Регламент поиска
1.3 Отчет о патентном поиске
1.4 Библиографический перечень в процессе поиска информации
1.5 Аннотация отобранной в процессе поиска информации
1.6 Вывод
2. ОБЩАЯ ЧАСТЬ
2.1 Расчет металлоконструкции лифта
2.1.1 Назначение и устройство кабины лифта
2.1.2 Устройство и расчет каркаса кабины
2.1.3 Устройство и расчет пола кабины
2.1.4 Расчет направляющих башмаков
2.2 Расчет направляющих
3. СПЕЦЧАСТЬ
3.1 Расчет и подбор каната
3.2 Определение массы подвижных частей механизма подъема
3.2.1 Расчет веса кабины
3.2.2 Расчет противовеса
3.2.2.1 Назначение, конструкция и устройство
3.2.2.2 Определение массы противовеса
3.2.2.3 Расчет металлоконструкций каркаса противовеса
3.2.3 Расчет массы подвесного кабеля
3.3 Расчет диаметра канатоведущего шкива и обводных блоков
3.4 Расчет канатоведущего шкива в системе автоматизированного проектирования APM WinMachine
3.5 Расчет тяговой способности канатоведущего шкива
3.6 Расчет электродвигателя
3.7 Расчет редуктора
3.8 Расчет тормоза лебедки
3.9 Электрическая часть
3.9.1 Расчет электродвигателя
3.9.2 Электрическая схема лифта
4. ПРОИЗВОДСТВЕННАЯ БЕЗОПАСНОСТЬ
4.1 Введение
4.2 Анализ вредных и опасных производственных факторов при эксплуатации проектируемого оборудования
4.3 Мероприятия по устранению и уменьшению действия опасных и вредных факторов
4.4 Инженерный расчет по обеспечению безопасных условий труда
4.3.1 Расчет заземления
4.3.2 Расчет освещения
5. ЭКОНОМИЧЕСКАЯ ЧАСТЬ
5.1 Оценка технической целесообразности конструкции лифта
5.1.1 Выбор перечня показателей, оценки технического уровня конструкции
5.1.2 Оценка весомости (значимости) показателя 87
5.1.3 Расчет комплексного показателя технического уровня и качества конструкции
5.2 Расчет трудоемкости ОКР
5.3 Расчет временных и стоимостных затрат на проектирование лифта
5.4 Прогнозирование себестоимости лифта
5.4.1 Расчет затрат на основные материалы
5.4.2 Расчет затрат на комплектующие покупные
5.4.3 Расчет затрат на основные материалы в целом по лифту
5.4.4 Расчет затрат на заработную плату производственных рабочих
5.4.5 Расчет полной себестоимости лифта
5.5 Определение лимитной цены лифта
5.6 Расчет уровня капитальных вложений в НИОКР и освоение производства
5.7 Оценка экономической эффективности конструкции
5.8 Сводные показатели оценки экономической целесообразности конструкции
БИБЛИОГРАФИЧЕСКИЙ СПИСОК
Введение
Лифт стал неотъемлемой частью искусственно созданной среды обитания человека. Практически за одно столетие удалось создать полностью автоматизированную систему внутреннего транспорта пассажиров и грузов в зданиях и сооружениях, которая надежно функционирует, не требуя от людей специальных знаний и предварительной подготовки.
В России, в странах ближнего и дальнего зарубежья успешно функционирует огромный парк лифтов различного конструктивного исполнения, который обеспечивает нужды коммунального хозяйства, промышленных предприятий и сложных сооружений общественного и специального назначения.
Расширяющиеся потребности общественного развития требуют непрерывного совершенствования средств внутреннего транспорта зданий и сооружений на основе современных научно-технических достижений.
В данном дипломе представлен проект пассажирского лифта с нижним расположением привода грузоподъемностью 500 кг со скоростью движения кабины 1 м/с с разработкой лебедки.
Основу механизма подъема проектируемого лифта составляет канатная система передачи движения кабине (противовесу) и устройства привода для перемещения канатов в виде лебедки.
В целях обеспечения безопасности эксплуатации лифта к лифтовым лебедкам предъявляется ряд специфических требований:
– конструкция лебедки должна быть рассчитана на нагрузки, действующие в эксплуатационных, испытательных и аварийных режимах;
– между канатоведущим органом лебедки и тормозом должна быть неразмыкаемая кинематическая связь;
– лебедка должна оборудоваться автоматически действующим нормально-замкнутым колодочным тормозом.
– тормозной момент должен создаваться при помощи пружин или груза (применение ленточных тормозов не допускается);
– свободные концы вращающихся валов должны быть ограждены от случайного прикосновения;
– лебедка должна оборудоваться системой ручного привода движения кабины с помощью штурвала, постоянно закрепленного на валу или съемного;
– в конструкции лебедки должно быть установлено устройство ручного отключения тормоза с самовозвратом в заторможенное состояние после прекращения ручного воздействия;
– на лебедке должно быть указано направление вращения штурвала для подъема и спуска кабины лифта;
– усилие ручного воздействия на штурвал не должно превышать 235 Н при подъеме кабины с расчетным грузом;
– при снятии кабины с ловителей с помощью ручного привода прикладываемое усилие не должно превышать 640 Н;
Конструкция лифтовой лебедки должна обеспечивать:
– безопасность применения;
– надежность и безотказность работы;
– бесшумность и низкую виброактивность;
– допустимый уровень ускорений;
– требуемую точность остановки кабины.
В целях снижения трудоемкости технического обслуживания и ремонтных работ конструкция лебедки должна иметь минимальную массу и компактные габариты.
Лифтовые лебедки можно классифицировать по следующему ряду характерных признаков:
– По типу канатоведущего органа: барабанные и с канатоведущими шкивами (КШВ);
– По характеру кинематической связи приводного двигателя с канатоведущим органом: редукторные и безредукторные;
– По типу применяемого редуктора: с глобоидными и цилиндрическими червячными передачами;
– По типу привода: с электроприводом переменного или постоянного тока;
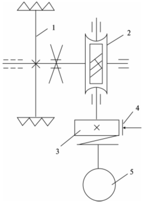
Характерная кинематическая схема лифтовой лебедки с КВШ приведена на рис. 1.
Рис. 1. Кинематическая схема лифтовой лебедки с КВШ и червячным редуктором:
1 – КВШ, 2 – редуктор червячный, 3 – соединительная муфта с тормозным шкивом,
4 – колодочный тормоз, 5 – электродвигатель.
Проектируемая лебедка включает канатоведущий орган, редуктор, тормоз и электродвигатель, смонтированные на опорной раме.
Лебедка оборудуется канатоведущим шкивом и червячным редуктором, обеспечивающим большие передаточные отношения при общей компактности конструкции. Причем редуктор выполнен с глобоидальным червяком. Нагрузочная способность глобоидальной передачи в 2…4 раза выше, чем цилиндрической. Кроме того, редукторы с глобоидальным зацеплением имеют более высокий КПД и большую износостойкость зубьев. К недостаткам глобоидального зацепления следует отнести сложность изготовления и повышенные требования к точности сборки и регулировки.
КВШ устанавливается на тихоходном валу консольно.
Привод лебедки осуществляется от специального двухскоростного асинхронного короткозамкнутого электродвигателя.
Тормозной момент создается колодочным тормозом нормально-замкнутого типа с электромагнитной растормаживающей системой. Тормоз замкнутого типа характеризуется тем, что затормаживает систему при выключенном приводе и растормаживает ее при включении привода. Правила ПУБЭЛ исключают возможность применения ленточных тормозов в связи с их недостаточной надежностью.
1. Патентный поиск
1.1 Характеристика объекта разработки
Объектом разработки является привод лифта грузоподъемностью 500 кг, со скоростью 1 м/с. Механизм привода лифта состоит из электродвигателя, нормально-замкнутого тормоза, редуктора и канатоведущего шкива. Привод расположен в нижней части шахты лифта.
1.2 Регламент поиска
Регламент поиска при исследовании привода лифта на патентную чистоту по России, Японии, Германии и Финляндии приведен в табл. 1.1.
Таблица 1.1
| Предмет поиска | Ретроспективность | Источники информации | Страны (5,7) и классификационные индексы предмета поиска (МКЧИ или МКИ) (6,8) | ||||
| Наименование | Местонахождение | ||||||
| 1 | 2 | 3 | 4 | 5 | 6 | 7 | 8 |
| Привод лифта | С 1971 г. по 1991 г. | Открытия и изобретения | Библиотека ТулГУ | Россия | МКИ В 66 В 11/04 | --- | --- |
| Лифт | С 1971 г. по 1991 г. | Открытия и изобретения | Библиотека ТулГУ | Россия | МКИ В 66 В 9/16 | --- | --- |
| Шкив | С 1971 г. по 1991 г. | Открытия и изобретения | Библиотека ТулГУ | Россия | МКИ В 66 В 15/04 | --- | --- |
1.3 Отчет о патентном поиске
Отчет при исследовании привода лифта на патентную чистоту по России, Германии, Японии и Финляндии проведен по следующим материалам (табл. 1.2).
Таблица 1.2
| Страна | Наименование источника | Классификационные индексы предмета поиска | Номер авторского свидетельства, патента | ||
| МКИ | ИКМ | ||||
| Россия | Открытия и изобретения | МКИ В 66 В 11/04 | --- | АС № 654528 | |
| Россия | Открытия и изобретения | МКИ В 66 В 9/16 | --- | АС № 679505 | |
| Россия | Открытия и изобретения | МКИ В 66 В 15/04 | --- | АС № 683975 | |
1.4 Библиографический перечень в процессе поиска информации
Информация приведена в табл. 1.3.
Таблица 1.3
| Страна | Номер свидетельского свидетельства | Класс | Источник | Название изобретения |
| РФ | № 654528 | В 66 В 11/04 | Открытия и изобретения №12 1979г. | Привод лифта |
| РФ | № 679505 | В 66 В 9/16 | Открытия и изобретения №35 1979г. | Лифт |
| РФ | № 683975 | В 66 В 15/04 | Открытия и изобретения №31 1979г. | Шкив |
1.5 Аннотация отобранной в процессе поиска информации
1) АС №654528 1 ПРИВОД ЛИФТА
1. Привод лифта, содержащий раму, на которой установлен электродвигатель и редуктор, входной вал которого посредством муфты соединен с валом электродвигателя, а выходной вал редуктора кинематически связан с канатоведущим шкивом, отличающимся тем, что, с целью снижения металлоемкости путем разгрузки выходного вала редуктора от радиальных усилий и исключения возможности передачи колебаний вала канатоведущему органу, на корпусе редуктора смонтирована полая ось, на которой установлен канатоведущий орган, а внутри полой оси расположен выходной вал редуктора, причем на валу закреплен поводок, снабженный пальцами, а канатоведущий орган выполнен со звеньями для гашения колебаний, взаимодействующими с пальцами.
2. Привод по п. 1, отличающийся тем, что каждое звено гашения колебаний содержит выполненную на канатоведущем органе полость, в которой помещен палец, полость заполнена вязкой жидкостью и снабжена уплотнением, а между стенками полости и пальцем размещены пакеты пластин.
Характеристики
Тип файла документ
Документы такого типа открываются такими программами, как Microsoft Office Word на компьютерах Windows, Apple Pages на компьютерах Mac, Open Office - бесплатная альтернатива на различных платформах, в том числе Linux. Наиболее простым и современным решением будут Google документы, так как открываются онлайн без скачивания прямо в браузере на любой платформе. Существуют российские качественные аналоги, например от Яндекса.
Будьте внимательны на мобильных устройствах, так как там используются упрощённый функционал даже в официальном приложении от Microsoft, поэтому для просмотра скачивайте PDF-версию. А если нужно редактировать файл, то используйте оригинальный файл.
Файлы такого типа обычно разбиты на страницы, а текст может быть форматированным (жирный, курсив, выбор шрифта, таблицы и т.п.), а также в него можно добавлять изображения. Формат идеально подходит для рефератов, докладов и РПЗ курсовых проектов, которые необходимо распечатать. Кстати перед печатью также сохраняйте файл в PDF, так как принтер может начудить со шрифтами.















