124042 (592890), страница 8
Текст из файла (страница 8)
С помощью WinCC User Administrator можно назначать и контролировать права доступа пользователей, как для системы проектирования, так и в режиме исполнения. Являясь администратором, можно в любое время создать до 128 пользовательских групп, в каждой из которых может содержаться до 128 отдельных пользователей (имена пользователей, пароли) и назначить им соответствующие права доступа к функциям WinCC.
В то же время существует возможность определять режим завершения сеанса работы для каждого пользователя и установить главную страницу для пользователей в сети Web. Всего можно настроить до 999 различных уровней доступа.
Все операторские станции включены в систему управления пользователями.
Интерфейс проектирования WinCC с самого начала был разработан с целью использования его по всему миру: можно переключаться между немецким, английским, французским, испанским и итальянским языками с помощью простого нажатия кнопки. Азиатский вариант поддерживает китайский, тайваньский, корейский или японский язык проектирования. Кроме того, можно создать проект, определив несколько языков системы исполнения. Разработка такого проекта означает возможность использования одного и того же решения системы визуализации на нескольких целевых рынках сбыта.
WinCC предоставляет несколько готовых элементов управления, которые могут использоваться оператором для переключения языков в режиме исполнения. Кроме того, можно определить функцию переключения языков для некоторых объектов кадра, например, кнопок.
В дополнение к этому WinCC позволяет отображать кадры размером до 4096x4096 пикселей, используя интеллектуальную функцию масштабирования. Масштабирование в режиме исполнения поддерживается использованием трех различных методов:
-
панорамный просмотр;
-
расширенное масштабирование;
-
послойное отключение.
Существует возможность сделать отображение слоев и объектов зависящим от текущего коэффициента масштабирования. Для каждого слоя можно определить отдельно минимальный и максимальный коэффициент масштабирования. Также возможно определить возможность отображения только тех объектов, размер которых попадает в определенный диапазон.
Графическая система WinCC в режиме исполнения формирует экранные изображения и обрабатывает все вводимые с экрана данные. Кадры для визуализации процесса и управления установкой создаются с помощью WinCC Graphics Designer.
Независимо от сложности задач контроля и управления, используя стандарты WinCC, можно создавать индивидуальные пользовательские интерфейсы для любого приложения.
Архивирование значений процесса (Tag Logging (Регистрация тегов)) используется для сбора данных исполняющихся процессов и их подготовки к отображению и архивированию. Данные процесса отображаются с помощью WinCC Online Table (Окна отображения таблиц в режиме исполнения) и Trend Controls (Окна отображения трендов в режиме исполнения), которые отображают данные в виде таблиц или кривых соответственно. При этом редактор Tag Logging предоставляет полную свободу в выборе способа сбора данных процесса и вида, в котором они будут отображаться.
SIMATIC WinCC не просто получает сообщения процесса и сообщения о локальных событиях, она записывает их в циклические архивы, а затем предоставляет возможность просмотра отсортированных или отфильтрованных сообщений. Звуки сигнализации (типа сирены или гудка) или прямое переключение из окна сообщений на соответствующий кадр процесса (loop in alarm (контур аварии)) помогают немедленно реагировать на неисправности и принимать меры по избежанию критических ситуаций, их сокращению или устранению их последствий.
Сообщения выводятся на экран с помощью WinCC Alarm Control, параметры которого могут задаваться на этапе проектирования. Используя содержимое отдельных блоков сообщений, можно фильтровать или сортировать сообщения, отображаемые в окне.
Для архивирования сообщений используется Microsoft SQL Server. Система архивирует сообщения при возникновении событий сообщений, например:
-
при поступлении сообщения;
-
при изменении статуса сообщения.
В WinCC имеется встроенная система ведения журналов регистрации. Данные, полученные в режиме исполнения, печатаются с помощью предварительно сконфигурированных шаблонов для разных типов журналов регистрации:
-
протокол последовательности сообщений;
-
протоколы архивов сообщений;
-
журналы регистрации архивных значений процесса;
-
оперативные журналы;
-
протоколы системных сообщений;
-
отчеты пользователя;
-
документальные копии.
Перед печатью отчетов можно сохранить их в виде файлов и предварительно просмотреть на мониторе. Выполняя действия оператора по вводу можно отобразить состояние всех заданий в режиме online [6, 7].
2.1.2.5 Выводы (WinCC)
С момента своего появления система SIMATIC WinCC символизировала высочайший уровень открытости и интеграции, поскольку поддерживала единообразие с технологиями Microsoft.
WinCC была первой системой визуализации процесса на международном рынке, использующей 32-битную технологию ПО, работающего под управлением Microsoft Windows 95/NT 4.0. В настоящее время Windows 2000 (Advanced) Server и Windows XP Professional представляют собой открытую стандартную платформу для создания серверов и клиентов WinCC или однопользовательских систем. С одной стороны, эта платформа может использоваться для того, чтобы комбинировать WinCC с широким спектром приложений, имеющихся на рынке; с другой стороны, можно интегрировать эту платформу в конкретное решение: корпоративное решение или решение автоматизации.
В целом, сама система WinCC представляет собой безопасное капиталовложение, поскольку предоставляет возможности легкого расширения и масштабирования. Для достижения универсальности потока информации, то есть вертикальной и горизонтальной интеграции, WinCC позволяет вкладывать средства в стандартизированное хранение данных, встроенные стандартные интерфейсы и универсальную обработку всех данных.
Безусловно, обе рассмотренные выше SCADA-системы Citect и WinCC отвечают предъявляемым требованиям, но нужно было выбрать одну наиболее приемлемую по всем показателям, такой оказалась SCADA-система WinCC.
2.2 Разработка структуры системы оперативно-диспетчерского контроля и управления
Функционально структура системы оперативно-диспетчерского контроля и управления РГП «Канал им. К. Сатпаева» в соответствие с требованиями раздела 1 должна состоять из четырех подсистем:
-
измерений электроэнергии и воды;
-
сбора данных;
-
телекоммуникаций;
-
отображения, хранения и управления данными.
Иерархически система представляет собой распределенную автоматизированную систему сбора и обработки данных и включает в себя:
-
первый уровень – измерительные комплексы учета электроэнергии, коммерческие ИИК (приборы учета), полевые датчики и приборы, УСПД или УСД основных сооружений канала: НС, включающих НА, ПС, В/в, В/с, Д;
-
второй уровень –РЦСОИ 2 - п. Молодежное;
-
третий уровень –ЦСОИ – г. Караганда. ЦСОИ должен осуществлять выдачу информации СО АО «КEGОС», а также в ПКИ г. Астана.
Передача данных между ПКИ, ЦСОИ, РЦСОИ и объектами предприятия должна производится посредством каналов радиотелефонной связи SR-500 S.
На рисунках 2.2 – 2.3 представлена иерархическая структура системы оперативно-диспетчерского контроля и управления.
2.2.1 Подсистема измерений электроэнергии и воды
Учет электроэнергии. В состав подсистемы измерений электроэнергии будут входить счетчики и измерительные трансформаторы, совместно они составляют ИИК.
Состав ИИК зависит от параметров точки учета. Точки учета делятся на две группы: коммерческие и технические. Дополнительными признаками точки учета являются интервал измерения и интервал опроса (съема) показаний прибора учета.
Подключаемый к системе ИИК счетчик должен быть зарегистрирован у СО в реестре коммерческого учета и иметь уникальный идентификационный код.
Для коммерческих и технических точек учета электроэнергии с интервалом измерений 15 минут в состав ИИК входит трехфазный микропроцессорный счетчик с цифровым, последовательным интерфейсом связи RS-485 и возможностью измерения активной и реактивной составляющей электроэнергии в обоих направлениях (двунаправленный).
Посредством цифрового, последовательного интерфейса связи RS-485 счетчик будет опрашиваться УСД объекта, каждые 15 минут.
Считанные из счетчика (ИИК) данные УСД будут передаваться через подсистему телекоммуникаций в БД системы.
Как уже упоминалось выше, будут использоваться существующие измерительные трансформаторы.
Вновь устанавливаемые приборы учета будут устанавливаться на место демонтируемых счетчиков. Выбранные для установки счетчики имеют такие же монтажные и крепежные размеры, как и снимаемые индукционные. Данное качество упрощает установку новых приборов учета.
В случае установки прибора учета на новое место, установка будет производиться в существующие щиты и ячейки, в соответствии с нормативными документами.
Учет воды. Учет воды будет производиться с использованием ультразвуковых расходомеров, входящих в состав ИИК водоучета. Интервал измерений – 15 мин.
Опрос расходомеров будет производиться УСД объекта посредством унифицированного токового сигнала 4-20мА, каждые 15 минут. Через подсистему телекоммуникаций данные будут передаваться в БД системы.
Диапазон расхода воды от 150 до 25000 куб. м. Погрешность измерения составляет не хуже 0,5 %.
Выходные сигналы, входные аналоговые сигналы и входные дискретные сигналы приведены в приложениях А-В. А на рисунках 2.4-2.5 приведены схемы автоматизации НА.
2.2.2 Подсистема сбора данных
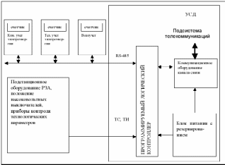
Подсистема сбора данных предназначена для сбора информации из ИИК и для передачи ее в подсистему телекоммуникации. Основу подсистемы сбора данных составляет УСД.
УСД – это устройство, состоящее из ПЛК, блока питания, устройств сопряжения, оборудования связи и других узлов. УСД предназначено для периодического опроса:
-
присоединенных счетчиков (ИИК) коммерческих и технических точек учета электроэнергии;
-
приборов водоучета;
-
приборов контроля технологических параметров.
Данные, полученные УСД при помощи опроса, передаются в подсистему телекоммуникаций для дальнейшей передачи. УСД может управляться в дистанционном режиме и местном режиме при помощи ноутбука. УСД вместе с данными счетчиков передает в систему сигналы контроля: ошибка в работе УСД, отсутствие электроснабжения, неисправность цепей измерительных трансформаторов, производится доступ к УСД или счетчику в местном режиме (ручной), производится проверка узлов памяти.
На рисунке 2.6 изображена структурная схема УСД. Основным узлом УСД является ПЛК. Через устройство сопряжения по интерфейсу RS-485 ПЛК считывает данные со счетчиков.
Преобразуя информацию в пакеты, он через оборудование канала связи передает их в подсистему телекоммуникаций. Кроме считывания данных со счетчиков, ПЛК через устройства сопряжения снимает с объектного оборудования информацию по приборам контроля технологических параметров, аварийной и предупредительной сигнализации, релейной защиты, по положению высоковольтных выключателей.
Блок питания (БП), обеспечивающий электроснабжение УСД является модульным устройством. БП обеспечивает гарантированное электропитание с возможностью бессбойного завершения работы программы ПЛК при сбое или отсутствие внешнего электроснабжения. БП может работать в индустриальном диапазоне температур, нормальном атмосферном давлении и влажности до 75%.
Конструктивно УСД представляет собой шкаф оборудования. На монтажной панели шкафа устанавливаются монтажные DIN-рейки, для установки оборудования. В шкаф внешняя проводка и кабели заводятся через герметичные фитинги.
Рисунок 2.6 – Схема структурная УСД
2.2.3 Подсистема телекоммуникаций
В качестве базовой телекоммуникационной среды выступает телекоммуникационная сеть РГП «Канал им. К. Сатпаева». УСД будут использовать каналы вводимой в строй радиотелефонной связи SR-500 S.
Все данные будут стекаться в коммуникационные серверы РЦСОИ п. Молодежный и далее в ЦСОИ г. Караганда. Для администрирования подсистемы телекоммуникаций предусмотрены АРМ администратора коммуникационного сервера для центра сбора и обработки данных.
Гарантированная доставка данных будет производиться на основе комплексной системы сбора данных SINAUT фирмы Siemens. SINAUT работает с любым видом связи и является программно-аппаратным комплексом. Указанный продукт позволяет строить распределенные системы гарантированного сбора данных и автоматически поддерживает многочисленные служебные функции:
-
гарантированная доставка данных с УСД в коммуникационные серверы системы, в том числе и при отказах каналов связи;
2) единая временная синхронизация (единое время системы);
3) единая для всей системы маршрутизация данных;
4) совместимость со сторонним ПО в соответствие с нормативными документами;
















