123916 (592875)
Текст из файла
РЕФЕРАТ
Дипломный проект содержит расчетно-пояснительную записку на 102 страницах печатного текста, в том числе 26 рисунков, 15 таблиц, список литературы из 15 наименований, 18 страниц приложений, а также графическую часть на 14 листах формата А1.
МАШИНОСТРОЕНИЕ, ОБРАБОТКА МЕТАЛЛОВ ДАВЛЕНИЕМ, ТЕХНОЛОГИЯ ЛИСТОВОЙ ШТАМПОВКИ
В дипломном проекте представлен проект участка листоштамповочного цеха для изготовления малогабаритных деталей, разработан технологический процесс изготовления детали - представителя, разработаны конструкции штампов для пооперационной штамповки. Выбрано потребное оборудование и рассмотрены основные направления его модернизации, разработана конструкция механической регулировки закрытой высоты пресса. Представлено технико-экономическое обоснование перспективности внедрения настоящих разработок, а также рассмотрены основные вопросы охраны труда на участке.
СОДЕРЖАНИЕ
ВВЕДЕНИЕ
1. АНАЛИТИЧЕСКАЯ ЧАСТЬ
1.1 Анализ номенклатуры деталей
1.2 Анализ вариантов построения технологического процесса
1.3 Анализ требуемого оборудования
1.4 Обзор кривошипных листоштамповочных прессов
1.5 Техническое задание на проектирование
2. ТЕХНОЛОГИЧЕСКАЯ ЧАСТЬ
2.1 Выбор материала изделия и сортамента листового материала
2.2 Определение схемы раскроя и величины перемычек
2.3 Расчет коэффициента использования материала
2.4 Расчет технологического усилия штамповки по переходам
2.5 Выбор оборудования
2.6 Расчет штучной нормы времени
2.7 Выводы
3. КОНСТРУКТОРСКАЯ ЧАСТЬ
3.1 Выбор типа и технологической схемы штампа
3.2 Описание конструкции штампов
3.3 Выбор материала и термообработки основных деталей штампов
3.4 Расчет исполнительных размеров разделительных пуансонов и матриц
3.5 Расчет основных деталей штампов на прочность и жесткость
3.6 Расчет стойкости штампов
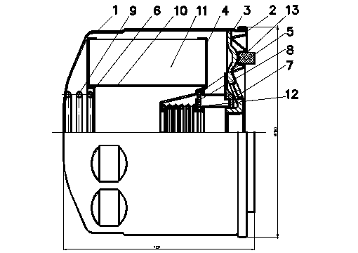
3.7 Закрытая высота штампов
3.8 Основные направления модернизации выбранного оборудования
3.9 Выводы
4. ПРОЕКТНАЯ ЧАСТЬ
4.1 Определение потребного количества оборудования
4.2 Определение количества производственных рабочих
4.3 Организация производства на участке
4.4 Проектирование участка
5. БИЗНЕС-ПЛАН ПРОЕКТА
5.1 Резюме
5.2 Описание товара, обоснование его выбора
5.3 Оценка рынков сбыта
5.4 Оценка конкурентов
5.5 План маркетинга
5.6 Производственный и финансовый план
5.7 Определение точки безубыточности
5.8 Расчет сроков окупаемости капитальных вложений
5.9 Выводы
6. ОХРАНА ТРУДА НА УЧАСТКЕ
6.1 Типы защитных устройств предотвращающих травмы рук при работе на прессах
6.2 Анализ вредных и опасных факторов листоштамповочных цехов
6.3 Расчет уровня шума на участке
6.4 Нормативы уровня шума
6.5 Разработка мероприятий по снижению шума
6.6 Обеспечение пожарной безопасности участка
6.7 Выводы
ЗАКЛЮЧЕНИЕ
СПИСОК ЛИТЕРАТУРЫ
ВВЕДЕНИЕ
За последнее десятилетие резко выросло количество малых предприятий, ориентированных не только на перепродажу, но и на производство определенных товаров и услуг. В частности, такие предприятия производят стальные двери, лестницы, ограждающие конструкции и ворота, стеновые и кровельные панели, текстильные изделия, обувь, автомобильные коврики и чехлы, предметы мебели (особенно офисной), дверные ручки и замки, пластиковые и деревянные окна, ставни, жалюзи, радиаторы, печати, визитки, вывески и многие другие товары.
Одним из направлений деятельности такого предприятия может являться производство автомобильных запасных частей, например ВАЗ, поскольку завод-изготовитель не обеспечивает их необходимое количество. В результате, на рынке запасных частей присутствует несколько десятков крупных отечественных и зарубежных фирм, а также множество мелких, специализирующихся на одной – нескольких деталях.
Одной из самых ходовых запасных частей является масляный фильтр. В настоящее время в России эксплуатируется около 10 млн. легковых автомобилей ВАЗ. Если учесть, что замена масла осуществляется, в среднем, 3 раза в год, то рынок сбыта масляных фильтров составляет 30 млн. шт. в год.
Масляный фильтр (рис.1.1) является сложной сборочной единицей, большинство элементов которого может быть изготовлено листовой штамповкой.
Листовая штамповка (далее ЛШ) является широко распространенной и весьма прогрессивной разновидностью технологии обработки металлов давлением, использующая качестве исходной заготовки листовой материал (лист, полоса, лента). ЛШ позволяет изготавливать большую номенклатуру самых разнообразных плоских и пространственных изделий, в связи с чем находит применение во всех отраслях производства, связанных с изготовлением металлических деталей. ЛШ имеет ряд преимуществ перед другими видами обработки металлов, как в технологическом, так и в экономическом отношении. В технологическом отношении ЛШ позволяет:
-
получать детали весьма сложных форм, изготовление которых другими методами обработки или невозможно или затруднительно;
-
создавать прочные и жесткие, но легкие по массе конструкции деталей при небольшом расходе материала;
-
получать взаимозаменяемые детали с достаточно высокой точностью размеров, преимущественно без последующей механической обработки.
В экономическом отношении холодная штамповка обладает следующими преимуществами:
-
экономным использованием материала и сравнительно небольшими отходами;
-
высокой производительностью оборудования (несложная механизация и автоматизация производственных процессов);
-
низкой стоимостью изготовляемых изделий и возможностью массового выпуска.
Наибольший эффект от применения холодной штамповки может быть обеспечен при комплексном решении технических вопросов на всех стадиях подготовки производства, начиная с создания технологичных конструкций деталей, допускающих их экономичное изготовление. Разработка технологических процессов холодной штамповки и проектирование штампов неразрывно связаны между собой, хотя и могут выполняться разными лицами.
Намеченную годовую программу выпуска (300 тыс. шт.) можно отнести к крупносерийному производству. В конце 80 гг. в массовом и крупносерийном производстве наблюдалась тенденция преимущественного применения автоматизированных процессов штамповки на многопозиционных листовых автоматах. Преимущества таких процессов очевидны: человек управляет процессом с пульта управления и не попадает в рабочую зону, повышается качество изделий (брак, обнаруживающийся после конечной операции, устраняется сразу, количество бракованных изделий не превышает количества переходов), повышение производительности (80-1000 деталей в минуту) [1], возможность получения изделий очень сложной формы. Для простоты и сокращения времени переналадки, данные прессы снабжаются выдвижными плитами и средствами автоматического крепления штампов [2].
Всё вышеперечисленное приводит к дороговизне и, что самое главное в складывающихся рыночных отношениях, большому сроку окупаемости капитальных затрат. На подобные затраты может пойти предприниматель, находящийся хотя бы на третьей стадии развития производства. Предпринимателя, только открывающего свое дело, в первую очередь интересует величина начальных капитальных затрат и срок окупаемости вложенных средств.
В настоящем проекте предлагается участок по производству запасных частей легковых автомобилей, в первую очередь ориентированный на производство масляного фильтра с годовой программой выпуска 300 тыс. шт.
Цель и задачи проекта.
Цель: Разработка проекта участка.
Задачи:
анализ номенклатуры изделий и выбор вариантов построения технологических процессов;
разработка конструкций штампов;
выбор необходимого оборудования;
проектирование участка штамповки;
составление бизнес-плана проекта;
обеспечение безопасности труда на участке.
1. АНАЛИТИЧЕСКАЯ ЧАСТЬ
1.1 Анализ номенклатуры деталей
Масляный фильтр является составной частью смазочной системы практически любого механизма, в том числе автомобилей, и служит для очистки смазочного материала в процессе смазывания.
Конструкция масляного фильтра представлена на рис. 1.1, номенклатура входящих в конструкцию фильтра деталей представлена на листе 1 графической части проекта. Фильтр сконструирован ООО «РЕГОТМАСС», и отвечает всем нормам и стандартам автопромышленности Российской Федерации.
Рис. 1.1. Конструкция масляного фильтра.
Из сборочного чертежа видно, что масляный фильтр содержит следующие типовые детали:
-
низкие и средние по высоте детали, которые могут быть получены формовкой или неглубокой вытяжкой (усилитель, скоба, кольцо и крышки).
-
высокие детали, требующие глубокой вытяжки (низкий и высокий корпуса фильтра).
-
резинотехнические изделия, изготовление которых требует специального оборудования.
-
трубка, изготовление которой рациональнее перфорацией.
-
непосредственно фильтрующий элемент, изготовленный из картона.
-
пружины.
Программа выпуска цеха является основой для разработки цехового маршрутного технологического процесса изготовление деталей, при составлении которого в данном случае рациональнее применять принцип технологического подобия для обеспечения поточности производства, полной загрузки оборудования и хорошей организации производства.
Технологический процесс будем разрабатывать для первой группы деталей (низкие и средние детали). Эта группа деталей характеризуется приблизительно подобной конструкцией, геометрическими размерами, однородностью технологии (операции вырубки, пробивки, формовки, гибки) и приблизительно равной трудоемкостью изготовления.
В качестве детали-представителя выбираем крышку масляного фильтра, типовой технологический процесс будем разрабатывать применительно к данной детали.
На проектируемом участке предполагается изготавливать только металлические детали, включая пружины и трубки с множеством отверстий (позиции 9,10,12). Резиновое кольцо 5 и фильтрующий элемент 11 предполагается заказывать у соответствующих предприятий.
1.2 Анализ вариантов построения технологического процесса
Подходя к вопросу о разработке технологического процесса, следует отметить, что существует несколько возможных вариантов, основанных на следующих достаточно противоречивых требованиях, таких как:
-
наименьшее количество и наименьшая трудоемкость операций;
-
высокая производительность;
-
использование наиболее дешевого материала;
-
использование экономичного универсального кузнечно-штамповочного оборудования;
-
использование дешевой рабочей силы;
-
использование средств механизации и автоматизации;
-
безопасность технологического процесса
При разработке технологического процесса необходимо определять: характеристику исходного материала (вид, марка, размеры); размеры заготовок и коэффициент расхода материала; характер и последовательность операций изготовления деталей; тип и характеристики оборудования; производительность оборудования; автоматизацию и механизацию процессов; квалификационный разряд работ; количество рабочих, одновременно работающих на одной операции.
Выбор варианта технологического процесса листовой штамповки зависит от объема выпуска, типа производства, формы и материала изделия, специальных требований, предъявляемых к выпускаемой продукции, и других факторов.
При разработке технологического процесса необходимо просмотреть детали с точки зрения их технологичности. Иногда незначительные изменение конструкции и формы деталей могут существенно упростить технологический процесс, снизить расход металла и трудоемкость их изготовления. Исходя из размеров и формы детали (рис.1.2) предлагается разбить технологический процесс на следующие операции:
Вырубка и пробивка;
Формовка;
Формовка;
Обрезка и пробивка;
Отбортовка.
Рис. 1.2. Крышка масляного фильтра.
Существует несколько вариантов построения технологического процесса. Первым вариантом является пооперационная штамповка, т.е. штамповка детали за пять переходов в пяти штампах на универсальных листоштамповочных прессах. Достоинствами данного метода являются относительная простота конструкции и низкая стоимость штампов (по сравнению со штампом последовательного действия), возможность осуществления процесса без каких либо средств автоматизации, а также возможность осуществить весь процесс на универсальном листоштамповочном оборудовании сравнительно небольшого усилия (по сравнению с многопозиционным прессом-автоматом). Соответственно, такой технологический процесс потребует наименьших капитальных затрат, что в современных условиях является одним из главных условий развития того или иного мелкого предприятия. Наряду с этим, нельзя не отметить и присущие подобным процессам недостатки, например, невысокая производительность, вследствие использования малоэффективного ручного труда, отсутствия автоматизации, лишних затрат времени на перемещение заготовок по позициям. Другим существенным недостатком является быстрая утомляемость рабочих и, как следствие, высокая травмоопасность.
Характеристики
Тип файла документ
Документы такого типа открываются такими программами, как Microsoft Office Word на компьютерах Windows, Apple Pages на компьютерах Mac, Open Office - бесплатная альтернатива на различных платформах, в том числе Linux. Наиболее простым и современным решением будут Google документы, так как открываются онлайн без скачивания прямо в браузере на любой платформе. Существуют российские качественные аналоги, например от Яндекса.
Будьте внимательны на мобильных устройствах, так как там используются упрощённый функционал даже в официальном приложении от Microsoft, поэтому для просмотра скачивайте PDF-версию. А если нужно редактировать файл, то используйте оригинальный файл.
Файлы такого типа обычно разбиты на страницы, а текст может быть форматированным (жирный, курсив, выбор шрифта, таблицы и т.п.), а также в него можно добавлять изображения. Формат идеально подходит для рефератов, докладов и РПЗ курсовых проектов, которые необходимо распечатать. Кстати перед печатью также сохраняйте файл в PDF, так как принтер может начудить со шрифтами.
















