123450 (592825), страница 11
Текст из файла (страница 11)
Препоръчва се процеса да се води за сметка на топлинната енергия, съдържаща се във влажния конвертиран газ. Използването на нископотен-циална топлина (от нереагиралите водни пари) за процеса може същест-вено да снижи разходите.
Съдържанието на въглероден диоксид в сухия очистен газ не трябва да превишава 0,1 – 0,2%. Използването, обаче, на един от най-разпрост-ранените методи на очистване – с горещ разтвор на К2СО3 (поташ) без активни добавки, не позволява да се достигне такава дълбочина на очистка и в сухия газ остава до 0,8% СО2. Повишаване на неговото съдържание води до допълнителен разход на водород в процеса на метаниране и увеличено съдържание на метан в получения водород. Преимуществата на очистването с горещ разтвор на поташ са толкова го-леми, че без да се има предвид на преразхода на водород, този метод се използва широко.
В схемите за производство на водород, които не предвиждат мета-ниране на СО или обезпечаващи селективно метаниране на на въглерод-ните оксиди се допуска по-груба очистка – до 1,5% СО2. Тя може да бъде при производство на водород под налягане, ако водородът е предназна-чен за хидроочистка на сулфидни катализатори; тук СО2 не взаимодейства с водорода, а само понижава неговото парциално налягане. Невстъпвайки в реакция, СО2 се разтваря в хидрогенизата.
В схемите на паро-кислородна газификация на нефтени остатъци с впръскване на вода след газогенератора, газът след конверсия на СО трябва да е практически напълно освободен от серни съединения. Това се налага, защото газа ще бъде подаден на никелов катализатор за метани-не (чувствителен към отравяне със серни съединения) или в системата за медно-амонячна очистка от СО.
В процесите на производство на водород се случва да се очиства газ с различни кисели компоненти при много различни пациални налягания на тези компоненти. В производството на водород се използват абсорбцион-ни способи за очистка – химични, физични и комбинирани поглътители.
3.3.2 Основни принципи на абсорбционната очистка
Очистка на газа от СО2 и H2S се извършва с течни поглътители в абсорбер, а после тези компоненти се отделят от газа в десорбер. Проц-сът на абсорбционна очистка е цикличен. Поглъщането се основава на хи-мически взаимодействия със слаби базистни свойства и образуване с тях на неустойчиви съединения. Другите компоненти на газовата смес, непри-тежаващи киселинни свойства, не се поглъщат от течността. На стадия на регенерация, в резултат на повишената температура на поглътителя и снижаване на парциалното налягане на погълнатите компоненти, химичес-ките връзки се разрушават.
Очистване на газове от въглероден диоксид и сероводород, с поглъ-тител разтварящ газа, в цикличен процес се основава на изменяне на на-лягането в абсорбера и регенератора, за което не се изисква разходване на топлина и охлаждаща вода. Отначало в качество на абсорбент се е използвала вода, а по-късно били подбрани органични поглътители. Веще-ства, химически свързващи СО2 и Н2S, разтварят или се смесват с химиче-ски неутрални течности, например вода и действат също като поглътите-ли. Затова всеки химически поглътител е в една или друга степен абсор-бент. Изборът на поглътител се определя от налягането на абсорбцията. Физически поглътители се използват само при високи налягания.
Химични поглътители позволяват да се получи по-висока степен на очистка, отколкото физическите, но са необходими енергийни разходи за разрушаване на образуващите се съединения. По-голяма дълбочина с по-малки разходи на топлина може да се получи, комбинирайки два типа поглътители: леко регенериращи се за груба предварителна очистка и по-трудно регенериращи се за по-дълбока очистка.
Константата на фазово равновесие или коефициента на разпределе-ние на газа между газова и течна фаза се определя по формула:
KCO2 = pCO2:x KH2S = pH2S:y
, където pCO2, pH2S – парциални налягания на СО2 и Н2S над разтвора, МРа; x, y – количеството СО2 и Н2S, разтворено в течността, м3/м3.
Уравнението на фазово равновесие с отчитане зависимостта на коефициента на температурно разпределение лежи в основата на циклич-ната очистка на газове от СО2 с течни поглътители. Коефициента на раз-пределение и неговото изменение в зависимост от температурата е основ-на характеристика на поглътителя.
Кривата на разпределение, тоест зависимостта на количеството на газа, погълнато от течността, от парциалното налягане на газа на течност-та pCO2, pH2S се опледеля за всеки поглътител експериментално. Общият характер на кривите на разпределение е показан на фигура 12, от която е видно, че поглътителя имащ крива на разпределение 1 е по-малко ефек-тивен от този с крива на разпределение 2, тъй като неговата поглъща-емост при едно и също парциално налягане. За достигане на тази степен на очистка регенерацията на поглътител 1 трябва да е по-дълбока (х``1
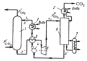
Принципната схема на абсорбционна очистка на газа от СО2 и Н2S с нагряване на поглътителя в процеса на регенерация е показана на фигура 13. Газът се въвежда в абсорбер 1 отдолу и след очистване излиза отгоре. Регенерираният поглътител с температура t1, близка до температурата на върха на абсорбера, се подава отгоре. Поглътителят, наситен на въглеро-ден диоксид, се извежда от абсорбера и преминава през топлообменник 3, където се подгрява за сметка на топлината на регенерирания поглътител. Ако процесът протича при по-високо налягане, отколкото налягането в регенератор 6, то понижаване налягане на поглътителя се извършва, като го прекарват през турбина 5; при това от поглътителя се отделя част от СО2.
По-нататък поглътителят с разтворен в него СО2 постъпва на върха на регенератора 6. В долната част на регенератора поглътителят се нагря-ва с помощта на ребойлер 7 и тук завършва регенерацията. Регенерира-ният абсорбент се прекарва посредством помпа през топлообменник 4 и хладник 3 и хладилник 2 в абсорбера.















