123250 (592789), страница 2
Текст из файла (страница 2)
Технологічна схема процесу
| Номер позиції | I | II | III |
| Номер робочого органу | 1 6 | 5 4 | 2 3 |
| Робочий орган, що виконує операцію | Штовхач Конвєєр | Конвєєр Платформа зі штирями стулки | Штовхач Кантувач |
| Первинна технологічна і допоміжна операція | Формування ряду Формування шару | Переміщення шару на приймальний стіл Формування штабелю | Заповнення ящика Відведення ящика |
| Основна технологічна операція | Формування шару виробів | Формування штабелю виробів | Відведення ящика |
2. Технологічна карта
2.1 Опис конструкції та принципу дії
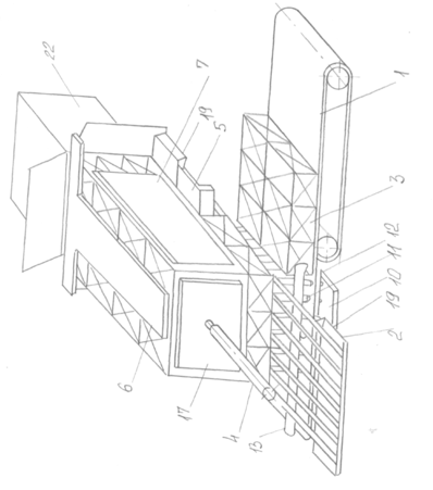
Машина для укладання та пакування пачок з вафлями в гофрокартонні ящики складається з подаючого транспортера 1, приводних гребінчастих стулок, зіштовхувача 4, приймального стола 5, кантувача тари 8, підйомно-опускної платформи 10, на якій закріплені штирі 11, приймальний стіл для формування шару виробів 12, в якому виконані отвори для проходження штирів 11 (рис. 2).
2.2 Принцип дії машини
Вироби 3 подаються на приймальний стіл 12. Після набору шару стулки 2 виводяться з під формуючого штабелю. Після чого штирі 11 входять в отвори на столі 12 і піднімають формуємий штабель. Стулки 2 повертаються в початкове положення.
Над приймальним столом 5 встановлена верхня напрямна 6 і бокові напрямні 7 штабеля виробів, кантувач тари 8 приводиться в дію пневмоциліндром 9; між гребінчастими стулками 2 та площадкою 12 встановлені напрямні частини13. Кантувач 8, штирі 11, напрямні пластини 6 і 7 виконані регулюємими, штовхач 4 і підйомно-опускна платформа 10 з’єднані з напрямними 14 і 15, на яких встановлені регулюємі опори 16 і 17.
Машина працює таким чином. Заздалегідь, в залежності від кількості рядів виробів, що поступають на стіл для формування шару 12 і їх розмірів по ширині встановлюють бокові пластини 13 рухомі напрямні.
В залежності від висоти виробів виставляється площадка формування шару, приймальний стіл 5 і регулюється хід підйомно-опускної платформи 10 за допомогою рухомих упорів 16.
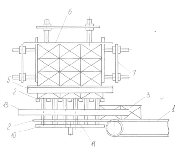
Рис. 2 - Механізм формування штабеля
Підйомно-опускна платформа 10 зі штирями 11 опускається і штабель лягає на стулки 2.
Сформований штабель переміщується штовхачем 4 на приймальний стіл 5.
На малюнку 1 та 2 зображений пристрій в процесі роботи; на рис. 3 – приймальний стіл, боків і напрямні пластини і підйомно-опускна платформа із встановленими на ній штирями; на рис. 4 – конструкція пластин, що регулюються і утворюють напрямний мундштук; на рис. 5 зображено кантувач тари; на рис. 6 – привідні гребінчасті стулки.
Рис. 3 - Загальний вигляд
В залежності від розмірів штабеля виробів, що формується, встановлюється пластина 18, яка відповідає розмірам задньої поверхні штабеля, встановлюється штовхач 4, бокова і верхня напрямні пластини, що регулюються, також встановлюється кантувач тари 8 з упорами 19 та приводом 9.
Штирі 11 на підйомно-опускній платформі 10 розміщуються тільки лише під формуючим штабелем виробів. При цьому, якщо штабель виробів складається з двох і більше рядів, то під кожним наступним рядом штирі встановлюється нижче попередніх для запобігання явища заклинювання при переміщенні штабеля виробів із штирів на приймальний стіл 5 (рис. 4, 5).
Рис. 4 - Конструкція пластин, що регулюється
Рис. 5 - Кантувач тари
Рис. 6 - Гребінчасті стулки
В машині використовуються гребінчасті стулки (рис. 6), які мають паралелогрмний механізм 7, та горизонтальні ланки 9, які зв’язані з пневмоциліндром 6.
Якщо штабель виробів складається з одного ряду чи вироби мають незмінні геометричні форми, то переміщення штабелю на приймальний стіл можна виконувати з нижнього шару виробів.
Вироби 3 подаються транспортером 1 на площадку формування шару 12. Після набору шару виробів рамки 20 з набірними гребінчастими стулками 2 відводяться з-під формуючого шару виробів, який опускається на шар виробів, сформований на площадці 12. Після цього за допомогою привода 21 підйомно-опускна платформа 10 переміщується у верхнє положення. При цьому штирі 11 входять в отвори, виконані в площадці формування шару 12 і піднімають сформований штабель виробів. Після цього рамки 20 повертаються в початкове положення, а закріплені на них стулки 2 входять в зазори між штирями 11. Підйомно-опускна платформа 10 повертається в початкове положення, а штабель виробів лягає на гребінчасті стулки 2.
Після набору штабеля виробів він переміщується штовхачем 4 на приймальний стіл 5, а далі переміщується у попередньо встановлений у нактовачі гофрокартонний ящик 22.
В нашому випадку використовується гофрокартонний ящик №42 з розмірами:
довжина l=369 mm
ширина b=280 mm
висота h=222 mm.
3. Розрахункова частина
3.1 Розрахунок приводного роликового конвеєра
Вихідні дані: довжина L=2000 мм; розташований під кутом 20; для транспортування штучних вантажів (гофрокартонні ящики) розмірами 360*280*222 мм, вагою 12,6 кг; ящики поступають на конвеєр з інтервалом часу t=17 с.
Продуктивність конвеєра:
Швидкість переміщення вантажу по конвеєру V=0.2 m/c.
Визначимо кількість вантажів, що знаходяться на конвеєрі:
Приймаємо ролики діаметром Dp=48 mm; довжиною lpol =510 мм; вага обертової частини ролика Gp=5,5 кг; діаметр цапфи ролика d=18 мм; f =0,015; =0,05 см.
Відстань між роликами:
lp=(1/3…1/4)* lpol= 152 мм.
Кількість роликів конвеєра
Приймаємо Z1=14 шт.
Опір переміщенню вантажу при постійному русі по роликовому конвеєру.
Розрахункова потужність двигуна:
Установочна потужність:
N=Kз*Nдв=1,2*0,049=0,059 кВт
Kз=1,2 – коефіцієнт запасу.
Визначаємо частоту обертання роликів:
По каталогу вибираємо мотор-редуктор типу МПз2-31,5
Електродвигун типу 4АХ71А6З3 потужністю N=0.37 кВт і частотою обертання n=920 об/хв.
Номінальна частота обертання вихідного валу мотор-редуктора n=28 об/хв; допустимий крутний момент на вихідному валу Т=12 кгс*м (рис. 7).
Рис. 7 - Схема вузла для укладання пачок пошарово: 1-пневмоциліндр; 2- штир; 3-рама
3.2 Розрахунок клинопасової передачі
Вихідні дані: N=0.37 кВт, n1 =28 об/хв, U=1
Розраховуємо крутний момент на швидкохідному валу:
По даному розрахунковому крутному моменті згідно таблиці приймаємо переріз пасу “Б” з розмірами: bP=14,00 mm; h=10,5 mm; b0=17 mm; y0=4mm; F1=1,38 cm2/
Приймаємо діаметр меншого шківа 140 мм.
Розраховуємо діаметр більшого шківа
dp2=dp1*U*(1-)=140*1*(1-0.01)=138.6 mm
Згідно ГОСТ 17383-73 приймаємо стандартний діаметр шківа dp2=140 мм.
Знаходимо фактичне передаточне число:
Визначимо швидкість паса:
Розраховуємо частоту обертання відомого вала:
Визначаємо міжосьову відстань згідно рекомендацій:
a=1.05*dp2=1.05*140=147 mm
Розраховуємо довжину паса:
Приймаємо стандартну довжину паса L=1000 mm.
Згідно стандартної довжини паса уточнюємо дійсну міжосьову відстань:
Мінімальна міжосьова відстань для зручності монтажу та зняття пасів:
амін=а-0,01L=304+0.025*1000=329 mm
Максимальна міжосьова відстань для створення натягу та підтягування паса при витяжці:
амакс=а+0,025L=304+0,025*1000=329 мм
Кут обхвату пасом шківа:
Вихідна довжина паса: L=2240 мм
Відносна довжина паса: L/L0=1000/2240=0,45
Коефіцієнти довжини GL=0.86. Вихідна потужність при dp1=140 мм і V=0,205 м/с рівна N0=1,07 кВт.
Коефіцієнт кута обхвату близько 1
Поправка до крутного моменту на передаточне число:
Т=2,1 Н*м
Поправка до потужності:
Nu=0.0001*Tu*n=0.0001*2.1*28=0.0059 кВт
Коефіцієнт режиму роботи при вказаному навантаженні:
СР=0,84
Розраховуємо допустиму потужність на один пас:
Розрахункова кількість пасів: Z=N/[N]=0.37/0.777=0.48
Коефіцієнт, що враховує нерівномірність навантаження: CZ=1
Визначаємо дійсну кількість пасів в передачі:
Z1=Z/ CZ=0.48/1=0.48
Приймаємо Z1=1 шт.
Сила початкового натягу одного клинового пасу:
q=0.18 кг/м – погонна маса пасу.
Зусилля, яке діє на вали передачі:
Розміри обода шківів:
lP=14 мм; h=10,8 мм; b=4,2 мм;
l =190,4 мм; hmin=8 мм; L1=360; r =1,0 мм; f=12,5 мм.
Зовнішні діаметри шківів:
dl1=dp1+2b=140+2*4.2=148.4 mm
dl2=dp2+2b=140+2*4.2=148.4 mm
Ширина обода шківів:
M=(Z1-1)l+2f=(1-1)*0.01+2*12.5=25 mm
3.3 Розрахунок виконавчого пневмомеханізму вузла для укладання пачок пошарово
Вихідні дані:
тиск повітря в магістралі:
Рм=0,4МПа;
хід виконавчого механізму при укладанні пачок в один шар:
S=0.05 m
час спрацювання механізму:
T=0.85 c
ефективна площа вхідного отвору:
fr=4*10-6 m2;
початкова і приведена координати поршня:
х01=х02=0,01 м;
зусилля необхідне для піднімання продукції:














