108936 (590970)
Текст из файла
Одноступенчатый цилиндрический редуктор с цепной передачей
Введение. Описание устройства привода
Редуктором называют механизм, состоящий из зубчатых колес или передач, выполненный в виде отдельного агрегата и служащий для передачи вращения от вала двигателя к валу рабочей машины.
Назначение редуктора - понижение угловой скорости и соответственно повышения вращающего момента ведомого вала по сравнению с ведущим.
Редуктор состоит из корпуса (литого чугунного или сварного стального), в котором помещают элементы передачи - зубчатые колеса, валы, подшипники и т.д. В отдельных случаях в корпусе редуктора помещают также устройства для смазывания зацеплений и подшипников (например, змеевик с охлаждающей водой в корпусе червячного редуктора).
Редукторы классифицируют по следующим основным признакам: типу передачи (зубчатые, червячные или зубчато-червячные); числу ступеней (одноступенчатые, двухступенчатые); типу зубчатых колес (цилиндрические, конические и т.д.); относительному расположения валов редуктора в пространстве (горизонтальные, вертикальные); особенностям кинематической схемы
(развернутая, с раздвоенной ступенью и т.д.). Редуктор проектируют либо для привода определенной машины, либо по заданной нагрузке (моменту на выходном валу) и передаточному числу без указания конкретного назначения.
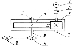
Рисунок 1 – Кинематическая схема привода
Вращающий момент от электродвигателя 1 через муфту 2 передаётся на шестерню 3, установленную на ведущем валу Ι и через неё передается зубчатому колесу 4, расположенному на ведомом валу ΙΙ, установленному в подшипниках 5. От ведомого вала редуктора вращающий момент через цепную передачу 6 передается ведущему валу ΙΙΙ привода ленточного конвейера. Редуктор общего назначения; режим нагрузки постоянный; редуктор предназначен для длительной работы; работа односменная; валы установлены на подшипниках качения; редуктор нереверсивный (ПЗ, задание) , [1, с.9-16]; [2, c.20-26]; [3,c261-262].
Методические указания
В этом разделе должны быть выполнена кинематическая схема привода и оформлена согласно СТ СЭВ 1187-78, с условными графическими обозначениями элементов машин и механизмов по СТ СЭВ 2519-80.
1 Выбор электродвигателя, кинематический и силовой расчет привода
Определяем общий КПД привода.
η=η1η2ηпк, (1)
где η1- КПД закрытой зубчатой передачи, η1=0,97,[1, с5, табл. 1.1];
η2 - КПД открытой цепной передачи , η1=0,93, [1,с5, табл.1.1];
ηпк - КПД подшипников, ηп=0,99,[1,с5, табл.1.1];
к – число пар подшипников, к=3, (ПЗ, задание).
η =0,97· 0,93 ·0,993=0,875.
Определяем требуемую мощность электродвигателя.
Ртр= Р3/ η, (2)
где Р3- мощность на выходном валу привода, Р3=4,6 кВт, (ПЗ, задание).
Ртр=4,6/0,875 = 5,28 кВт.
Выбираем электродвигатель асинхронный серии 4А, закрытый обдуваемый, по ГОСТу с номинальной мощностью Р =5,5 кВт, с синхронной частотой вращения n=1000 об/мин, типоразмер 132S2, [1, с. 390].
Номинальная частота вращения вала электродвигателя .
nдв=n(1-s), (3)
где n-синхронная частота вращения, n=1000 об/мин;
S- процент скольжения ремня , S=3,3%, [1, с. 390].
nдв=1000∙(1-0.033)=967 об/мин.
Определяем общее передаточное число привода и разбиваем его по ступеням.
U=U1U2 , (4)
где U1-передаточное число редуктора, U1=3,15,(ПЗ, задание);
U2- передаточное число цепной передачи.
U=nдв /n3 , (5)
где nдв=967 об/мин;
n3=95 об/мин, (ПЗ, задание).
U=967/95=10,18.
Определяем передаточное число открытой цепной передачи
U2= U/ U1, (6)
U2=10,18/ 3,15=3,23.
Определяем частоту вращения, угловые скорости вращения и вращающие моменты на валах привода.
Вал электродвигателя:
Ртр= 5,28 кВт;
nдв=967 об/мин.
ωдв= π nдв/30. (7)
ωдв=3,14·967/30= 101,22 рад/с.
Мдв = Ртр/ωдв.
Мдв = 5,28·103/101,22 =52 ,16 Н·м.
Вал І привода:
nдв=n1= 967об/мин;
ωдв=ω1=101,22 рад/с;
Мдв=М1=52,16 Н·м.
Вал ІІ привода
n2=n1/ U1 . (8)
n2=967/3,15=306,98 об/мин;
ω2= π n2/30,
ω2=3,14·306,98/30=32,13 рад/с;
М2=М1· U1∙ η1 2 , (9)
М2=52,16·3,15·0,97·0,992=156,2 Нм.
Вал ІІІ привода:
n3=n2/ U2
n3=306,98/3,23=95,04 об/мин;
ω3= π n3/30,
ω3=3,14·95,04/30=9,94 рад/с.
М3=М2· U2 ·η2 .η п ,
М3=156,2·3,23·0,93·0,99=464,6 Н·м;
С другой стороны
М3= М1·· U· η , (10)
М3=52,16·10,18·0,875= 464,6 Н·м .
Полученные данные приводим в таблицу.
Таблица 1
| Номер вала | Частота ращения, об/мин | Угловая скорость, 1/с | Вращающий момент, Н·м |
| Вал I | n1=967 | ω1=101 | М1=52,2 |
| Вал II | n2=307 | ω2=32 | М2=156,2 |
| Вал III | n3=95 | ω3=10 | М3=464,6 |
[1,с.4
8, 290
291]
Методические указания
При обозначении параметров привода нумерацию производить начиная от двигателя. При выборе синхронной частоты вращения электродвигатель рекомендуется выбирать с числом полюсов не более 6 у которых nc≥ 1000 б/мин, так как с уменьшением частоты вращения возрастают габариты и масса двигателя. При этом следует учесть, что передаточное число цепной передачи должно быть в интервале 2
6, а клиноременной – 2
5.
2 Расчёт зубчатых колес редуктора
Так как в задании нет особых требований в отношении габаритов передачи, выбираем материалы со средними механическими характеристиками: для шестерни сталь 45, термическая обработка – улучшение, твёрдость НВ 230; для колеса – сталь 45, термическая обработка – улучшение, но твердость на 30 единиц ниже - НВ 200. Разница твердости объясняется необходимостью равномерного износа зубьев зубчатых колес .
Определим допускаемое контактное напряжение:
, (11)
где σHlimb – предел контактной выносливости при базовом числе циклов,
σHlimb=2
HB+70, [1, с. 34, табл. 3.2];
KHL – коэффициент долговечности, KHL=1, [1, с. 33];
[SH] – коэффициент безопасности, [SH] =1.1, [1, с. 33].
Для шестерни
, (12)
482 МПа.
Для колеса
, (13)
=428 МПа.
Для непрямозубых колёс расчётное допускаемое контактное напряжение определяется по формуле
, (14)
[σH]=0,45·([482 +428]) = 410 МПа.
Требуемое условие
выполнено.
(Для прямозубых передач [σH]= [σH2])
Определяем межосевое расстояние.
Межосевое расстояние из условия контактной выносливости определяется по формуле
, (15)
где Ka– коэффициент для косозубой передачи, Ka=43 , [1, с. 32], (Для прямозубых Ka=49,5);
U1 – передаточное число редуктора, U1=3,15, (ПЗ, задание);
М2– вращающий момент на ведомом валу, М2=156,2 Н·м, (ПЗ, табл.1);
КНВ – коэффициент, учитывающий неравномерность распределения
нагрузки, КНВ=1 , [1, с.32];
[σH] – допускаемое контактное напряжение, [σH]=410MПа ;
ψba – коэффициент ширины венца, ψba=0,4, (ПЗ, задание).
=110 мм.
В первом ряду значений межосевых расстояний по ГОСТ 2185-66 выбираем ближайшее и принимаем аω=125 мм, [1, с. 36].
Определяем модуль передачи
Нормальный модуль зацепления принимают по следующей рекомендации:
мм.
Принимаем по ГОСТ 9563-60,
=2 мм, [1, с. 36]. (В силовых передачах
≥1,5 мм.)
Определяем угол наклона зубьев и суммарное число зубьев
Принимаем предварительно угол наклона зубьев β=9º, (ПЗ, задание) и определяем суммарное число зубьев
, (16)
где
– межосевое расстояние,
=125 мм ;
– нормальный модуль зацепления,
=2 мм.
Z∑ =
=123,39.
Принимаем Z∑=123.
Определяем числа зубьев шестерни и колеса.
Число зубьев шестерни равно:
, (17)
где U1 – передаточное число редуктора, U1=3,15;
Z∑= 123 – суммарное число зубьев, Z∑= 123.
=
=29,64.
Принимаем
=30.
Определяем число зубьев колеса:
Z2= Z∑ -Z1, (18)
Z2=123-30=93.
Уточняем передаточное число
(19)
где Z1 – число зубьев шестерни, Z1=30;
Z2 – число зубьев колеса, Z2=93.
U1ф=
3,1.
Уточняем угол наклона зубьев:
, (20)
где mn– модуль передачи, mn=2 мм;
аω – межосевое расстояние, аω=125 мм.
cos β =
=0,984.
Определяем диаметры колес и их ширину.
Делительный диаметр шестерни:
, (21)
Характеристики
Тип файла документ
Документы такого типа открываются такими программами, как Microsoft Office Word на компьютерах Windows, Apple Pages на компьютерах Mac, Open Office - бесплатная альтернатива на различных платформах, в том числе Linux. Наиболее простым и современным решением будут Google документы, так как открываются онлайн без скачивания прямо в браузере на любой платформе. Существуют российские качественные аналоги, например от Яндекса.
Будьте внимательны на мобильных устройствах, так как там используются упрощённый функционал даже в официальном приложении от Microsoft, поэтому для просмотра скачивайте PDF-версию. А если нужно редактировать файл, то используйте оригинальный файл.
Файлы такого типа обычно разбиты на страницы, а текст может быть форматированным (жирный, курсив, выбор шрифта, таблицы и т.п.), а также в него можно добавлять изображения. Формат идеально подходит для рефератов, докладов и РПЗ курсовых проектов, которые необходимо распечатать. Кстати перед печатью также сохраняйте файл в PDF, так как принтер может начудить со шрифтами.
















