91301 (590046), страница 4
Текст из файла (страница 4)
У відпрацьованій лікарській рослинній сировині (ЛРС) — шроті — залишається від 2 до 3 об’ємів екстрагента відносно маси сировини. Цей екстрагент обов'язково рекуперують, тобто витягають різними методами для повернення у виробництво.
Якщо на фармацевтичному підприємстві відсутня водяна пара як теплоносій (що часто буває на фармацевтичних фабриках), то рекуперацію етанолу зі шроту проводять методом витіснення водою. Для зменшення втрат екстрактивних речовин і екстрагента зі шроту попередньо віджимають екстрагент на пресі та отриману витяжку використовують у відповідному виробничому процесі. Шрот після преса заливають водою і настоюють 1,5 год. При цьому етанол дифундує із сировини у воду. Потім зі швидкістю перколяції одержують промивні води. їх кількість залежить від концентрації екстрагента.
Так, для рекуперації 70 %-вого етанолу одержують приблизно 5 об’ємів промивних вод стосовно сировини, для 40 %-вого етанолу — майже 3 об’єми. Промивні води, що містять 5—30 % етанолу, можуть бути використані для розведення міцного етанолу. Частіше промивні води піддають простій перегонці (рис. 4) з метою зміцнення етанолу. Промивні води в емкості 1 нагрівають до кипіння електронагрівником 2, газом або будь-яким іншим
Рис. 4. Схема простої перегонки
доступним підприємству теплоносіем. Пари спирту із во-дою, які утворюються, надходять у конденсатор 3, з якого конденсат збирається в збір-нику відгону 4. При цьому одержують відгін, що містить до 88 % спирту.
На великих фармацевтичних заводах рекуперацію екстрагента зі шроту проводять у перколяторах після повного зливувитяжки методом перегонки з водяною парою (рис. 5). Для прискорення процесу рекуперації одночасно використовують «глуху» і «гостру» пару. «Глуха» пара подається в оболонку 1 перколятора 2 крізь штуцер 5. «Гостра» пара надходить через нижній штуцер 4 і змішується із сировиною 3. У результаті такої подачі теплоносія сировина швидко прогрівається, етанол, що міститься в сировині, закипає і видаляється з верхньої частини перколятора через патрубок 6 із парами води. Суміш спирту і води направ-ляється в теплообмінник 7, із якого конденсат надходить у збірник відгону 8.
Рис. 5. Схема рекуперації екстрагента зі шроту методом перегонки з водяною парою
Отриманий відгін використовують як екстрагент, якщо його концентрація відповідає необхідній. При інших концентраціях відгін використовують для приготування екстрагента для сировини того ж найменування, тому що ароматичні сполуки сировини переганяються разом із етанолом. Рекуперати і відгони, що міс-тять 30—40 % етанолу і вище, можуть бути зміцнені та очищені ректифікаціею.
Глава 3. Рідкі екстракти
3.1 Визначення
Екстракти (від лат. ехігасіит — витяжка, витяг) це концентровані витяжки із висушеної рослинної або тваринної сировини.
Вони можуть бути класифіковані в залежності від консистєнції на:
екстракти рідкі,
екстракти густі,
екстракти сухі;
або від використаного екстрагента:
водні,
спиртові,
ефірні,
олійні,
отримані за допомогою зріджених газів.
Крім того, виділяють стандартизовані екстракти або екстракти-концентрати.
Рідкі екстракти бувають тільки спиртовими; інші можуть бути спиртовими, водними, ефірними та ін.
3.2 Рідкі екстракти
Рідкі екстракти — це рідкі концентровані водно-спиртові витяжки з лікарської рослинної сировини (ЛРС), одержані в співвідношенні 1:1. На фармацевтичних підприємствах рідкі екстракти готують за масою (з 1 кг сировини одержують 1 кг рідкого екстракту).
Рідкі екстракти знайшли широке розповсюдження у фарма-цевтичній промисловості, тому що мають такі переваги:
однакові співвідношення між діючими речовинами, що містяться в лікарській сировині та в готовому препараті;
зручність у відмірюванні в умовах аптек бюретками і піпетками;
можливість одержання без застосування випарювання дозволяє отримати рідкі екстракти, що містять леткі речовини (ефірні масла).
До негативних характеристик рідких екстрактів належать:
насиченість їх супутніми речовинами, витягнутими з рослинної сировини;
поява осадів при незначних зниженнях температури або частковій втраті спирту;
необхідність у герметичній закупорці і зберіганні при температурі 15—20 °С;
містять великі об’єми екстрагента, є малотранспортабельними препаратами.
3.3 Способи одержання
Рідкі екстракти одержують методами перколяції, реперколяції (у різних варіантах), дробної мацерації різних модифікацій, розчиненням густих і сухих екстрактів.
Перколяція у виробництві рідких екстрактів на стадіях набухання і настоювання не відрізняється від перколяції у виробництві настойок. На стадії власне перколяції процес проводиться аналогічно і з тіеї ж швидкістю; відмінність тільки у зборі готових витяжок. Для рідких екстрактів витяжки розділяють на дві порції. Першу порцію в кількості 85 % щодо маси сировини збирають в окрему емкість. Потім проводять перколяцію в іншу емкість до повного виснаження сировини. При цьому одержують у 5—8 разів (відповідно до маси завантаженої в перколятор сировини) більше слабких витяжок, які називають «відпуском». Відпуски упарюють під вакуумом при температурі 50—60 °С до 15 % щодо маси сировини, завантаженої в перколятор. Після охоло-дження згущений залишок розчиняють у першій порції витяжки. Одержують витяжки в співвідношенні 1:1.
Реперколяція, тобто повторна (багаторазова) перколяція, що дозволяє максимально використовувати розчинювальну здатність екстрагента, одержувати концентровані витяжки при повному виснаженні сировини. У всіх випадках процес проводять у батареї перколяторів (від 3 до 10), що працюють у взаємозв'язку. У батареї зливання готового продукту проводять із перколятора, в якому завжди свіжа сировина, а свіжий екстрагент подають у перколятор, де найбільш виснажена сировина. Витяжками з першого перколятора обробляють сировину в наступному перколяторі, і так у всій батареї — наступна сировина екстрагується витяжками, отриманими з попередніх перколяторів. У такий спосіб від першого до останнього перколятора в батареї здійснюється протитечійний рух сировини і екстрагента. У міру виснаження сировини змінюється положення «головного» і «хвостового» перколяторів.
Існують різні варіанти реперколяції з розподілом сировини на рівні і нерівні частини, із закінченим і незакінченим циклом, які дозволяють одержати концентровані витяжки без подальшого упарювання.
Реперколяція з розподілом сировини на рівні частини з неза-кінченим циклом проводиться в батареї перколяторів (рис. 6).
Першу порцію сировини, призначену для завантаження, попередньо замочують рівним або половинним об’ємом екстрагента відносно маси сировини. Після набухання протягом 4—6 год матеріал укладають у перколятор і настоюють 24 год із подвійним у відношенні до маси сировини об’ємом екстрагента.
Після закінчення зазначеного часу проводять перколяцію до повного виснаження сировини з поділом витяжок на першу порцію в кількості 80 % від маси сировини, яку вважають готовим продуктом;
другу порцію (менш концентровані витяжки) — у кількості, рівній масі сировини і призначену для намочування сировини для перколятора II;
третю порцію — відпуск 2 у подвійній кількості щодо маси сировини і призначену для настоювання сировини в перколяторі II;
четверту порцію — відпуск 3 в кількості, що майже в 6 разів перевищує масу сировини, і призначену для екстрагування (перколяції) сировини в перколяторі II.
3 перколятора II одержують 100 % готового продукту (ГП) відносно маси сировини в перколяторі і збирають відпуски для роботи із сировиною в черговому перколяторі.
3 останнього перколятора одержують 100 % готового продукту і відпуски, що використовують для обробки наступної партії аналогічної сировини. Усі порції готового продукту, отримані з кожного перколятора, об’єднують.
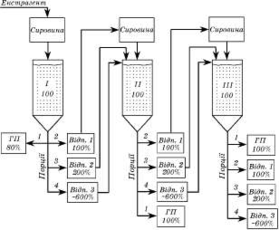
Реперколяція з розподілом сировини на рівні частини із закінченим циклом проводиться в батареї перколяторів (рис. 7).
Рис. 6. Схема реперколяції з розподілом сировини на рівні частини із незакінченим циклом
Рис. 7. Схема реперколяції з розподілом сировини на рівні частини із закінченим циклом
Кількість перколяторів у батареї залежить від властивостей сиро-вини, чим складніше екстрагується сировина, тим більше число перколяторів входить у батарею.
Сировину, розділену на рівні частини, завантажують у перколятори. У перколяторі I сировину замочують для набухання протягом 4—6 год, після чого в перколятор подають екстрагент до «дзеркала» і настоюють 24 год. Потім перколюють в окрему емкість, одержуючи 80 % готового продукту (III 1 — 80 %) у відношенні до маси сировини в цьому перколяторі.
Перколяцію продовжують до повного виснаження сировини в іншу емкість — одержують «відпуск 1». Цим відпуском 1 прово-дять замочування, настоювання і перколяцію сировини в перколяторі II, з якого одержують готовий продукт (III 2 — 100 %) у кількості, рівній 100 % щодо маси сировини в перколяторі, і відпуск 2. Відпуском 2 проводять замочування, настоювання і перколяцію сировини в перколяторі III, з якого одержують (III 3 — 100 %) готовий продукт 3 у кількості, рівній 100 % відносно маси сировини в перколяторі і відпуск 3. Так ведуть процес у кожному наступному перколяторі, якщо їх більше трьох. Відпуск останнього перколятора упарюють до 20 %, яких не вистачає, готового продукту, злитого з перколятора I. При цьому одержують на 300 кг сировини рідкого екстракту: 80 + 100 + 100 + 20 = 300 л (кг), тобто у співвідношенні 1:1.
Реперколяція за методом Босіна. Сировину завантажують у рів-них кількостях у кожний перколятор батареї (рис. 8). Сировину в перколяторі I екстрагують чистим екстрагентом, у наступних — відпусками після витягу сировини з попередніх перколяторів. Готовий продукт одержують тільки з останнього перколятора в об’ємі, рівному всій масі матеріалу, що екстрагується, тобто 1:1.
Рис. 8. Схема реперколяції за Босіним
Реперколяція з розподілом сировини на нерівні частини за Фармакопеями США і Німеччини. Ці варіанти реперколяції офіцинальні в зазначених країнах.
Відповідно до Фармакопеї США вихідну сировину приймають за 100 % і завантажують у перколятори в співвідношенні 5:3:2 (рис. 9).
Рис. 9. Схема реперколяції з розподілом сировини на нерівні частини фармакопеєю США
Роботу починають із найбільшою порціею сировини та оброб-ляють її чистим екстрагентом. Перколят збирають у два прийоми: III 1 у кількості 20 % від загальної кількості сировини і відпуск, що використовують для набухання, настоювання і пер-коляції у перколяторі II. 3 перколятора II одержують III 2 в кількості 30 % від загальної кількості сировини і відпуск 2, який використовують для екстрагування сировини перколятора III. 3 перколятора III збирають 50 % готового продукту відносно до маси сировини. Усього одержують 20 + 30 + 50 = 100 % готового продукту на 100 % вихідної сировини, тобто 1:1.
Відповідно до Німецької фармакопеї всю суху сировину заван-тажують у три перколятори в співвідношенні 5: 3,25: 1,75 і про-водять процес, аналогічно описаному вище, для фармакопеї США.
Реперколяція з розподілом сировини на нерівні частини за Фар-макопеями США і Німеччини може застосовуватися для невеликих виробництв при одержанні незначної кількості продукту, тому що в цих модифікаціях реперколяції сировина в другому і в третьому перколяторах виснажується не повністю. Найменше сировина виснажується в третьому перколяторі.
Метод реперколяції Чулкова. Запропонований у 1943 році, знайшов застосування на фармацевтичних виробництвах, що довгостроково працюють за ціею схемою. Екстрагування проводять у батареї з чотирьох і більше перколяторів. Розрізняють два періоди: у пусковий період щодня завантажують по одному перколятору; зливання готового продукту не проводять. У кожний перколятор завантажують рівну кількість сировини, що попередньо заливають рівною кількістю чистого екстрагенту (для першого перколятора) або витягом, отриманим із попереднього перколятора (для другого і всіх наступних перколяторів). Набухлу сировину завантажують у перший перколятор, заливають екстрагентом до «дзеркала» і залишають на добу. Наступного дня з першого перколятора зливають витяжки в два прийоми: першу витяжку — в об’ємі, рівному масі сировини, завантаженої в перколятор, який використовують для замочування сировини в другому перколяторі, і другий витяг — у подвійному об’ємі стосовно маси сировини, що використовують для настоювання сировини в другому перколяторі. У цей час у перший перколятор подають свіжий екстрагент у кількості, рівній сумі витяжок. На третій день із другого перколятора збирають також дві витяжки: для роботи із сировиною, призначеною для завантаження в третій перколятор. У другий перколятор подають витяжки з першого перколятора, а в нього знову подають свіжий екстрагент. Далі процес проводиться аналогічно. Через добу після завантаження останнього перколятора починається робочий період. У цей час з останнього перколятора зливають першу порцію готового продукту в об’ємі, рівному масі сировини в цьому перколяторі. Одночасно з першого перколятора зливають усі витяжки і подають їх у другий перколятор. Сировина в першому перколяторі повністю виснажена. Свіжий екстрагент подають у другий перколятор. Збір готового продукту робиться щодня з того перколятора, який знову завантажений сировиною.
Втрат біологічно активних речовин практично немає, тому що в кожному перколяторі сировина неодноразово обробляється свіжим екстрагентом і виснажується максимально.
Прискорена дробна мацерація протитечійним методом (за ЦАНДІ). Проведення екстрагування за ЦАНДІ дозволяє значно скоротити час на випуск готової продукції.
Сировину в сухому вигляді завантажують у рівних кількостях у три перколятори. Свіжий екстрагент подають тільки в перший перколятор, у три прийоми. Спочатку заливають сировину в пер-шому перколяторі «до дзеркала» і настоюють 2 год. Після закінчення цього терміну витяжку з першого перколятора переносять у другий перколятор, а в перший перколятор знову подають свіжий екстрагент «до дзеркала». Сировину в обох перколяторах настоюють 2 год, після чого витяжку з другого перколятора переносять на сировину в третій перколятор, у другий — переносять витяжку з першого перколятора, а в перший — знову (утрете) подають свіжий екстрагент. Завантажені перколятори залишають для настоювання на 24 год. Наступного дня з третього перколятора зливають усю витяжку, що є готовим продуктом. 3 другого перколятора всю витяжку переносять у третій перколятор. 3 першого перколятора витяжки зливають, сировину вивантажують і віджимають. Усі витяжки з першого перколятора об’єднують і використовують для настоювання сировини в другому перколяторі. Обидва перколятори залишають на 2 год. Потім із третього перколятора зливають другу порцію готового продукту. 3 другого перколятора повністю зливають витяжку, сировину вивантажу-ють і віджимають. Усі витяжки з другого перколятора передають у третій перколятор, настоюють 2 год. Після закінчення цього часу одержують третю порцію готового продукту, до якого приєднують віджим з останнього перколятора.















