91301 (590046), страница 3
Текст из файла (страница 3)
2.1 Визначення настойок
Настойки — це рідкі спиртові або водно-спиртові витяжки, одержані з висушеної або свіжої рослинної чи тваринної сировини без нагрівання і усунення екстрагента.
При виготовленні настойок з одніеї масової частини рослинної сировини одержують 5 об’ємних частин готового продукту, із сильнодіючої сировини — 10 частин. В окремих випадках настойки готують в інших співвідношеннях із сировини, що не містить сильно-діючих речовин (настойки арніки, календули, глоду, м'яти, софори).
Настойки можуть бути простими, тобто з одного виду сировини, і складними (суміш витяжок із декількох рослин, іноді з додаванням лікарських речовин).
2.2 Способи одержання настойок
Настойки одержують розчиненням густих і сухих екстрактів, але в промислових умовах найчастіше — екстракцій-ними методами:
мацераціею та її різновидами;
перколяціею.
МАЦЕРАЦІЯ
Раніше метод мацерації (від лат. тасегаііо — вимочування), або настоювання, був дуже поширеним. Тепер його застосування поступово скорочується, тому що при екстрагуванні цим методом важко досягти повноти витягу лікарських речовин із рослинного матеріалу.
При одержанні настойок мацераціею здрібнену сировину із запропонованою кількістю екстрагента завантажують у мацера-ційний бак і настоюють при температурі 15—20 °С, періодично перемішуючи. Якщо немає спеціальних указівок, то настоювання триває протягом 7 діб. Після цього витяжку зливають, залишок віджимають, віджату сировину промивають невеликою кількістю екстрагента, знову віджимають, віджату витяжку додають до вже злитої і потім об’єднану витяжку доводять екстрагентом до необхідного об’єму.
Цей метод малоєфективний, повільний, сировина не до кінця виснажується. 3 метою інтенсифікації екстрагування матеріалу процес проводять із застосуванням дробної мацерації (ремацерації), мацерації з примусовою циркуляціею екстрагента, вихрової екстракції (турбоєкстракції), ультразвуку та ін.
Ремацерація, або дробна мацерація з розділенням на частини екстрагента (або сировини і екстрагента). Загальну кількість екстрагента ділять на 3—4 частини і послідовно настоюють сировину з першою частиною екстрагента, потім з другою, третьою і четвертою, щоразу зливаючи витяжку. Час настоювання залежить від властивостей рослинного матеріалу. Таке проведення екстрагування дозволяє при менших витратах часу повніше виснажувати сировину, адже постійно підтримується висока різниця концентрацій у сировині та екстрагенті.
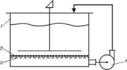
Мацерація з примусовою ииркуляцією екстрагента. Проводиться в мацераційному баку 1 (рис. 2) із перфорованим дном 3, на який укладено фільтрувальний матеріал 2. Екстрагент, відділений від сировини перфорованим дном, за допомогою насоса 4 прокачується крізь сировину до досягнення рівноважної концентрації. При цьому час настоювання скорочується в кілька разів. 3 примусовою циркуляціею екстрагента проводять також дробну мацерацію. Таким чином досягається більш повне виснаження сировини при таких же витратах екстрагента.
Рис. 2. Мацераційний бак із циркуляцією екстрагента
Вихрова екстракція, або турбоєкстракція, ґрунтується на вихровому, дуже інтенсивному перемішуванні сировини і екстрагента при одночасному здрібнюванні сировини. Турбінна мішалка обертається із швидкістю 8000—13 000 об/хв. Час екстракції скорочується до 10 хв. Одержані настойки — стандартні.
Ультразвукова екстракція. Для інтенсифікації мацераційного процесу ефективне застосування ультразвукових коливань. При цьому прискорюється екстрагування і досягається повнота витягу діючих речовин. Джерело ультразвуку кріплять до корпусу мацераційного бака в місці, заповненому екстрагентом і сировиною. Найбільший ефект від впливу ультразвуку виявляється тоді, коли клітина матеріалу, що екстрагується, добре насичена екстрагентом, який проводить ультразвук. Ультразвукові хвилі, що виникають, створюють знакоперемінний тиск, кавітацію і «звуковий вітер». Унаслідок цього прискорюється просочуваність матеріалу і розчинення вмісту клітини, збільшується швидкість обтікання частинок сировини, у пограничному дифузійному шарі екстрагента виникають турбулентні і вихрові потоки. Молекулярна дифузія в клітинах матеріалу та в дифузійному шарі змінюється на конвективну, що приводить до інтенсифікації масообміну. Виникнення кавітації викликає руйнування клітин. При цьому екстрагування прискорюється через вимивання екстрактивних речовин із зруйнованих клітин і тканини. При озвучуванні витяжку можна одержати за декілька хвилин.
До інших видів динамізації мацерації належать: подрібнення сировини в середовищі екстрагента, наприклад у кульовому млині; ремацерація, яка супроводжується пресуванням на гідравлічних пресах або вальцях. В останньому випадку процес повторюється до досягнення рівноважних концентрацій, що дозволяє скоротити втрати діючих речовин і екстрагента, тому що в шроті залишається незначний об’єм витяжки. У готовій настойці міститься висока кількість екстрактивних речовин.
ПЕРКОЛЯЦІЯ
Рис. 3. Перколятори-екстрактори
Перколяція (від лат. регсоіаііо — проціджування крізь...), тобто проціджування екстрагента крізь рослинний матеріал з метою одержання витяжки розчинних у екстрагенті речовин. Процес проводиться в емкостях різної конструкції, названих перколяторами-екстракторами (рис. 3). Вони можуть бути циліндричної а, в або конічної б форми, із паровою оболонкою в або без неї, що перекидаються і саморозвантажуються, виготовлені з нержавіючої сталі, алюмінію, лудженої міді та інших матеріалів. У нижній частині перколятора є перфорована сітка 2, на якій розташовують фільтрувальний матеріал 1 (мішковину, полотно та інше), і завантажують сировину. Циліндричні перколятори зручні в роботі при вивантаженні сировини, конічні — забезпечують більш рівномірне екстрагування.
Метод перколяції включає три стадії, які послідовно проходять одна за одною: замочування сировини (набухання сировини), настоювання, власне перколяція.
Замочування (набухання) проводиться поза перколятором. Частіше для цього використовують мацераційні баки або інші емкості, із яких зручно вивантажувати замочену сировину. Для замочування використовують від 50 до 100 % екстрагента відносно маси сировини. Після перемішування сировину залишають на 4—5 год у закритій емкості. За цей час екстрагент проникає між частинками рослинного матеріалу та усередину клітин, сировина набухає, збільшуючись в об’ємі. При цьому відбувається розчинення діючих речовин усередині клітини.
У виробничих умовах замочування може бути поєднане з настоюванням, але якщо сировина здатна сильно набухати, стадію замочування обов'язково проводять в окремій емкості, тому що внаслідок значного збільшення об’єму матеріалу в перколяторі сировина може сильно спресовуватися і не пропустити екстра-гент.
Настоювання — друга стадія процесу перколяції. Набухлий або сухий матеріал завантажують у перколятор на перфороване дно з оптимальною щільністю, щоб у сировині залишалося якнайменше повітря. Зверху накривають фільтрувальним матеріалом, притискають перфорованим диском і заливають екстрагентом так, щоб максимально витиснути повітря. Можливе завантаження матеріалу в мішок із фільтрувального матеріалу, який заповнює весь об’єм перколятора. У верхній частині мішок зав'язують і кладуть тягар. Сировину заливають екстрагентом до утворення «дзеркала», товщина шару якого над сировиною має дорівнювати 30—40 мм, і про-водять настоювання 24—48 год, протягом яких буде досягнута рівноважна концентрація. Для багатьох видів сировини час настоювання може бути скороченим внаслідок особливостей її морфолого-анатомічної будови.
Власне перколяція — безперервне проходження екстрагента через шар сировини та збір перколяту. При цьому зливання перколяту та одночасна подача зверху екстрагента проводяться зі швидкістю, що не перевищує 1/24 або 1/48 (для великих виробництв) робочого об’єму перколятора за 1 год. При цьому насичена витяжка витісняється з рослинного матеріалу потоком свіжого екстрагента, і утворюється різниця концентрацій речовин, що екстрагуються, у сировині і екстрагенті. Швидкість перколяції повинна бути такою, щоб встигала відбутися дифузія екстрагованих речовин у витяжку. При готуванні настойок перколяцію закінчують одержанням п'ятьох або десятьох об’ємів (залежно від властивостей сировини) витяжки у відношенні до маси заванта-женої сировини.
При одержанні настойок у промисловості для максимальної інтенсифікації екстрагування в процес перколяції вносять зміни. Часто замість звичайної перколяції використовують настоювання, циркуляцію та їх поєднання.
В одному із варіантів перколяції першу, досить концентровану витяжку, зливають окремо, повністю видаляючи її з перколятора. Потім перколятор заповнюють свіжим екстрагентом, який після настоювання протягом 3—6 год зливають повністю. Отриману другу витяжку приєднують до першої, а із сировиною проводять ще 1—2 подібні операції, поки не зберуть необхідну кіль-кість витяжки.
В іншому випадку в процесі настоювання проводять циркуляцію екстрагента в перколяторі-екстракторі за допомогою насоса, що подає витяжку з нижньої частини у верхню. Така циркуляція екстрагента відбувається до рівноважної концентрації. Час настоювання скорочується багаторазово. Далі проводять перколяцію витісненням чистим екстрагентом так, як описано в стадії «власне перколяція».
Отримані витяжки — це каламутні рідини, що містять значну кількість завислих частинок. Очищення витяжок проводять відстоюванням при температурі не вище 10 °С до одержання прозорої рідини. При цій температурі зменшується розчинність екстрагованих речовин і тому надалі, у процесі зберігання настойок при температурі 15 °С, імовірність появи осаду незначна. Після відстоювання понад 2 доби проводять фільтрування декантаціею (тобто без скаламучування осаду). Для фільтрації застосовують фільтр-преси, друк-фільтри, центрифуги. Нутч-фільтри використовувати не рекомендується із-за можливої втрати екстрагента. Завершальною стадіею процесу одержання препаратів із сировини з клітинною структурою є рекуперація екстрагента із відпрацьованої сировини — шроту.
РОЗЧИНЕННЯ ГУСТИХ АБО СУХИХ ЕКСТРАКТІВ
Розчиненням сухих або густих екстрактів у спирті необхідної концентрації готують невелике число настойок. Цим методом одержують настойку блювотного горіха, який має отруйне насіння, що важко порошкується із-за великої твердості. При цьому використовують сухий екстракт.
Розчиненням густого або сухого екстракту солодки готують грудний еліксир.
Технологія одержання настойок цим методом зводиться до простого розчинення в реакторі з мішалкою розрахованої кількості сухого або густого екстракту в спирті необхідної концентрації. Отримані розчини фільтрують. Цей метод характеризується значним скороченням часу одержання настойки.
2.3 Стандартизація
До загальних методів оцінки якості настойок відносять: перевірку органолептичних ознак, кількісне визначення спирту або відносної густини, сухого залишку, важких металів, мікробіологічної чистоти, об’єм вмісту контейнера.
Перевірка органолептичних ознак. Настойки повинні бути прозорими і зберігати смак і запах тих речовин, які містяться у вихідній сировині.
Вміст спирту в настойках визначають одним із методів ДФУ:
а) дистиляційним;
б) за температурою кипіння.
Сухий залишок (екстрактивні речовини) і важкі метали в настойках визначають за ДФУ.
У переважній більшості настойок вміст діючих речовин визначають хімічним (настойки, що містять алкалоїди, дубильні речовини, ефірні масла, органічні кислоти та інші) або біологічним (настойки, що містять глікозити серцевої групи і гіркі речовини) методом. Вміст (масову або об’ємну частку) речовин у настойках, які визначаються, виражають у відсотках. Якщо кількість діючих речовин у настойках вища за встановлену межу або більшої біологічної активності, їх розбавляють чистим екстрагентом або настойкою зі зведеним вмістом діючих речовин. При отриманні діючих речовин нижчих за норму їх зміцнюють додаванням більш концентрованої настойки.
2.4 Зберігання настойок
Настойки необхідно зберігати в добре закупорених склянках у місці, захищеному від прямих сонячних променів, при температурі 15 °С. 3 часом в них можуть з'являтися осади і при дотриманні правил зберігання — настойки «старіють». Це пов'язано зі зміною розчинності біологічно активних речовин і утворенням нерозчинних сполук, у результаті взаємодії присутніх у настойках речовин. В осаді можуть міститися цукор, дубильні речовини, органічні кислоти, пігменти, сліди алкалоїдів, глюкозидів та інші, настойки з осадом відфільтровують і знову стандартизують. У разі відповідності числових показників вимогам ДФУ їх дозволяється застосовувати.
Настойки використовують для приймання усередину і як зовнішні засоби.
2.5 Класифікація i номенклатура настойок
Усі настойки, що виготовляються в промислових умовах, можна розділити на дві групи: прості і складні.
Прості настойки частіше одержують способом перколяції. При одержанні настойок у співвідношенні 1: 5 із метою досягнення повноти виснаження сировини екстрагування проводять із засто-суванням циркуляційного перемішування за допомогою відцент-рових насосів. Асортимент простих настойок наведено в табл. 1.
Настойки складні. Представником ціеї, раніше великої групи настойок є настойка гірка, до складу якої вхо-дять: трава золототисячника — 6 г; листя бобівника — 6 г; корневища аїру — 3 г; трава полину — 3 г; шкірка мандарина — 1 г.
Таблиця 1
Номенклатура (із реєстра лікарських засобів) і основні показники простих настойок
| Найменування настойок | Сировина, спирт, співвідношення, спосіб одержання | Основні відомості про настойки |
| Настойка аралії | Корені, 70 %-вий, 1:5, перколяція | Сапоніни тритерпінові. Тонізуючий засіб |
| Настойка арніки | Квіти, 70 %-вий, 1:5, перколяція | Ефірне масло. Каротиноїди. Зовнішньо при ударах і дрібних пораненнях. Також в акушерсько-гінекологічній практиці |
| Настойка женьшеню | Корені, 70 %-вий, 1:10, мацерація | Сапоніни тетрациклінового ряду. Стимулятор ЦНС |
| Настойка заманихи | Кореневища і ко-рені, 70 % -вий, 1:5, перколяція | Сапоніни стероїдні. Тонізуючий засіб |
| Настойка звіробою | Трава, 40 % -вий, 1:5, перколяція | Антраценпохідні. При лікуванні гінгівітів і стоматитів |
| Настойка з листя барбарису звичайного | Листя, 70 %-вий, 1:10, перколяція | Алкалоїди — берберин, ок-сіакантин, бербамін, ятрорицин. При анатомічних кровотечах у післяродовий період, субінволюції матки |
| Настойка глоду | Плоди, 70 %-вий, 1:10, перколяція | Флавоноїди. При функціональних розладах серцевої діяльності |
| Настойка календули | Квіти календули, 70 %-вий, 1:10, перколяція | Вітаміни. При порізах, гнійних ранах і виразках. Жовчогінний засіб |
| Настойка беладони | Листи, 40 %-вий, 1:10, перколяція | Алкалоїдів 0,027—0,033 %. Спазмолітичний засіб |
| Настойка конвалії | Трава, 70 %-вий, 1:10, перколяція | Карденоліди, 10—13 ЖОД. Кардіотонічний засіб |
| Настойка лимонника | Насіння, 95 %-вий, 1:5, мацерація | Лігнани, ефірне масло. Стимулятор ЦНС |
| Настойка м'яти перцевої | Листя та ефірне масло, 90 % -вий, 1:20 + 5 % масла, перколяція і реперколяція | Ефірне масло (ментол). При нудоті і для поліпшення травлення. Входить до складу мікстур як коригент |
| Настойка перцю стручкового | Плоди, 90 % -вий, 1:10, перколяція | Алкалоїди. Зовнішній по-дразнювальний засіб |
| Настойка півонії | Корені, кореневища і трава півонії, 40 %-вий, 1:10, перколяція | Заспокійливий засіб. При неврастенії, безсонні, вегетативно-судинних порушеннях |
| Настойка полину | Трава, 70 %-вий, 1:5, перколяція | Ефірне масло, гіркі глікозиди. Ароматні гіркоти |
| Настойка собачої кропиви | Трава, 70 %-вий, 1:5, перколяція | Флавоноїди. Седативний засіб |
| Настойка софори японської | Плоди, 48 % -вий, 1:2, перколяція | Флавоноїди. Для лікування виразок і опіків |
| Настойка вовчуга польового | Корені, 20 %-вий, 1:15, перколяція | Сапоніни тритерпінові і флавоноїди. Протигеморойний засіб |
| Настойка стеркулії | Листя, 70 %-вий, 1:5, перколяція | Алкалоїди. Тонізуючий засіб |
| Настойка евкаліпта | Листи, 70 % -вий, 1:5, перколяція | Ефірне масло (ціанол). Дезінфікувальний (примочки, полоскання) протималярійний засіб |
2.6 Рекуперація екстрагентів 13 відпрацьованої сировини















