63504 (588978), страница 4
Текст из файла (страница 4)
Для предотвращения утечки информации в компьютерных системах компанией Lucent Technologies разработаны специальные модули, защищающие информацию от несанкционированного доступа, а также модули, позволяющие отслеживать злонамеренные вызовы в ИС [6].
Компания предлагает для использования пакет основных услуг ИС, в него входят: бесплатный телефон, дополнительная плата, телефонное голосование, телефонная карта, персональный номер, виртуальная частная сеть.
Для эксплуатации ИС и управления ею на узле SCP может быть предусмотрен интерфейс к автоматизированным системам технической эксплуатации и управления трафиком компании Lucent Technologies, таким как NFM/NOC1 (для управления сетевыми элементами ИС) и NetMinder (для управления трафиком ИС). Данные системы могут быть интегрированы в единый центр технической эксплуатации оператора связи.
Рисунок 3.4 - Архитектура узла SCP производства Lucent Technologies
3.4 Обоснование выбора оборудования для создания интеллектуальной сети
В соответствии с рекомендацией ITU-T 1.312/Q. 1201 определение интеллектуальной сети звучит следующим образом.
Интеллектуальная сеть - это архитектурная концепция предоставления новых услуг связи, обладающих следующими основными характеристиками:
- широкое использование современных методов обработки информации;
- эффективное использование сетевых ресурсов;
- модульность и многоцелевое назначение сетевых функций;
- интегрированные возможности разработки и внедрения услуг средствами модульных и многоцелевых сетевых функций;
- стандартизованное взаимодействие сетевых функций посредством независимых от услуг сетевых интерфейсов;
- возможность управления некоторыми атрибутами услуг со стороны абонентов и пользователей;
- стандартизованное управление логикой услуг [7].
Кроме того, следует отметить, что концепция ИС применима практически ко всем известным сегодня типам сетей, таким как:
- телефонная сеть общего пользования PSTN (Public Switched Telephone Network);
- сеть связи с подвижными системами PLMN (Public Land Mobile Network);
- узкополосная и широкополосная цифровые сети с интеграцией служб N(B) - ISDN (Narrowband (Broadband) Integrated Services Digital Network).
Опыты внедрения услуг и создания ИС операторов связи зарубежных стран, а также стран СНГ (особенно опыт России) показывают, что самым оптимальным считается создание ИС на базе существующего оборудования. Это обеспечивает в короткий срок без кардинальных изменений создание узлов ИС. Поэтому с учетом особенностей сети телекоммуникаций, а также сравнивая технические возможности оборудований различных фирм в настоящем дипломном проекте предлагаю создать интеллектуальную сеть в г.Кокшетау на базе оборудования S-12 фирмы Alcatel [6].
Выбор оборудования не случаен, так как на сети города полностью эксплуатируется данная система. Это позволяет оптимально решить вопросы по синхронизации, сигнализации и по эксплуатации. Создание узла ИС на базе платформы интеллектуальных услуг S-12 предлагаю на новой станции S-12 АТС-23. Данная станция находится в центре города, это позволяет также оптимально решить вопросы по созданию центра трафика не только телефонных услуг, а также других «не телефонных» видов связи, в том числе интеллектуальных услуг. Выбор интеллектуальной платформы на основе существующего оборудования S-12 в конечном итоге отражается и на технико-экономических показателях оператора.
4 Техническая реализация интеллектуальной сети
4.1 Архитектура интеллектуальной сети
Согласно рекомендации ITU-T Q.I201 основополагающим требованием к архитектуре ИС является отделение функций предоставления услуг от функций коммутации и распределение их по различным функциональным подсистемам. Функции коммутации, как и для традиционных сетей, остаются в базовой сети связи, а функции управления, создания и внедрения услуг выносятся в создаваемую отдельно от базовой сети «интеллектуальную» надстройку, взаимодействующую с базовой сетью посредством стандартизованных интерфейсов [13].
Требование стандартизации протоколов обмена между базовой сетью и интеллектуальной надстройкой освобождает операторов сетей от существовавшей ранее зависимости от поставщиков коммутационного оборудования. Взаимодействие между функциями коммутации и управления услугами осуществляется посредством прикладного протокола интеллектуальной сети INAP, стандартизованного ITU-T в рекомендации Q.1205. Управление созданием и внедрением услуг осуществляется через прикладной программный интерфейс API (Application Programm Interface). Таким образом, стандартизованные интерфейсы ИС делают сеть открытой для независимых изменений, как в интеллектуальной надстройке, так и в базовой сети [7].
Функциональная архитектура (рисунок 4.1) наглядно отражает одну из основных идей реализации ИС по формуле:
ИНТЕЛЛЕКТУАЛЬНАЯ СЕТЬ = КОММУТАТОР + КОМПЬЮТЕР
К этой формуле на протяжении многих лет стремились как производители коммутационного оборудования, так и производители СВТ (средств вычислительной техники). При этом первые получали возможность гибкого и оперативного создания и внедрения новых услуг связи без существенных изменений в коммутационном оборудовании, а вторые - выход на один из крупнейших сегментов рынка новых информационных технологий. На сегодняшний день видна устойчивая тенденция к глубокому взаимопроникновению этих двух технологий. Это приводит в будущем к созданию инфокоммуникационной сети следующего поколения.
Рисунок 4.1 - Схема функциональной архитектуры ИС
4.1.1 Принципы предоставления услуг ИС
На рисунке 4.2 дана классическая схема физической архитектуры ИС, в состав которой входят следующие элементы [6]:
- SSP (Service Switching Point) - узел коммутации услуг, представляющий собой АТС с соответствующей версией программного обеспечения и выполняющий функцию управления вызовом и функцию коммутации услуги;
- SCP (Service Control Point) - узел управления услугами (контроллер услуг), делает возможной работу с базой данных с транзакцией в реальном масштабе времени (РМВ). SCP интерпретирует поступающие запросы, обрабатывает данные и формирует соответствующие ответы;
- SDP (Service Data Point) - узел базы данных услуг, содержащий данные, используемые программами логики услуги, чтобы обеспечить индивидуальность услуги;
- IP (Intelligent Peripheral) - интеллектуальные периферийные устройства, представляющие собой независимые от используемых приложений устройства интеллектуальных ресурсов, обеспечивающие дополнительные к SSP возможности;
- SMP (Service Management Point) - узел менеджмента услуг, реализующий функции административного управления пользователями и/или сетевой информацией, включающей данные об услугах и программную логику услуги;
- SCEP (Service Creation Environment Point) - узел создания услуг, выполняет функцию среды создания услуг и служит для разработки, формирования и внедрения услуг в пункте их обеспечения SMP.
Рисунок 4.2 - Упрощенная схема ИС
Узлы упрощенной схемы ИС размещены на трех уровнях иерархии:
- узел коммутации услуг SSP с интеллектуальной периферией IP;
- узел управления услугами SCP с узлом данных услуги (базой данных) SDP;
- узел менеджмента услуг SMP с узлом создания услуг SCEP [13].
Для получения услуги ИС пользователь сети набирает номер той АТС, которая обладает функциями SSP, а также код услуги и номер услуги. Пользуясь протоколом INAP, АТС с функциями SSP общается с узлом SCP и получает необходимую информацию для предоставления услуги и обслуживания вызова. В обслуживании вызова принимает участие IP (для передачи голосовых команд пользователю, сбора дополнительной информации и т. д.). Общение между SCP, SSP и IP происходит в режиме РМВ с учетом жестких временных ограничений на обслуживание телефонного вызова.
Подготовка новых услуг происходит в узле SCEP, а за введение новых услуг отвечает узел SMP. Эти два центра действуют в условиях относительного масштаба времени, и для передачи информации о новых услугах в узел SCP используется, например, протокол Х.25 или Frame Relay.
В соответствии с вышеизложенным, обобщенно структуру сети, представляющую интеллектуальные услуги, можно классифицировать по времени выполнения и по функциональному назначению.
По времени выполнения выделяют узлы, работающие в режиме РМВ и в режиме относительного масштаба времени. Узлы SCP, SDP, SSP и IP участвуют непосредственно в процессе обработки «интеллектуального вызова» и работают в режиме РМВ. К узлам SMO и SCEP таких условий не предъявляется. Услуги создаются и изменяются независимо от базового процесса вызова абонента. Поэтому такие работы могут производиться в любое время.
По функциональному назначению следует отделить уровень физической сети от уровня интеллектуальной услуги (рисунок 4.2). К уровню физической сети следует отнести узел SSP и IP. Лишь эти два блока имеют жесткую связь с ТфОП посредством каналов связи. Взаимодействие других узлов осуществляется только через каналы сигнализации.
4.1.2 Стандартизация концепции ИС
Сегодня ITU-T разрабатывает долговременную архитектуру ИС (Long Term IN Architecture), в основе которой лежит определение так называемых наборов возможностей CS, описывающих конкретные аспекты целевой архитектуры ИС [7].
Разработка CS-1 уже завершена в рамках рекомендаций серии Q.1200, определяющих функциональные возможности ИС, основанных на существующих сетевых технологиях, например ISDN, и ориентированных на поддержку услуг реализованных на базе сетей с коммутацией каналов. Отличительной особенностью данных услуг является то, что они могут быть активизированы только в процессе установления/разъединения соединения. По терминологии ITU-T услуги CS1 относятся к услугам типа «А» - являются одноконцевыми (Single Ended) с централизованной логикой управления (Single Point of Control).
Отметим, что ITU-T активно ведет работы по спецификации наборов CS-2 и CS-3 для широкополосных сетей, где также рассматриваются способы интеграции концепций ИС с сетью управления телекоммуникациями TMN. При спецификации очередного CS предполагается обратная связь с предыдущими этапами для внесения изменений в процесс эволюции ИС (рисунок 4.3).
В 1997 году были выпущены рекомендации по набору услуг CS-2 Q.1220-Q.1228, в 1999 году - Q.1229. В рекомендации Q.1221 впервые определены сервисы управления услугами и сервисы создания услуг.
Сервис управления услугами включает три основных сервиса: адаптации услуги под заказчика, мониторинга услуг, контроля услуг [9].
Сервис создания услуг в свою очередь отвечает за сервисы: спецификации услуг, разработки услуг, проверки услуг, развертывания услуг, управления созданием услуг.
Рисунок 4.3 - Процесс стандартизации ИС (по рекомендации Q.1211)
4.2 Концептуальная модель ИС
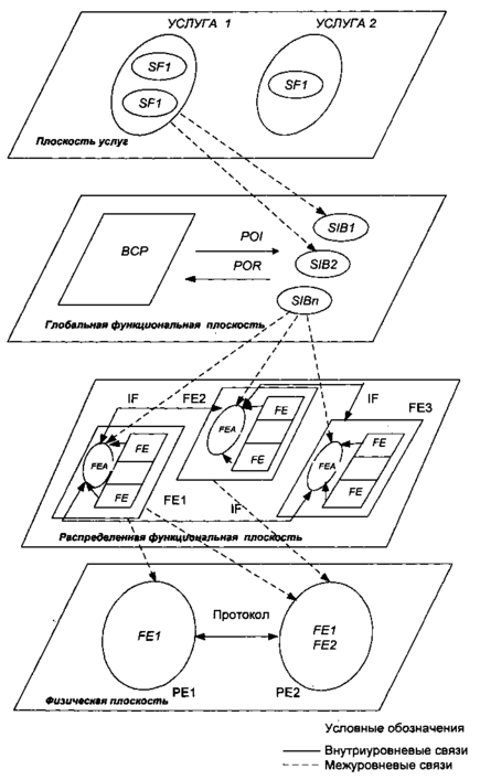
Согласно рекомендации ITU-T 1.312/Q. 1201 основой для стандартизации в области интеллектуальных сетей связи является абстрактная концептуальная модель (INCM - Intelligent Network Conceptual Model). Модель состоит из четырех плоскостей (рисунок 4.4) и отражает абстрактный подход к описанию ИС. Модель разделяет аспекты, относящиеся к услугам, и аспекты, связанные с сетью, что позволяет описывать услуги и возможности ИС независимо от базовой сети, над которой создается интеллектуальная надстройка [6].
Первый уровень - плоскость (план) услуг (Service Plane) представляет взгляд на ИС исключительно с точки зрения услуг. Здесь отсутствует информация о том, как именно осуществляется предоставление услуг сетью.
Второй уровень - глобальная функциональная плоскость GFP (Global Functional Plane) описывает возможности сети, которые необходимы разработчикам для внедрения услуг. Здесь сеть рассматривается как единое целое, даются модели обработки вызова ВСР и независимых от услуг конструктивных блоков SIB.
Третий уровень - распределенная функциональная плоскость DFP (Distributed Functional Plane) описывает функции, реализуемые узлами сети. Здесь сеть рассматривается как совокупность функциональных элементов, порождающих информационные потоки.
Четвертый уровень - физическая плоскость РР (Physical Plane) описывает узлы сети, содержащиеся в них функциональные элементы и протоколы взаимодействия [7].
На рисунке 4.4 используются следующие обозначения: SF (Service Feature) - характеристика услуги; ВСР (Basic Call Process) - базовый процесс вызова; FE (Functional Entity) - функциональная единица; FEA (FE Action) - действие FE; PE (Physical Entity) - физическая единица; SIB (Service Independent Block) - независимый от услуг конструктивный блок; IF (Information Flow) - информационный поток; POI (Point of Initiation) - точка инициации; FOR (Point of Return) - точка возврата.
















