63504 (588978), страница 3
Текст из файла (страница 3)
Рисунок 2.6 - Модель обслуживания вызова в ИС
Модель обслуживания вызовов в ИС включает в себя три основных компонента:
- технические средства обработки основных вызовов, которые выполняют ряд стандартных процессов вне зависимости от предоставляемых и планируемых к введению дополнительных услуг;
- определители вызовов (Hook), опознающие заявки, направляемые в ИС и временно приостанавливающие процесс обслуживания вызова на период обмена информацией с логической частью ИС;
- логическая часть ИС, содержащая аппаратные средства и ПО, как для создания дополнительных услуг и передачи информации, управляющей стандартными процессами обработки вызовов [6].
Такое разделение функций обслуживания вызова в интеллектуальной сети имеет ряд достоинств. Во-первых, в ИС для обработки основного вызова используются обычные телефонные станции. Во-вторых, для выполнения функций определителей вызова необходимо только небольшая коррекция существующих коммутационных систем, что чаще всего реализуется соответствующим ПО. И самое главное - централизованная логика услуг ИС позволяет оператору ускорить и упростить процесс ввода новых и коррекции существующих ИУ, что сказывается на экономичности всей сети.
3 Сравнение возможностей оборудования различных производителей
3.1 Платформа ИС фирмы Siemens
Данная платформа ИС фирмы Siemens широко применяется в странах СНГ. Например в России после утверждения Минсвязи России спецификаций национальной версии протокола INAP (INAP-R) в России были созданы условия для внедрения на ТфОП услуг ИС. В середине 1997 года ряду зарубежных фирм было предложено представить свои технические предложения на поставку платформы ИС для сети ОАО «Ростелеком». Одним из условий была обязательная реализация протокола INAP-R. Было принято решение о размещении платформы ИС в Москве, где уже функционировала комбинированная АМТС/ АТС типа EWSD (версия ПО 7.1) производства IskraTel. В рамках проекта требовалось модернизировать ПО этой станции до уровня 10-й версии с реализацией функций SSP и протокола INAP-R. В качестве платформы ИС было выбрано оборудование IN Xpress v.5.2 производства фирмы Siemens [7].
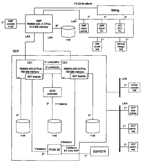
Платформа ИС IN Xpress v.5.2 выполняет функции SCP/SMP/SCEP (рисунок 3.1). Ее компоненты базируются на использовании открытой системы семейства серверов SNI RM (RM200/RM300/RM400/RM600), функционирующих под управлением операционной системы UNIX V.4. «Московский» проект базируется на использовании UNIX-серверов типа RM600, выполняющих все необходимые функции SCP и SMP, рабочей станции (RM200), предназначенной для административных целей, и ПК, служащих для контроля обслуживания абонентов. Функции SCEP (проектное название ASD - Advanced Service Design) выполняет рабочая станция на базе RM200. Платформе ИС присвоен код 100 в структуре системы нумерации ВСС России (8-80Х-100-ХХХХ).
Узел SCP реализован в соответствии с многопроцессорной архитектурой «клиент-сервер» и высокоскоростной локальной сетью Ethernet для обеспечения связи между компонентами. В состав SCP входит два компьютерных элемента СЕ1 и СЕ2, образующих кластерную конфигурацию, которая функционирует в режиме разделения нагрузки. Если один СЕ выходит из строя, второй принимает на себя все его функции по обслуживанию задач.
SCP осуществляет обработку трафика вызовов, генерируемых ИС, и поддерживает предоставление большого числа услуг, обладающих разнообразными требованиями к обработке и емкости баз данных [6].
Основными функциями SCP являются:
- обработка перегрузки;
- восстановление работоспособности/устранение ошибок функцио-нирования;
- централизованное управление сигнализацией о сбоях и ошибках;
- надзор и мониторинг функционирования системы;
- перезапуск/ перезагрузка системы;
- обработка данных по услугам и абонентам;
Рисунок 3.1 - Архитектура платформы ИС IN Xpress v.5.2
- администрирование глобальных данных;
- сбор статистических данных;
- тарификация;
- техническое обслуживание.
Интерфейс между SCP и SSP/IP поддерживает процедуру распределенной обработки вызова услуги ИС в структурах: клиент (SSP) - сервер (SCP) и клиент (SCP) - промежуточный объект (SSP) - сервер (IP) в соответствии с процедурой смены состояний динамической системы обработки вызова услуги ИС (Q. 1214) и прикладным протоколом INAP-R, использующим стек протоколов ОКС №7 TCAP/SCCP/MTP [18].
Основным назначением узла SMP являются:
- предоставление возможности модификации параметров логики услуг ИС со стороны оператора сети, модификация данных логики услуги, как со стороны оператора, так и со стороны абонентов (при соответствующих ограничениях уровня доступа), ввод этих данных в SCP;
- активизация услуг в SCP;
- обеспечение контроля за доступом пользователя SMP (оператор сети, абонент услуги, пользователь услуги);
- обеспечение получения, обработки и предоставления статистических данных;
- обеспечение возможности отслеживания и индикации нештатных и аварийных ситуаций.
SMP связан с SCP при помощи внутрисистемного интерфейса посредством локальной сети LAN с использованием протокола Ethernet (рисунок 3.1). Интерфейсы с внешним окружением (оператор сети, поставщики и абоненты услуг) базируются на протоколах Х.25, TCP/IP, RS232 - V.24. В проекте реализована конфигурация «ведущий-ведомый» из двух серверов типа RM600-420 семейства RM, производства фирмы Siemens Nixdorf (SNI).
Функции создания услуг (SCEP) выполняет рабочая станция, имеющая проектное название ASD. Основным назначением SCEP является создание новых услуг ИС, т.е. создание логики услуг (ЛУ) и описание массива данных, и предоставление всех необходимых средств для прикладного программирования ЛУ. Одно из преимуществ платформы INXpress v.5.2 - возможность реализации интерфейса между SCEP и SMP на базе протокола TCP/IP. SCEP обеспечивает определение услуг на уровне SIB, управление ими, их настройку.
Функции узла коммутации услуг (SSP) были реализованы в комбинированной станции АМТС/АТС системы EWSD (версия ПО v.10). Станция распознает вызовы к платформе ИС и осуществляет их обработку в соответствии с инструкциями, полученными от SCP, а также обеспечивает доступ к услугам ИС через системы сигнализации в соответствии с «Ограничительным перечнем протоколов сигнализации, поддерживаемых цифровыми станциями сети общего пользования», утвержденным Минсвязи РФ в 1996 году [7].
В ПО станции предусмотрен анализ событий на различных фазах установления основного соединения, в результате чего осуществляется посылка сообщений в SCP для активизации программы выполнения ЛУ или поддержки уже активизированной программы ЛУ. В процессе обработки вызова ИС SSP может приостановить этот процесс и организовать диалог с SCP для получения инструкций по дальнейшим действиям. Программное обеспечение SSP обеспечивает контроль нагрузки, создаваемой вызовами ИС и организует диалог с SCP для получения инструкций по дальнейшим действиям. Кроме этого, одной из основных функций SSP является реализация функций учета стоимости вызовов ИС [8].
Для развития ИС в России очень важным было создание единого протокола на базе ОКС №7 - INAP-R, спецификации которого в основном соответствуют стандартам ETSI с учетом требований сети связи России и перспектив ее развития. На сегодняшний день уже разработан и внедрен протокол INAP-R как со стороны EWSD (SSP), так и со стороны SCP. В перспективе именно INAP-R должен обеспечить совместную работу оборудования разных производителей при предоставлении услуг ИС на российских сетях. Реализация INAP-R является единственной перспективной возможностью построения полномасштабных ИС в России.
Реализация стандартного интерфейса INAP-R позволит подключать цифровые станции с функциями SSP и протокола INAP-R. Заключив соответствующие контракты с операторами ИС и сетей электросвязи, можно напрямую выйти на платформу ИС IN Xpress сети «Ростелеком»/ММТ и предоставлять ИУ абонентам.
Станции EWSD установлены на сегодняшний день приблизительно в сорока регионах России. Это означает, что они становятся потенциальными заказчиками ИУ. При правильной маркетинговой политике и учитывая, что платформа IN Xpress может легко расширяться как по мощности, так и по числу услуг, реализация данного проекта открывает большие возможности для охвата значительной части рынка ИС России.
3.2 Построение ИС на базе оборудования Alcatel 1000 S12
Широко применяются в странах СНГ продукт для интеллектуального решения фирмы Alcatel. Консорциум Alcatel представляет комплексное решение ИС, основанное на полном и совместимом ряде изделий, которое позволяет оператору построить мощную ИС даже в окружении сети с оборудованием разных поставщиков. Поставщик услуг может воплотить новые услуги быстро во всех типах сетей, включая ТфОП (PSTN), цифровую сеть с интеграцией служб (ISDN), подвижной сети связи (GSM) и ведомственные сети. На рисунке 3.2 изображена архитектура интеллектуальной сети Alcatel [6].
Рисунок 3.2 - Архитектура ИС фирмы Alcatel
Что очень важно, любой узел коммутации Alcatel 1000 S12, вновь устанавливаемый или уже работающий, можно сконфигурировать как узел коммутации услуг (SSP). Эта платформа имеет открытую архитектуру, которая распределяет функции между модулями оборудования и ПО. Все это обеспечивает то, что любая станция в работе может развиваться простым добавлением ПО и оборудования без прерывания обслуживания. В случае ИС, функции SSP могут быть введены в структуру ПО Alcatel 1000 S12 добавлением ПО или совершенствованием старого ПО, не затрагивая коммутационное оборудование.
3.3 Оборудование Lucent Technologies для построения ИС
Продукция Lucent Technologies широко применяется в нашей Республике. Фирма также заинтересована в решении проблемы по созданию ИС. В ITU-T серии Q.12xx определены функциональные объекты, путем взаимодействия которых реализуются конкретные услуги ИС. В зависимости от распределения функций CCF, SSF и SCF, платформы ИС подразделяются на централизованные и распределенные.
Для предоставления услуг ИС на основе централизованной платформы на цифровой АТС устанавливается специальный модуль ПО, позволяющий АТС совмещать функции CCF/SSF и SCF. Такой совмещенный узел называется узлом коммутации и управления услугами SSCP. Станция 5ESS-2000 производства Lucent Technologies может функционировать как узел SSCP, при этом не требуется дополнительного оборудования, а пакет ПО загружается непосредственно в новую или уже установленную станцию 5ESS-2000.
В случае распределенной ИС необходима установка дополнительного оборудования: узла SCP, узла SMP, узла SCEP, IP. На рисунке 3.3 приведена архитектура ИС с использованием распределенной платформы и указанием интерфейсов между отдельными функциональными элементами. Чем большее число станций нижнего уровня сети охвачены функциями SSP, тем выше эффективность ИС [7].
Основа узла SSP - цифровая система коммутации 5ESS-2000. Пакет программного обеспечения SSP загружается так же, как и в случае централизованной платформы.
В качестве IP предлагается как самостоятельное оборудование, так и оборудование, интегрированное в узел SSP. Компания также предлагает PC для изменения записанных на IP речевых сообщений, которые выполнены на платформе Sun.
Узел SCP является исполнительной системой для предоставления услуг ИС. Основу SCP составляет современное надежное высокопроизводительное оборудование и комплект многоуровневого ПО. Компания предлагает полностью дублированную многопроцессорную платформу, выполненную на процессорах Intel.
На рисунке 3.4 приведена архитектура узла SCP производства Lucent Technologies. Основным элементом SCP является дублированный управляющий сервер, взаимодействующий с ТфОП через сетевые серверы, количество которых определяет емкость узла SCP. Сигнальные каналы ОКС №7 подключаются непосредственно к сетевым серверам [9].
В качестве узла SMP используется современная дублированная многопроцессорная система на основе платформы Hewlett Packard.
Узел SCEP применяется для конфигурации услуг ИС и дает оператору
Рисунок 3.3 - Распределенная архитектура ИС
связи дополнительные возможности по предоставлению новых услуг с помощью специально разработанного графического интерфейса методом графического программирования. Узел SCEP состоит из трех основных элементов: файлового сервера, выполненного на платформе Sun SPARC Ultra; PC, реализованной на базе оборудования Sun SPARC; сервера для функций компиляции на базе Intel Pentium.
Программное обеспечение всех компонентов ИС имеет модульную структуру и построено на базе отказоустойчивой платформы UNIX. Все программные модули соответствуют открытым стандартам UNIX.
















