63265 (588922)
Текст из файла
Введение
Цифровые беспроводные и сотовые технологии берут свое начало в 1940-х, когда началось коммерческое использование мобильной телефонной связи.
В начале 80-х годов в Европе существовало несколько конкурирующих стандартов аналоговой сотовой связи. В Европе к тому времени уже двадцать лет как существовал вполне подходящий инструмент для решения подобных вопросов – CEPT. Конференция CEPT (Conference Europeenne des Administration des postes et des telecommunications, The European Conference of Postal and Telecommunications Administrations) была основана в 1959. Её деятельность в основном сводилась к урегулированию международных коммерческих и операционных вопросов и стандартизации в области связи.
В 1982 этом году CEPT создала Groupe Speciale Mobile для изучения будущей европейской системы сотовой связи. Встречаются упоминания о том, что эта группа была создана по предложению Nordic Telecom и Netherlands PTT. Позже аббревиатура GSM стала читаться как Global System for Mobile Communications.
Сегодня GSM-сети охватывают практически все густонаселённые районы земного шара. Стандарт успешно развивается, однако можно смело говорить о том, что эволюционный процесс в сети ещё не закончен. Разработчики заложили слишком много лазеек для роста GSM при его развитии. На данный момент сеть имеет определённый потенциал развития по абонентской базе, конкурентоспособности и предоставлению новых услуг.
Сети стандарта GSM умеют передавать данные. Изначально эта возможность закладывалась в них разработчиками в далеких 80-х годах прошлого века. Тогда никто и подумать не мог о развитии коммуникаций в ближайшие десятки лет. Сейчас GSM может предоставить вполне конкурентоспособные сервисы, которые выведут абонентов во Всемирную Паутину и позволят переслать факсимильное или е-mail сообщение. Сеть GSM даёт пользователю возможность вывести свой компьютер в Интернет, используя сотовый телефон как устройство передачи данных. Кроме этого, современный мобильный телефон сам является web-браузером, ICQ-клиентом и даже файл-сервером.
Современный сотовый мир развивается очень быстро, и уследить за всеми нововведениями порой просто невозможно. С другой стороны, только грамотные пользователи могут использовать сотовую связь с максимальной выгодой для себя. Предупреждён – значит вооружён.
1. Структура и развитие сети "GSM Казахстан"
ТОО "GSM Казахстан ОАО "Казахтелеком" – казахстанский оператор сотовой связи стандарта GSM 900 был основан 30 сентября 1998 года. Акционерами "GSM Казахстан" являются национальный оператор связи.
АО "Казахтелеком" и финская компания "FinTur". Основное направление деятельности – предоставление сотовой сети GSM900 и обеспечение высококачественной связи.
Коммерческий пуск сети "GSM Казахстан" состоялся 6 февраля 1999 года с торговой маркой "K'Cell". Запуск карточной сотовой "Activ", которая является ещё одной торговой маркой компании, состоялся 9 сентября 1999 года.
На сегодняшний день количество абонентов сети "GSM Казахстан" составляет более 3 миллионов человек. Сеть "GSM Казахстан" работает более чем в 194 населенных пунктах Казахстана. Компания предоставляет услугу международного автоматического роуминга с 224 операторами в 101 стране мира.
Покрыты трассы: Астана-Караганда протяженностью 250 км, Алматы-Георгиевка (трасса на Бишкек) 250 км, Алматы-Талдыкорган 250 км, Астана-Кокшетау 300 км, Алматы-Шымкент протяженностью 600-700 км, Астана-Павлодар 600 км, Балхаш-Караганда 200 км, Кокшетау-Костанай 600 км. В будущем покрытие дорог РК будет продолжено в соответствии с планами развития сети "GSM Казахстан", включая покрытие населенных пунктов, расположенных вдоль трасс.
Постоянно расширяется спектр дополнительных услуг, предлагаемых абонентам компании. В них входят гороскоп, курсы валют, погода, расписание кинотеатров, программа телевидения, логотипы, мелодии, графические открытки, словарь, шутки и многое другое.
23 ноября 2004 года первой среди отечественных операторов, компания "GSM Казахстан" осуществила революционный прорыв в сотовой связи Республики Казахстан и открыла для своих абонентов услуги, основанные на технологии "EDGE" (Enhanced Data for GSM Evolution). Ввод "EDGE" является существенным шагом на пути модернизации сети "GSM" в сеть связи третьего поколения. Внедрение технологии "EDGE" позволит "GSM Казахстан" поднять сервис мобильной связи на качественно новый уровень. Благодаря технологии "EDGE", в значительной мере увеличивающей скорость передачи данных (до 200Кбит/с., что в 2-3 раза быстрее GPRS), абоненты уже в ближайшем будущем смогут воспользоваться всеми преимуществами услуг третьего поколения.
Руководство компании ТОО "GSM Казахстан ОАО "Казахтелеком" базируется в городе Алматы. Там же сосредоточен основной административный и технический персонал.
В состав "GSM Казахстан ОАО "Казахтелеком" входят следующие департаменты:
- административный департамент;
- департамент Главного исполнительного директора;
- департамент маркетинга;
- департамент по работе с клиентами;
- департамент по управлению человеческими ресурсами;
- департамент продаж;
- департамент информационных технологий;
- технический департамент;
- финансовый департамент;
- юридический департамент.
Состав Технического департамента:
- отдел планирования сети;
- отдел сектора передачи данных;
- отдел инженеров базовых станций;
- отдел радио поддержки;
- отдел энергетиков;
- отдел инженеров климатического контроля.
"GSM Казахстан" использует коммутационное оборудование – "Ericsson". Сегодня сеть компании включает 2 HLR, 13 коммутаторов (MSC), 19 контроллеров базовых станций (BSC) и рассчитана на 3,5 миллиона абонентов. Причем, используется перспективная версия MSC Ericsson AXE-10.
Сеть Карагандинской области обеспечивает коммутационная система, состоящая из одного коммутатора MSC и двух контроллеров BSC.
Связь с коммутатором более высокого уровня, расположенного в Алматы осуществляется посредством арендуемых двухмегабитных каналов на оптическом волокне ОАО "Казахтелеком".
В качестве исследуемой области выберем сектор сети базовых станций "GSM Казахстан", расположенный на юго-востоке города Караганды.
На данный момент в секторе работают 7 станций Ericsson RBS2206, обеспечивающие покрытие описываемого района города.
В состав параметров станции входят:
- наименование станции – присваивается на стадии составления проекта новой базовой станции;
- координаты станции – в данном случае географические координаты расположения антенн сотовой связи;
- альтитуда – абсолютная высотная отметка земной поверхности на месте расположения объекта;
- высота здания или вышки над земной поверхностью, на которых установлены антенны сотовой связи;
- высота расположения секторных антенн базовой станции над земной поверхностью;
- конфигурация базовой станции – устанавливаемая приемо-передающая емкость на каждом из трех секторов покрытия базовой станции;
- высота подвеса радио релейных антенн – высота установки радио релейных антенн над земной поверхностью.
Координаты и альтитуды объектов, на которых установлены или планируется установить базовые станции, определяются с помощью ручных навигаторов GPS (Global Position System). В нашем случае это Garmin GPS 60 в соответствии с рисунком 1.1. После чего данные вносятся в персональный компьютер (ПК). Импорт данных, их обработку и визуализацию осуществляет компьютерная программа "Map Source". Интерфейс программы с местоположениями станций сотовой связи.
Данная программа дает представление о взаимоположении станций на карте, а также позволяет определить прямые расстояния между станциями и азимуты направления антенн сотовой связи.
Рисунок 1.1 – Ручной навигатор Garmin GPS 60
Высота установки антенн сотовой связи замеряется ручным лазерным дальномером.
Все эти данные находят отражение в санитарном паспорте базовой станции "GSM Казахстан" при регистрации и получении разрешения на использование радиочастотного спектра.
На обследуемом секторе сети сотовой связи базовые станции работают с максимальной загрузкой, о чем свидетельствует рабочая конфигурация станций. В часы пик наблюдаются перегрузки, что свидетельствует о недостаточной емкости сотовой сети в данном секторе. Чтобы исправить создавшееся положение инженер отдела планирования составляет проект дополнительных станций сотовой связи, которые необходимо смонтировать в данном секторе сети. Благодаря этому в секторе повысится емкость по обслуживанию абонентов сотовой связи, а также улучшится и увеличится покрытие сектора сети.
Сеть передачи данных формируется из сегментов – Радио Релейных Линий (РРЛ), которые в свою очередь делятся на терминалы ближнего и дальнего конца.
Длина РРЛ определяется посредством программного приложения "Map Source". Диаметр антенны подбирается исходя из длины РРЛ. Основное применение в городских условиях получило оборудование, работающее на частотах 22-23 ГГц, которым соответствуют индексы используемых радиоблоков. Частоты, действующие на РРЛ, подбираются с помощью программного комплекса TEMS оптимизаторами сети передачи данных и регистрируются на основании заявки, подаваемой в Агентство информатизации и связи Республики Казахстан.
В связи с малой насыщенностью эфира частотами данного диапазона на сегодняшний день используется только вертикальная поляризация.
Емкость РРЛ определена в соответствии с потребностью на объем цифровых каналов действующих базовых станций.
1.1 Структура сети GSM900
Самая простая часть структурной схемы – переносной телефон, состоит из двух частей:
- Mobile Equipment – мобильное устройство;
- SIM (Subscriber Identity Module) – смарт-карта или модуль идентификации абонента, получаемый при заключении контракта с оператором.
Сотовый телефон имеет собственный номер – IMEI (International Mobile Equipment Identity – международный идентификатор мобильного устройства), который может передаваться сети по ее запросу. SIM, в свою очередь, содержит так называемый IMSI (International Mobile Subscriber Identity – международный идентификационный номер подписчика). Значит, IMEI соответствует конкретному телефону, а IMSI – определенному абоненту.
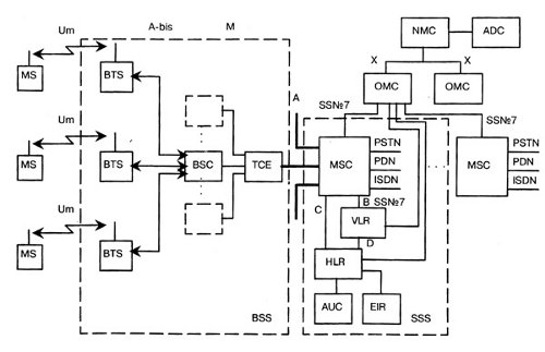
Типовая структурная схема и состав оборудования GSM сети соответствует рисунку 1.2.
"Центральной нервной системой" сети является NSS (Network and Switching Subsystem – подсистема сети и коммутации), а компонент, выполняющей функции "мозга" называется MSC (Mobile services Switching Center – центр коммутации). MSC в сети может быть и не один (в данном случае очень уместна аналогия с многопроцессорными компьютерными системами). MSC занимается маршрутизацией вызовов, формированием данных для биллинговой системы, также управляет многими другими процедурами.
Следующими по важности компонентами сети, также входящими в NSS, являются HLR (Home Location Register – реестр собственных абонентов) и VLR (Visitor Location Register – реестр перемещений). HLR представляет собой базу данных обо всех абонентах, заключивших контракт с данным оператором. В ней хранится информация о номерах пользователей (под номерами подразумеваются, во-первых, упоминавшийся выше IMSI, а во-вторых, так называемый MSISDN – Mobile Subscriber ISDN, т.е. телефонный номер в его обычном понимании).
В отличие от HLR, который в системе один, VLR-ов может быть и несколько – каждый из них контролирует свою часть сети. В VLR содержатся данные об абонентах, которые находятся на его территории (причем обслуживаются не только свои подписчики, но и зарегистрированные в сети клиенты роуминга). Как только пользователь покидает зону действия какого-то VLR, информация о нем копируется в новый VLR, а из старого удаляется. В HLR для каждого абонента постоянно присутствует ссылка на тот VLR, который с ним (абонентом) сейчас работает (при этом сам VLR может принадлежать чужой сети, расположенной, например, на другом конце Земли).
Рисунок 1.2 – Типовая структурная схема
На рисунке 1.2 приняты обозначения:
- MSC (Mobile Switching Centre) – центр коммутации подвижной связи;
- BSS (Base Station System) – оборудование базовой станции;
- ОМС (Operations and Maintenance Centre) – центр управления и обслуживания;
- MS (Mobile Stations) – подвижные станции.
Характеристики
Тип файла документ
Документы такого типа открываются такими программами, как Microsoft Office Word на компьютерах Windows, Apple Pages на компьютерах Mac, Open Office - бесплатная альтернатива на различных платформах, в том числе Linux. Наиболее простым и современным решением будут Google документы, так как открываются онлайн без скачивания прямо в браузере на любой платформе. Существуют российские качественные аналоги, например от Яндекса.
Будьте внимательны на мобильных устройствах, так как там используются упрощённый функционал даже в официальном приложении от Microsoft, поэтому для просмотра скачивайте PDF-версию. А если нужно редактировать файл, то используйте оригинальный файл.
Файлы такого типа обычно разбиты на страницы, а текст может быть форматированным (жирный, курсив, выбор шрифта, таблицы и т.п.), а также в него можно добавлять изображения. Формат идеально подходит для рефератов, докладов и РПЗ курсовых проектов, которые необходимо распечатать. Кстати перед печатью также сохраняйте файл в PDF, так как принтер может начудить со шрифтами.
















