63239 (588918), страница 6
Текст из файла (страница 6)
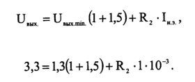
Розрахуємо сумарне споживання струму мікросхем від джерела напруги 3,3 В
де І4 струм, споживаний мікросхемою - SAA4955TJ [3], І5 - струм, споживаний мікросхемою SAA4977 [4], N4 - кількість мікросхем SAA4955TJ у тракті, N5 - кількість мікросхем SAA4977 у тракті (див. табл. 3.1).
402+100 1=180 мА,
Від джерела напруги 8В споживається струм 0,43 А, Вибираємо компенсаційний стабілізатор напруги КР142ЕН12А, Вихідна напруга стабілізатора змінюється в межах від 1,3В до 37В, максимальний струм 1А [15]. Регулювання вихідної напруги здійснюється за допомогою зовнішнього дільника, що дозволяє використовувати її як для одержання напруги 8В так і для одержання напруги 3,3 В. Дана мікросхема стійка до імпульсних перевантажень по потужності, оснащена системою захисту від перевантажень по вихідному струму.
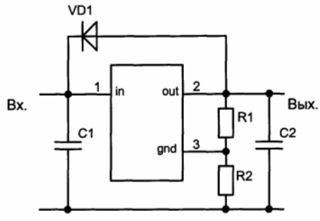
Типова схема включення представлена на рис. 3.2. Резистори R1 і R2 утворять зовнішній регульований дільник напруги.
Рисунок 3.2 Схема включення стабілізатора параметричного компенсаційного КР142ЕН12А
Значення опору резисторів R1 і R2, що входять до складу дільника зв'язані співвідношенням:
де Uвих.min= 1,3В (значення напруги відповідно до технічної документації мікросхеми); Іи.э- струм через резистори R1 і R2.
Розрахуємо виходячи з цієї формули параметри дільника для вихідної напруги 8B,
Так як вихідний струм мікросхеми Iвих=0,55 мкА [15], задамося струмом Іи.э.. Нехай Іи.э.=l мА, Приймаємо співвідношення резисторів
=4 [15].
Отже, R2= 1,4 кОм. Приймаємо R2= 1,5 кОм.
Отже, R1=5,6кOм, Приймаємо R1=5,62кOм,
Для зниження рівня фона при вихідному значенні напруги, близькому до мінімального, рекомендується у вимірювальний елемент стабілізатора включати згладжуючий конденсатор С2, Використовуючи рекомендації, приведені в технічній документації на мікросхему стабілізатора [15], значення ємності С1 вибираємо рівне 0,1 мкФ, а С2=10 мкФ. Рекомендується тип діода - КД510А,
Розрахуємо виходячи з цієї формули параметри дільника для вихідної напруги 3,3 В. Задамося співвідношенням резисторів
=1,5 [15].
Отже, R1=75 Ом.
3.3 Розрахунок коливального контуру генератора керованого напругою
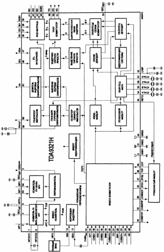
Генератор, керований напругою, входить до складу мікросхеми TDA9321H. TDA9321H - це мультістандартний ПАЛ/НТСЦ/СЕКАМ декодер з демодулятором на основі ФАПЧ [10]. Функціональна схема цієї мікросхеми представлена на рис. 4.4. Із входу мікросхеми через ППЧ сигнал надходить на демодулятор на основі ФАПЧ. Полярність демодуляції переключається по шині І2С.
Рисунок 4.4 Схема включення ІМС TDA9321H
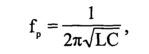
Зовнішній коливальний контур настроєний на подвоєну проміжну частоту сигналу (fпч=38 МГц).Розрахуємо елементи коливального контуру.
Задамося ємністю С=4 пФ[24] .
Так як резонансна частота
знаходимо індуктивність :
Приймаємо L= 1,2. 10-9 Гн.
Підсилення сигналу регулюється пристроєм автоматичного регулювання підсилення (АРП). Подавлення звукової складової в сигналі здійснюється зовнішніми режекторними фільтрами, що були розраховані в п.4.1. Після подавлення звуку здійснюється корекція групового часу затримки (мал. 3.4). Потім ПКТС через розділовий конденсатор сигнал надходить на вхід комутатора сигналів, що здійснює вибір джерела сигналу.
Мікросхема TDA9321H має три входи ПКТС (один для внутрішнього сигналу і два від зовнішніх джерел сигналу). Вибір джерела сигналу здійснюється по шині І2С.
У мікросхеми три виходи - вихід ПКТС для обробки в модулі теле тексту, вихід ПКТС для подачі сигнала на модуль «картинка в картинці» і
Рисунок 3.4 Характеристика групового часу запізнювання ІМС TDA9321H
ПКТС для подальшої обробки, що подається на гребенчатий фільтр. Усі вони можуть бути незалежно підключені до кожного з джерел сигналу. Гребенчатий фільтр керується по шині І2С. Також командами по шині переключаються зовнішні кварцові генератори. Якщо приймається чорно-білий сигнал, гребенчатий фільтр пропускає сигнал без змін. Мікросхема містить елементи обробки зображення в стандарті ПАЛ, НТСЦ, СЕКАМ. Канал обробки сигналу СЕКАМ містить у собі кльош-фільтр, що відновлює, реалізований на гіраторі. Канал обробки сигналів ПАЛ, НТСЦ містить у собі два кольорорізностних демодулятори, схему запирання каналу кольоровості для прийому чорно-білого віщання. Зрушення
Рисунок 3.6. Схема принципова підключення вихідного підсилювача TDA6111 Q
фази на 90° здійснюється усередині мікросхеми. Лінія затримки на рядок також інтегрована в мікросхему.
У мікросхемі передбачена можливість приєднання чотирьох різних Кварцевих резонаторів для декодування сигналів кольоровості. Сигнали всіх стандартів можуть бути декодовані без підключення зовнішніх ланцюгів. Керування підключенням кварцевих резонаторів здійснюється по шині І2С.
Мікросхема має два RGB входи зі швидким переключенням. Якщо RGB сигнали не супроводжуються сигналами синхронізації, то синхронізація здійснюється внутрішніми колами мікросхеми. Керування цим режимом здійснюється по шині 12C. Також мікросхема містить RGB матрицю , що забезпечує перетворення RGB сигналів у кольорорізностні для подальшої обробки.
3.4 Розрахунок дільника напруги для вихідного відеопідсилювача.
Замикаючою ланкою тракту обробки відеосигналу є відеопідсилювач. Схема включення відеопідсилювача зображена на рис. 3.6. Він здійснює підсилення сигналів кольоровості RGB. Сигнал подається на його інвертуючий вхід 3. На неінвертуючий вхід 1 подається напруга зсуву, що визначає режим роботи підсилювача. Згідно [8] Ucм=5B. Розрахуємо дільник напруги R5 R6.
З
гідно [8] через резистор R4 протікає струм 1,4 мА. Отже, струм дільника також буде дорівнює 1,4 мА. Напруга, подавана на вхід дільника, дорівнює 12 В. Знайдемо загальний опір дільника:
Отже, Rзаг=8,57103 Ом.
З
найдемо опір резистора R5.
Отже, R5=3,57 кОм.
Отже, R6=5 кОм.
4 ЕКОНОМІЧНА ЧАСТИНА
Задачею даного розділу є оцінка конкурентноздатності розроблювального пристрою стосовно аналогічного пристроям, що серійно випускаються, і оцінка його собівартості. У дипломному проекті виробляється розробка декодувальної частини тракту обробки відеосигналу, куди входить: синхропроцесор, вхідний процесор, декодер РAL/NTSC/SECAM, блок поліпшення якості зображення, телетекст, картинка в картинці, RGB синхропроцесор, вихідний відеопідсилювач. Тому всі питання, освітлювані в даному розділі, будуть розглядатися стосовно до зазначених частин пристрою.
4.1 Аналіз ринку
На українському ринку в даний час представлено достатню кількість різних моделей телевізорів High-End класу, до якого відноситься розроблювальний пристрій. Однак моделей з такими широкими функціональними можливостями як у розроблювального пристрою практично немає на ринку.
Телевізійний приймач призначений для використання в домашніх умовах і забезпечує прийом сигналів аналогового супутникового, цифрового супутникового, наземного кабельного й ефірного віщання. Фактично даний пристрій являє собою функціональне об'єднання звичайного телевізійного приймача із супутниковим ресивером, але при цьому реалізує усі функції сучасного високоякісного телевізора (картинка в картинці, частота кадрів 100Гц, PAL/NTSC/SECAM мультісистемний) Мається можливість підключення зовнішнього джерела (відеомагнітофона), є вихід на головні телефони. Керування здійснюється як з панелі телевізійного приймача, так і з пульта дистанційного керування (ДУ). Реалізовано можливість одержання доступу до платних телевізійних каналів ( смарт карта).
Для порівняння візьмемо такі пристрої:
1. PHILIPS GTV 400;
2. РANASONIC 2577;
3. THOMSON 2275XS;
4. SAMSUNG F285DN ;
5. TOSHIBA2467D.
Розробка нового пристрою вироблялася на підставі новітньої концепції фірми Philips побудови телевізійного приймача GTV 4000. Основні блоки залишилися без змін, однак функціональні можливості пристрою були розширені ( див. табл. 4.1 ). Функції прийому супутникового віщання були реалізовані також на основі рекомендацій фірми Philips. Те, приймач практично цілком побудований на елементній базі Philips, дозволяє уніфікувати виробництво і знизити вартість пристрою.
Для того щоб оцінити конкурентноздатність проектованого приймача на ринку телевізійної апаратури для дома, необхідно порівняти його з виробом-аналогом за рівнем якості, реалізованим функціям і ринковій вартості. Так як на ринку України немає повного аналога даному пристрою, як аналог візьмемо висококласний телевізійний приймач Philips GTV4000. Так як до складу розроблювального пристрою входить приймач сигналів супутникового телебачення, при розрахунку собівартості будемо враховувати вартість супутникового приймача. Ринкова ціна телевізійного приймача по Україні складає 430 у.о. на 1 грудня 2000 року, а ринкова ціна супутникового приймача складає 360 у.о. Споживачами даного пристрою можуть бути приватні особи, а також організації, різні навчальні центри яким для роботи необхідний прийом супутникового телебачення.
Виходячи з цього, можна припустити, що для України буде потрібно близько 10000 одиниць такої продукції. Передбачається що реалізація додаткових функцій у пристрої (прийом супутникового телебачення) дозволить йому конкурувати не тільки на ринку телевізійних приймачів, але і на ринку супутникових ресиверів. З огляду на зростаючу популярність супутникового цифрового телебачення (наприклад, НТВ+) серед масового споживача, є всі підстави розраховувати на попит на проектований пристрій порядку однієї третини від усієї потреби.
Таблиця 4.1
Коротка характеристика порівнюваних пристроїв
| Марка | 100 Гц | Мульті картинка в картинці | Телетекст | РAL/NTSC/ SECAM | ДУ | SCART | Супутникове телебачення |
| 1. PHILIPS GTV 400 | так | ні | так | так | так | так | ні |
| 2. РANASONIC 2577 | так | ні | так | ні | так | так | ні |
| 3. THOMSON 2275XS | ні | ні | так | так | так | ні | ні |
| 4. SAMSUNG F285DN | ні | так | так | ні | так | так | ні |
| 5. TOSHIBA 2467D | ні | ні | так | так | так | так | ні |
| 6. Розробляємий пристрій | так | так | так | так | так | так | так |
4.2 Оцінка рівня якості
Для визначення рівня якості нового пристрою варто розрахувати узагальнений показник якості нового пристрою в порівнянні з базовим виробом по формулі [ 18] :
















