62975 (588878), страница 2
Текст из файла (страница 2)
- внутрисхемные эмуляторы;
- платы развития (оценочные платы);
- мониторы отладки;
- эмуляторы ПЗУ.
Внутрисхемный эмулятор – программно-аппаратное средство, способное заменить эмулируемый МК в реальной схеме.
Внутрисхемный эмулятор – это наиболее мощное и универсальное отладочное средство, которое делает процесс функционирования отлаживаемого контроллера прозрачным, т.е. легко контролируемым, произвольно управляемым и модифицируемым.
Платы развития, или, как принято их называть в зарубежной литературе, оценочные платы (Evaluation Boards), являются своего рода конструкторами для макетирования электронных устройств. Обычно это печатная плата с установленным на ней МК и всей необходимой ему стандартной периферией. На этой плате также устанавливают схемы связи с внешним компьютером. Как правило, там же имеется свободное поле для монтажа прикладных схем пользователя. Иногда предусмотрена уже готовая разводка для установки дополнительных устройств, рекомендуемых фирмой. Например, ПЗУ, ОЗУ, ЖКИ- дисплей, клавиатура, АЦП и др.
Эмулятор ПЗУ – программно-аппаратное средство, позволяющее замещать ПЗУ на отлаживаемой плате, и подставляющее вместо него ОЗУ, в которое может быть загружена программа с компьютера через один из стандартных каналов связи. Это устройство позволяет пользователю избежать многократных циклов перепрограммирования ПЗУ. Эмулируемая память доступна для просмотра и модификации, но контроль над внутренними управляющими регистрами МК был до недавнего времени невозможен.
В последнее время появились модели интеллектуальных эмуляторов ПЗУ, которые позволяют "заглядывать" внутрь МК на плате пользователя.
Этап совместной отладки аппаратных и программных средств в реальном масштабе времени завершается, когда аппаратура и программное обеспечение совместно обеспечивают выполнение всех шагов алгоритма работы системы. В конце этапа отлаженная программа заносится с помощью программатора в энергонезависимую память МК, и проверяется работа контроллера без эмулятора.
1.5 Выбор микроконтроллера
Для проектирования устройства автоматического регулирования света постараемся выбрать относительно недорогой, простой и широкоиспользуемый микроконтроллер.
Все эти особенности можно отнести к микроконтроллерам корпорации ATMEL (ATMega 16L).
Корпорация ATMEL, основанная в 1984, является в настоящее время признанным мировым лидером в областях разработки, производства и маркетинга современных электронных компонентов.
Рисунок 1.2 – Общий вид микроконтроллера ATMega 16L
ATMega16 обладает очень большим количеством самых разнообразных функций. Вот некоторые его характеристики:
* Максимальная тактовая частота – 16 МГц (8 МГц для ATMega16L)
* Большинство команд выполняются за один такт
* 32 8-битных рабочих регистра
* 4 полноценных 8-битных порта ввода/вывода
* два 8-битных таймера/счетчика и один 16-битный
* 10-разрядный аналогово-цифровой преобразователь (АЦП)
* внутренний тактовый генератор на 1 МГц
* аналоговый компаратор
* интерфейсы SPI, I2C, TWI, RS-232, JTAG
* внутрисхемное программирование и самопрограммирование
* модуль широтно-импульсной модуляции (ШИМ)
* 8-разрядный высокопроизводительный AVR микроконтроллер с малым потреблением
* Прогрессивная RISC архитектура
Рисунок 1.3 – Расположение выводов микроконтроллера ATMega 16L
130 высокопроизводительных команд, большинство команд выполняется за один тактовый цикл
32 8-разрядных рабочих регистра общего назначения
Полностью статическая работа
Производительность приближается к 16 MIPS (при тактовой частоте 16 МГц)
Встроенный 2-цикловый перемножитель
* Энергонезависимая память программ и данных
16 Кбайт внутрисистемно программируемой Flash памяти (In-System Self-Programmable Flash)
Обеспечивает 1000 циклов стирания/записи
Дополнительный сектор загрузочных кодов с независимыми битами блокировки
Внутрисистемное программирование встроенной программой загрузки
Обеспечен режим одновременного чтения/записи (Read-While-Write)
512 байт EEPROM
Обеспечивает 100000 циклов стирания/записи
1 Кбайт встроенной SRAM
Программируемая блокировка, обеспечивающая защиту программных средств пользователя
* Интерфейс JTAG (совместимый с IEEE 1149.1)
Возможность сканирования периферии, соответствующая стандарту JTAG
Расширенная поддержка встроенной отладки
Программирование через JTAG интерфейс: Flash, EEPROM памяти, перемычек и битов блокировки
* Встроенная периферия
Два 8-разрядных таймера/счетчика с отдельным предварительным делителем, один с режимом сравнения
Один 16-разрядный таймер/счетчик с отдельным предварительным делителем и режимами захвата и сравнения
Счетчик реального времени с отдельным генератором
Четыре канала PWM
8-канальный 10-разрядный аналого-цифровой преобразователь
8 несимметричных каналов
7 дифференциальных каналов (только в корпусе TQFP)
2 дифференциальных канала с программируемым усилением в 1, 10 или 200 крат (только в корпусе TQFP)
Байт-ориентированный 2-проводный последовательный интерфейс
Программируемый последовательный USART
Последовательный интерфейс SPI (ведущий/ведомый)
Программируемый сторожевой таймер с отдельным встроенным генератором
Встроенный аналоговый компаратор
* Специальные микроконтроллерные функции
Сброс по подаче питания и программируемый детектор кратковременного снижения напряжения питания
Встроенный калиброванный RC-генератор
Внутренние и внешние источники прерываний
Шесть режимов пониженного потребления: Idle, Power-save, Power-down, Standby, Extended Standby и снижения шумов ADC
* Выводы I/O и корпуса
32 программируемые линии ввода/вывода
40-выводной корпус PDIP и 44-выводной корпус TQFP
* Рабочие напряжения
2,7 - 5,5 В (ATmega16L)
4,5 - 5,5 В (ATmega16)
* Рабочая частота
0 - 8 МГц (ATmega16L)
0 - 16 МГц (ATmega16)
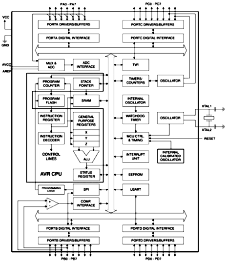
Рисунок 1.4 – Функциональная схема микроконтроллера ATMega 16L
РАЗДЕЛ 2 РАЗРАБОТКА УСТРОЙСТВА АВТОМАТИЧЕСКОГО РЕГУЛИРОВАНИЯ СВЕТА
Несмотря на бурное развитие сверхъярких светодиодов, в широкой продаже пока не появились светодиодные лампы, способные заменить бытовые лампы накаливания. Получившие довольно широкое распространение энергосберегающие люминесцентные лампы, при всех своих достоинствах, обладают, во-первых, высокой стоимостью, во-вторых, требуют сложную схему управления яркостью. Отечественные и зарубежные регуляторы ламп накаливания имеют ряд недостатков:
- управление только одним каналом;
- отсутствие стабилизации яркости;
- наличие помех радиоприёму, звон нитей ламп, жужжание встроенного фильтра.
Эти же недостатки присущи схемам, опубликованным в радиолюбительской литературе, периодической печати и в Интернете.
2.1 Постановка задачи
Требуется создать регулятор яркости ламп накаливания (за рубежом называемый «диммер» - dimmer), свободный от указанных недостатков, и предназначенный для установки в двухканальный светильник промышленного производства (Рис. 1).
Разработка устройства велась с учётом следующих требований:
- простота схемы (минимальное количество компонентов);
- функциональная насыщенность, многообразие регулируемых параметров;
- устойчивость к броскам сетевого напряжения, долговечность;
- отсутствие либо минимальный нагрев компонентов (пожаробезопасность);
- низкое энергопотребление.
Рисунок 2.1 – Светильник с встроенным устройством автоматического регулирования света
2.2 Разработка структурной схемы устройства и функциональной спецификации
Структурная схема устройства автоматического регулирования света представлена на рисунке 2.2.
Устройство состоит из основных элементов:
БП
~ 220 В
МК
У
УУ1
правление каналом S
B1 «1» HL1
У
УУ2
правление каналом S
B2 «2» HL2
Рисунок 2.2 – Структурная схема устройства автоматического регулирования света
МК – микроконтроллер (устройство, выполняющее функции управления устройствами управления);
БП – блок питания (осуществляет питание микроконтроллера и устройств управления требуемыми напряжениями);
УУ1, УУ2 – устройство управления 1-ого и 2-ого канала соответственно (осуществляют силовое управление лампами освещения по заданной программе);
SB1, SB2 – кнопки управления 1-ым и 2-ым каналами (осуществляют управление каналами освещения, по заданной программе);
HL1, HL2 – лампы освещения (освещают помещение в различных режимах и требуемой яркости).
Функциональная спецификация:
-
Входы
а. SB1, SB2 – кнопки управления 1-ым и 2-ым каналами, соответственно;
b. источник электропитания устройства (БП).
-
Выходы
а. УУ1, УУ2 – устройство управления 1-ого и 2-ого канала, соответственно .
-
Функции
а. Кнопками управления SB1 и SB2 осуществляется управление программой микроконтроллера;
b. По выбранной программе, осуществляется управление устройствами управления УУ1 и УУ2, которые осуществляют регулировку подачи регулируемого напряжения на лампы накаливания HL1 и HL2.
2.3 Разработка функциональной схемы
Основу устройства, функциональная схема которого изображена на Рис. 2.3, составляет микроконтроллер ATmega16L семейства AVR корпорации ATMEL. Управление осуществляется двумя не фиксируемыми в нажатом положении кнопками, по одной на каждый канал.
~
220В F1















