62753 (588826), страница 4
Текст из файла (страница 4)
Коаксиальные магнетроны имеют и другие существенные преимущества. Накопление значительной энергии в коаксиальном высокодобротном резонаторе повышает собственную добротность Qo всей системы и стабильность частоты генерируемых колебаний. Степень затягивания частоты F3 может быть при этом значительно снижена за счет уменьшения связи с нагрузкой и повышения внешней добротности Q0 при одновременном улучшении к. п. д. резонаторной системы.
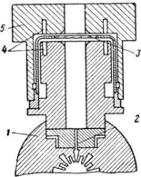
Рисунок 1.10 - Схема устройства коаксиального магнетрона: 1 -магнетронные резонаторы, 2—щели связи, 3—наружная стенка коаксиального резонатора; 4 — поршень механической настройки; 5—вывод энергии (прямоугольный волновод)
Далее, благодаря улучшению разделения видов колебаний возможна работа при меньшей амплитуде высокочастотного напряжения в пространстве взаимодействия, что приводит к повышению электронного к. п. д. Существуют и другие достоинства магнетронов коаксиального типа, что позволяет отнести их к числу перспективных направлений развития магнетронных генераторов.
Устройство типичных коаксиальных и волноводных выводов энергии показано на рис. 1.11 и 1.12. Петля вводится обычно в один из резонаторов в области максимума СВЧ магнитного поля. Основная трансформация сопротивления, определяющая величину QBH, осуществляется в зависимости от размеров петли.
Рисунок 1.11 - Коаксиальные выводы энергии магнетронов малой и средней мощности 10-см диапазона: 1—петля, 2, 3 — наружный и внутренний проводники коаксиальной линии; 4 — стекло; 5—медь; 6— ковар
Коаксиально-волноводные выводы энергии, жестко скрепляемые с магнетронами, применяются при умеренной мощности в коротковолновой части сантиметрового диапазона. При более высоких мощностях, а также при более коротких волнах используют в основном волноводные выводы. Между стандартным прямоугольным волноводом и анодным блоком обычно включается четвертьволновый волноводный трансформатор (рис. 1.12), понижающий сопротивление нагрузки в 100—200 раз. В качестве трансформаторов используются также многоступенчатые четвертьволновые и экспоненциальные переходы.
Рисунок 1.12 - Волноводный вывод энергии магнетрона 3-см диапазона с одноступенчатым четвертьволновым трансформатором: 1—анодный блок, 2 — трансформатор, 3—круглое стеклянное или керамическое окно; 4 — дроссель; 5—выходной фланец
Катод играет значительно большую роль в работе магнетронов, чем в работе большинства других электронных приборов СВЧ. Длина и диаметр катода необращенного магнетрона имеют пределы ввиду ограничений, накладываемых на высоту анодного блока lа, диаметр анода dэ и отношение
. Требования к удельной эмиссии становятся особенно высокими. Если в 10-см диапазоне типичная величина эмиссии с катода магнетрона в импульсе составляет 10 a/см2, то в 3-см диапазоне требуемая плотность тока доходит примерно до 30 а/см2. С дальнейшим укорочением волны происходит соответствующий рост требуемой эмиссии. К катоду магнетрона предъявляется дополнительное требование — способность работать с достаточным сроком службы в условиях значительной обратной бомбардировки. Значительную роль в работе магнетрона играет вторичная электронная эмиссия с катода. В связи с этим к материалу катода предъявляется также требование высокой вторичной эмиссии.
Основное назначение современных импульсных магнетронных генераторов — передатчики радиолокационных станций и других радиотехнических устройств, в том числе линий импульсной связи, радиоотелеметрических систем, маяков и т. п.
Устройство двух типичных импульсных магнетронов приведено на рис. 1.13 и 1.14.
Рисунок 1.13 - Устройство типичного импульсного ненастраиваемого магнетрона 10-см диапазона: 1 — анодный блок, 2 — катод, 3 — петля вывода энергии, 4— двойные кольцевые связки, 5—коаксиальный вывод энергии, 6—боковые крышки; 7—вывод катода и накала 8—-вывод накала 9—трубка для откачки; 10 —ковар; 11—стекло
Магнетроны находят также применение в качестве мощных генераторов, питающих линейные электронные ускорители. Магнетроны непрерывного режима все более широко применяются в установках промышленного и бытового СВЧ нагрева.
Диапазон мощностей импульсных магнетронов составляет от десятков ватт до 10 Мвт. Магнетроны непрерывного режима выпускаются на мощности от долей ватта до нескольких десятков киловатт.
Устройство митрона и схема его включения представлены на рис. 1.15. В этом приборе катод вынесен из пространства взаимодействия и расположен вдоль оси на одном из торцов
Рисунок 1.14 - Устройство типичного импульсного магнетрона 3-см диапазона (без постоянных магнитов). В более крупном масштабе изображено устройство катода, связок и анодного блока: 1- анодный блок с радиатором, 2-полюсный наконечник; 5 - катодная ножка, 4- катод; 5- окно вывода энергии; 6-связки; 7-Н-образный четвертьволновый трансформатор; 8-пермендгоровые наконечники
Катод окружен коническим дополнительным анодом — управляющим электродом, образующим вместе с катодом магнетронную пушку типа Кайно—Тейлора. Вместо катода внутри резонаторной системы расположен цилиндрический неэмиттирующий отрицательный электрод ("холодный катод"), создающий в пространстве взаимодействия постоянное радиальное электрическое поле, как в обычном магнетроне.
Электронный поток, имеющий вид полой трубки, инжектируется в пространство взаимодействия митрона и взаимодействует с полем -вида колебаний. При Uа1 = const (см. рис. 1.15) постоянное анодное напряжение Uа практически не влияет на величину анодного тока, что позволяет использовать в "чистом виде" явление электронной настройки магнетронов. Для реализации широкого диапазона электронной настройки нагруженная добротность резонаторной системы снижается до 2—10. В митроне, изображенном на рис. 1.15, использована встречно-штыревая система, соединяемая двумя металлическими кольцами с внешним низкодобротным резонатором. С помощью митронов получают диапазон электронной настройки, доходящий до одной октавы при малой генерируемой мощности.
Рисунок 1.15 - Устройство магнетрона, настраиваемого напряжением: 1 — накаленный катод; 2 — отрицательный электрод; 3—конический управляющий электрод; 4— анодные ламели (система встречных штырей); 5—керамика; 6 — анодные кольца для включения внешней части резонатора; 7 — наружный резонатор
Таким образом, митроны могут успешно конкурировать с лампами обратной волны типа О. Дополнительным преимуществом магнетронов, настраиваемых напряжением, является высокий к. п. д.
Вывод На основе анализа рассмотренных магнетронов можно в приемопередатчиках необходимо использовать импульсные магнетроны.
2 ТЕХНИЧЕСКАЯ ЧАСТЬ
2.1 Назначение и состав радиоаппаратуры для экспериментальных исследований
Радиолокатор "Гроза" обеспечивает радиолокационный обзор земной поверхности, обнаружение опасных для самолёта гидрометеообразований (грозы, мощнокучевая облачность и т. д.), измерение угла сноса самолёта и коррекцию бортового навигационного вычислителя. В состав радиолокатора входят следующие основные блоки:
- антенный блок, служащий для излучения в просматриваемое пространство импульсных СВЧ-колебаний З-сантиметрового диапазона волн и приёма отражённых сигналов;
- приёмно-передающий блок, осуществляющий генерацию мощных СВЧ- импульсов и усиление принятых отражённых сигналов;
- основной индикаторный блок с пультом, осуществляющий синхронизацию работы РЛС, формирование радиально-секторной развёртки "азимут- дальность" для индикатора, усиление видеосигналов и их индикацию, а также управление всей работой радиолокатора;
- блок стабилизации и управления, служащий для стабилизации зоны обзора РЛС в пространстве при кренах и тангаже самолёта;
- при наличии штурмана на борту самолёта - второй (дополнительный) индикатор штурмана;
- при установке навигационного вычислителя на борту – блок коррекции, служащий для коррекции счисленных текущих координат по характерным радиолокационным ориентирам;
- на самолётах, где необходима особо высокая надёжность, второй (дублирующий) приёмно-передающий блок, явяющийся горячим резервом первого блока и в случае выхода его из строя полностью выполняющий все его функции.
РЛС "Гроза" присваивается цифровое обозначение, совпадающее с принятым самолётостроительным предприятием номером типа самолета, например, "Гроза-40" - радиолокатор для самолета ЯК-40; "Гроза-24" - радиолокатор для самолёта АН-24.
2.2 Состав и размещение радиолокатора "Гроза"
В состав РЛС входят следующие блоки:
- антенный блок c рефлектором диаметром 560 мм;
- приёмно-передающий блок с повышенной разрешающей способностью;
- индикаторный блок с пультом управления радиолокатора;
- волноводный тракт.
Все блоки, за исключением антенного, размещаются в герметической кабине самолёта. Антенный блок и часть волноводного тракта находятся в негерметическом носовом радиопрозрачном обтекателе.
Индикаторный блок РЛС располагается в средней части приборной доски между рабочими местами первого и второго пилотов.
2.3 Основные технические характеристики радиолокатора "Гроза"
Основные технические характеристики РЛС "Гроза" следующие:
- средняя дальность наблюдения изображения незастроенных участков суши и крупных водных ориентиров при развёртке длительностью 250 км составляет 100 км;
- средняя дальность наблюдения изображений областных городов и промышленных центров - 155 км;
- средняя дальность наблюдения изображений особо крупных промышленных центров - 230 км;
- дальность обнаружения грозовой и кучево-дождевой облачности среднего развития - 130 км,
- диапазон высот полёта, в котором обеспечивается наилучшая равноконтрастность радиолокационного изображения земной поверхности - 5000- 9000 м;
- максимальная ошибка измерения радиолокатором угла сноса самолета - не более 1,5°;
- возможные углы ручного наклона оси диаграммы направленности антенны относительно плоскости горизонта ±10°;
- сектор азимутального обзора РЛС ±100° от строительной оси самолёта;
- частота азимутального обзора - 0,55 - 0,9 Гц (32-54 циклов обзора в минуту);
- импульсная мощность излучаемых радиоимпульсов - не менее 9 кВт;
- частота излучаемых СВЧ колебаний - 9370 ± 30 МГц;
- средняя мощность генерируемых СВЧ колебаний - не менее 8 ВТ;
- полоса пропускания сквозной частотной характеристики приемника на уровне половинной мощности - в пределах
.
где f1 - низшая граничная частота; f2 - высшая граничная частота;
- соотношение между граничными частотами полосы и частотой магнетрона fМ удовлетворяет условию
;
- длительность излучаемых радиоимпульсов – 2 ± 0,2 мкс;
- частота повторения излучаемых радиоимпульсов равна частоте бортовой электросети 200/115В, т.е. 400 Гц;
- чувствительность приёмного устройства РЛС по пропаданию сигнала в шумах - не менее 100 дБ/мВ;
- ширина диаграммы направленности по уровню половинной мощности в горизонтальной плоскости - не более 4,2°;
- длительность развёртки на индикаторе: 30 км; 50 км, 125 км, 250 км – все, начиная с нуля дальности, и 375 ± 25 км, начиная с дальности 200 км;
- интервал между калибрационными метками дальности: 10 км на развертках "30" и "50", 25 км – на развёртке "125" и 60 км - на развёртках "250" и "375";
- напряжение электропитания РЛС:
однофазное переменное напряжение 115 В с частотой 400 Гц или трёхфазное переменное напряжение с линейным значением 200 В и частотой 400 Гц; трехфазное напряжение 36 В с частотой 400 Гц; постоянное напряжение 27 В.
2.4 Режимы работы радиолокатора "Гроза"














