62753 (588826), страница 3
Текст из файла (страница 3)
Рисунок 1.5 - Идеализированные рабочие характеристики магнетронного генератора
Таким образом, вольтамперные характеристики магнетрона при В = const имеют вид семейства кривых с круто возрастающим начальным участком, показанным пунктиром на рис. 1.5, б. Далее следуют излом и почти горизонтальный участок, имеющий небольшой наклон к оси абсцисс и характеризующий работу магнетрона в генераторном режиме.
Типичные рабочие характеристики импульсного магнетрона 10-см диапазона приведены на рис. 1.6. Кроме кривых Рген = const и В = const, на этом графике показаны семейства кривых постоянного к. п. д. и постоянной генерируемой частоты. Рабочая точка магнетрона лежит в верхнем правом углу рассматриваемого графика.
Из рисунка 1.6 видно, что опытные кривые хорошо согласуются с обсуждавшимися ранее идеализированными характеристиками. Такое совпадение может рассматриваться как подтверждение правильности сделанных основных качественных предположений о механизме работы магнетрона.
По своему характеру нагрузочные характеристики магнетронов сходны с нагрузочными характеристиками других автогенераторов СВЧ с резонансной колебательной системой, например, отражательных клистронов. Такое сходство обусловлено тем, что затягивание частоты под действием внешней нагрузки обычно значительно меньше разделения видов.
Рисунок 1.6 - Типичные рабочие характеристики импульсного магнетрона 10-см диапазона
В качестве фиксированных параметров при определении нагрузочных характеристик магнетрона выбираются номинальные значения магнитной индукции В и постоянного анодного тока
. Иногда (при особенно высокой мощности) во избежание пробоев при больших значениях коэффициента стоячей волны снятие нагрузочных характеристик производится при пониженной мощности. В качестве начала отсчета фазы стоячей волны обычно выбирается выходной фланец магнетрона.
Типичная нагрузочная характеристика импульсного магнетрона 3-см диапазона приведена на рисунке 1.7. Линии постоянной генерируемой мощности близки к окружностям постоянной активной проводимости нагрузки. Линии постоянной частоты имеют веерообразное расположение и близки к линиям постоянной реактивной проводимости на круговой диаграмме полных проводимостей в полярной системе координат.
Важным параметром магнетронов является степень затягивания частоты, определяемая при коэффициенте стоячей волны, равном 1,5(см. рис. 1.7).
Рисунок 1.7 - Пример реальной нагрузочной характеристики импульсного магнетрона 3-см диапазона
Этот параметр, встречающийся при рассмотрении любого автогенератора СВЧ, приобретает в случае магнетронов особую актуальность, так как магнетроны часто связываются с нагрузкой без развязывающих ослабителей. Обычно степень затягивания F3 для магнетронов 10-см диапазона составляет 10—15 Мгц; в 3-см диапазоне степень затягивания может доходить до 15—20 Мгц. Допустимая степень затягивания находится в тесной связи с возможностями схемы автоматической подстройки частоты, использующей электронную настройку гетеродина — отражательного клистрона.
Основываясь на общих уравнениях затягивания частоты, можно найти соответствующие значения внешней добротности магнетрона на рабочем виде колебаний.
(1.17)
Через v0 здесь обозначена генерируемая частота при согласованной нагрузке, примерно равная резонансной частоте "холодного" блока на рабочем виде колебаний. Обычно учитывается также, что линии Рген = const и
= const на рис. 1.7 пересекаются под углом, отличным от
. В этом случае в правой части уравнения (1.17) вводится дополнительный эмпирический множитель, равный приблизительно 1,05.
Вычислим для примера требующуюся внешнюю добротность магнетрона, предназначенного для работы на волне 3,2 см. Задаваясь допустимой степенью затягивания, равной 20 Мгц, получаем по (1.17) :
. Именно такие и несколько более высокие значения
типичны для современных магнетронов.
1.5 Конструирования магнетронов
Основными конструктивными узлами современных магнетронов являются:
-
анодный блок (корпус) магнетрона, включающий резонаторную систему и устройства для разделения видов колебаний;
-
система перестройки частоты;
-
вывод энергии;
-
катод с соответствующими выводами;
-
вакуумная оболочка и система охлаждения;
-
магнитная цепь.
В большинстве магнетронов вся резонаторная система, механизм перестройки и значительная часть вывода энергии находятся внутри вакуумной оболочки и являются неотъемлемыми частями магнетрона. Это оказывает большое влияние на конструктивное оформление каждого из указанных узлов магнетрона.
Большинство современных магнетронов, за исключением некоторых магнетронов миллиметрового диапазона, используют -вид колебаний резонаторной системы. Данный вид колебаний обладает рядом особенностей и преимуществ в сравнении с другими видами колебаний. К числу таких преимуществ относятся отсутствие вырождения, наименьшее анодное напряжение при одной и той же индукции магнитного поля (если отвлечься от возбуждения на пространственных гармониках других видов колебаний), а также наибольший к. п. д. при неизменной величине магнитной индукции. Достоинством -вида является также конструктивная простота требующихся для этого резонансных систем.
При выборе количества резонаторов N необходимо учитывать следующее. Прежде всего, число N должно быть четным, чтобы обеспечить существование -вида колебаний. Увеличение числа резонаторов приводит к ухудшению разделения видов колебаний, но одновременно способствует снижению анодного напряжения при заданной индукции В и при неизменном диаметре анода. Обычные магнетроны 10-см диапазона имеют 8—12 резонаторов; в 3-см диапазоне применяются от 12 до 18 резонаторов. При переходе к миллиметровому диапазону число N доходит до 24—38 и более. Несколько особняком стоят коаксиальные магнетроны (см. далее), допускающие использование значительно большего числа резонаторов.
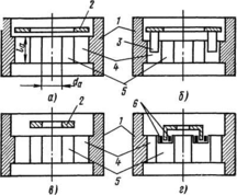
На волнах длиннее 3 см основное применение находят резонаторы типа щель—отверстие и лопаточные (секторные) резонаторы, показанные на рисунке 1.8. В миллиметровом диапазоне волн часто применяются щелевые резонаторы (рис. 1.8, в).
Рисунок 1.8 - Наиболее распространенные типы магнетронных резонаторов
Опыт показывает, что при использовании связок максимальные значения диаметра анодного отверстия da и рабочей длины анода
. связаны с длиной волны ориентировочными соотношениями
В случае разнорезонаторной системы максимальные величины
и
могут быть заметно повышены:
В миллиметровом диапазоне волн и при
идут на увеличение
до 1,5 и даже до 2,0. Чтобы избежать при этом резкого увеличения числа резонаторов или повышения анодного напряжения и магнитной индукции, целесообразно использовать работу магнетрона на виде колебаний, отличном от , при синхронизме с пространственной гармоникой р = +1 или р = —1.
Равнорезонаторные блоки с "многоэтажными" связками, расположенными через равные интервалы по длине анода, могут иметь очень большую длину (до
), что позволяет значительно увеличить длину катода и резко повысить генерируемую мощность.
Механическая перестройка (настройка) частоты основывается на изменении резонансной частоты -вида колебаний анодного блока. Существование нескольких близко расположенных по частоте видов колебаний осложняет механическую настройку магнетронов. Важными условиями при любом способе перестройки являются сохранение достаточного разделения видов и приблизительное постоянство собственной и нагруженной добротностей анодного блока в пределах рабочего диапазона частот. Всякие паразитные резонансы, кроме основного резонанса -вида, являются недопустимыми.
Наиболее распространен вариант симметричной механической перестройки. Одновременное воздействие на резонаторы производится индуктивным или емкостным способом с помощью металлических колец, стержней и коронок, перемещающихся внутри резонаторов или в торцевых пространствах магнетрона. Несколько систем, обеспечивающих диапазон перестройки до ± (36) % от средней частоты, показаны схематически на рис. 1.9. При настройке индуктивным кольцом (рис. 1.9, а) основное воздействие производится на высокочастотное магнитное поле, проходящее через торцевое пространство. С приближением металлического кольца к торцу анодного блока уменьшается эквивалентная индуктивность всех резонаторов и, как следствие, повышается резонансная частота каждого резонатора и всего анодного блока в целом. Воздействие на высокочастотное магнитное поле в самих резонаторах производится с помощью индуктивной коронки, имеющей металлические стержни, как показано на рис. 1.9, б. Похожим образом производится емкостная настройка магнетрона, при которой металлическое кольцо или коронка (см. рис. 1.9, в, г) перемещается в торцевом пространстве вблизи той части сегментов, где имеется наиболее сильное электрическое поле, или около связок. Для расширения диапазона иногда используют комбинацию емкостной и индуктивной перестроек.
Рисунок. 1.9 - Симметричная механическая настройка магнетрона индуктивным кольцом и индуктивной коронкой (а, б) и емкостными кольцом и коронкой (в, г):1- анодный блок; 2- металлическое кольцо; 3- металлический стержень; 4 - отверстие резонатора; 5 - щель резонатора; 6 – связки.
Интересна разновидность магнетронных систем, использующая коаксиальный резонатор, который охватывает многорезонаторный анодный блок. Внутренним проводником этого резонатора является цилиндрическая поверхность собственно анодного блока. В этой поверхности прорезаны продольные щели, связывающие коаксиальный резонатор с магнетронными резонаторами через один, как показано на рис. 1.10. Коаксиальный резонатор возбуждается на виде колебаний Н011, отличающемся тем, что электрическое поле и токи в стенках имеют вид замкнутых окружностей. Подобной структуре поля и токов отвечает возбуждение анодного блока магнетрона на -виде, так как в резонаторах, расположенных через один и имеющих щелевую связь, колебания оказываются синфазными (сдвинутыми между собой по фазе на 2). Видам колебаний анодной системы, отличным от -вида, соответствуют виды колебаний в коаксиальном резонаторе, отличные от Н011. Эти колебания могут быть в свою очередь сильно подавлены, например с помощью поглощающих вставок и кольцевых щелей, нарушающих высокочастотные токи всех видов колебаний, кроме вида Н011.
Благодаря этому диаметр анода и число резонаторов в магнетроне с описанным коаксиальным резонатором ("коаксиальном магнетроне") могут быть значительно увеличены в сравнении с обычными магнетронами без ухудшения разделения основных видов колебаний. Увеличение диаметра анода позволяет значительно повысить генерируемую мощность магнетрона.















