62753 (588826), страница 7
Текст из файла (страница 7)
Режим работы "Готов"
Когда переключатель режимов работы установлен в положение "Готов", излучения радиоволн не происходит, но радиолокатор находится в состоянии готовности к немедленной работе, если перед этим не менее чем 5 мин он был подключен к самолетной сети с помощью клавиши "РЛС"
3. ФУНКЦИОНАЛЬНЫЕ СХЕМЫ БЛОКОВ РЛС "ГРОЗА"
3.1 Антенный блок
Антенный блок РЛС "Гроза" предназначен для выполнения следующих функций:
излучения в пространство высокочастотных импульсов, генерируемых передающим устройством станции в пределах узкого и веерного луча в зависимости от режима работы РЛС;
приёма сигналов, отражённых от наземных и воздушных отражающих объектов;
изменения направления излучения и приёма сигналов в азимутальной плоскости;
гироскопической стабилизации осей узкого, веерного лучей в плоскости горизонта или другой заданной плоскости при кренах и тангаже самолета;
модуляции пилообразного тока развертки по закону синуса и косинуса текущего азимутального угла поворота антенны.
В зависимости от класса и типа самолёта, для установки на котором он предназначается, антенный блок носового размещения выпускается в двух модификациях, отличающихся только диаметром рефлектора (760 мм и 560 мм).
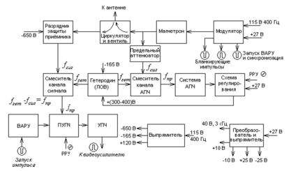
3.2 Основной приёмно-передающий блок
Приёмно-передающий блок состоит из передающей части, приёмной части и источников питания. В передающую часть входят тиристорно-магнитный модулятор и мощный СВЧ-генератор.
В приёмную часть входят высокочастотная головка (ВЧГ), предварительный усилитель промежуточной частоты (ПУПЧ), усилитель промежуточной частоты (УПЧ), узел временной автоматической регулировки усиления (ВАРУ).
Функциональная схема приёмопередатчика представлена на рис. 3.1.
Рисунок 3.1 - Функциональная схема приёмопередатчика
Приёмопередатчик работает следующим образом.
Передающая часть. Модулятор блока формирует высоковольтный импульс отрицательной полярности, который поступает на катод магнетрона. Магнетронный генератор генерирует при этом импульсы СВЧ, поступающие к выходному волноводу блока через циркулятор ВЧГ. Циркулятор служит для переключения антенны с приёмного на передающий каналы блока.
Кроме модулирующего импульса, модулятор генерирует старт-импульс синхронизации других блоков станции, а также импульсы бланкирования самолётного ответчика системы опознавания объектов.
Приёмная часть. Отражённые от объекта и принятые СВЧ-импульсы поступают во входной волновод блока и далее через циркулятор (вентиль) и разрядник защиты приёмника на смеситель канала сигнала. На смеситель поступает также СВЧ-сигнал от гетеродина, выполненного на лампе обратной волны (ЛОВ).
После преобразования на выходе смесителя образуются импульсы промежуточной частоты, поступающие на ПУПЧ. В ПУПЧ и УПЧ с линейно- логарифмической амплитудной характеристикой происходит усиление и детектирование принятых и преобразованных сигналов. С выхода УПЧ видеосигнал поступает в индикаторный блок РЛС.
Часть СВЧ-энергии, генерируемой во время импульса магнетроном, через предельный аттенюатор поступает на смеситель АПЧ, куда также поступает СВЧ-сигнал от гетеродина. После преобразования на выходе смесителя образуются импульсы промежуточной частоты, которые поступают на вход узла АПЧ, где вырабатывается сигнал, пропорциональный отклонению промежуточной частоты от номинального значения. Этот сигнал воздействует через схему регулирования на напряжение управляющего электрода гетеродина (Л0В), перестраивая его по частоте таким образом, чтобы свести к минимуму отклонение промежуточной частоты от номинального значения.
Узел ВАРУ, запускаемый синхронно с импульсом излучения, осуществляет регулировку усиления приёмника после излучения СВЧ-импульса, а также обеспечивает его запирание на время действия мощного импульса магнетрона.
Временная регулировка усиления необходима для получения равноконтрастного изображения близких и далёких целей на экране индикатора кругового обзора (ИКО). Косекансная форма диаграммы направленности позволяет получить равноконтрастное изображение на экране индикатора, имеющего параллельные линии развёртки по дальности. Но на экране ИКО, где эти линии сходятся в центре, из-за конечного диаметра электронного пятна индикаторной трубки изображение цели, находящейся ближе к центру экрана ИКО, будет всегда ярче, чем изображение такой же цели на периферии. ВАРУ позволяет устранить это различие целей по яркости.
Принцип действия ВАРУ состоит в том, что на усилительные каскады ПУПЧ подаётся периодическое напряжение экспоненциальной формы, синхронизированное импульсами запуска передатчика.
Оно обеспечивает уменьшение усиления приёмника после излучения зондирующего импульса и затем плавное восстановление усиления до номинальной величины. Регулируя амплитуду экспоненциального напряжения схемы ВАРУ, можно добиться равноконтрастного изображения близких и далёких целей на ИКО. ВАРУ необходима также для устранения сильных засветов в центре экрана, возникающих при наблюдении морской поверхности, где отражение от волн имеет большую величину на малых дальностях и быстро убывает с расстоянием.
Ручная регулировка усиления приемника (РРУ) осуществляется с помощью переменного резистора.
3.3 Основной индикаторный блок с пультом управления
Индикаторный блок состоит из следующих функционально законченных узлов:
устройства создания радиально-секторной развёртки;
устройства синхронизации;
панели видеоусилителя;
электроннолучевой трубки (ЭЛТ) – 14ЛМ1Н со схемой питания её электродов;
стабилизированного источника высокого напряжения + 18 кВ;
пульта управления станции.
Вид передней панели блока представлен на рис.2.9.
Устройство развёртки. Устройство развёртки предназначено для формирования в отклоняющих катушках линейно нарастающих импульсов тока, модулированных по амплитуде частотой азимутального сканирования антенны и необходимых для создания на экране ЭЛТ радиально-секторной развёртки "азимут-дальность".
Упрощённая схема устройства приведена на рис. 3.2. Она представляет собой мостовую схему, плечи которой составлены из двух ключевых транзисторов ПП1 и ПП2 и двух цепочек, состоящих из диодов Д1 и Д2, резисторов R1 и R2 и конденсаторов С1 и С2. К диагоналям моста подключены источник питания + Е и нагрузка, состоящая из роторной обмотки Р2-Р4 вращающегося трансформатора (ИВТ), дросселя Др и диодных мостов М1 и М2.
Рисунок 3.2 - Схема устройства развертки
Во время рабочего хода развёртки ПП1 и ПП2, работающие в ключевом режиме, открываются импульсом управления разверткой, и роторная обмотка ИВТ совместно с дросселем подключается через малое сопротивление открытых транзисторов и диодные мосты к источнику питания. За счёт большой индуктивности нагрузки, определяемой индуктивностью формирующего дросселя, ток в роторной обмотке ИВТ в течение всего времени открытого состояния транзисторов нарастает практически линейно. В статорных обмотках ИВТ при этом индуктируются линейно нарастающие импульсы тока, амплитуда которых изменяется пропорционально синусу и косинусу текущего азимутального угла, на который повёрнут ротор ИВТ. Последовательно со статорными обмотками ИВТ включены две создающие взаимно перпендикулярные магнитные поля отклоняющие катушки Lх и Lу. Линейно нарастающие импульсы тока, модулированные по амплитуде в одной отклоняющей катушке по закону синуса, а в другой по закону косинуса текущего азимутального угла, создают в совокупности вращающееся магнитное поле, под действием которого на экране ЭЛТ получается радиально-секторная развёртка. Во время прямого хода развёртки Д1 и Д2 закрыты, а ПП1 и ПП2 открыты. При обратном ходе развёртки ПП1 и ПП2 закрыты, а ЭДС, возникающая при этом на индуктивности нагрузки (Др и роторной обмотки), открывает Д1 и Д2, в результате чего ток замыкается через них на источник питания + Е и быстро спадает до нуля.
Цепочки из С1 и С2 служат для ускорения процесса спада тока. Диодные мосты М1 и М2 служат для фиксации начала развёртки в определённой точке экрана ЭЛТ при любых длительностях развертки и азимутальных положениях антенны за счёт того, что после запирания ПП1 и ПП2 прекращается прохождение прямого тока через них, и они оказываются закрытыми для токов отклоняющих катушек.
Ток в отклоняющих катушках становится при этом практически равным нулю, а запасённая в них энергия рассеивается до прихода следующего коммутирующего импульса на ставшем большим по величине сопротивлении диодных мостов. Этим и обеспечивается не зависящая от длительности и азимутального угла фиксация начала развёртки на экране ЭЛТ.
Устройство синхронизации.
Устройство синхронизации предназначено для формирования следующих калибрационных и управляющих сигналов: ключевого импульса управления схемой развёртки, импульса подсвета линии развёртки и калибрационных меток дальности.
Длительность вырабатываемых синхронизатором ключевых импульсов управления развёрткой и импульсов подсвета, задержка их относительно стартового импульса, а также период следования калибрационных меток дальности определяются выбранным режимом работы и диапазоном развёртки.
Функциональная схема устройства синхронизации приведена на рис. 3.3.
Рисунок 3.3 Функциональная схема устройства синхронизации
Работа синхронизатора начинается с приходом старт-импульсов с передатчика. Старт-импульс запускает блокинг-генератор запускающих импульсов синхронизатора, отрицательным импульсом которого открывается ключевое устройство генератора меток. В состав генератора, кроме ключевого устройства, входит задающий генератор, схема формирования (усилитель-ограничитель) и блокинг-генератор меток. В момент открытия ключевого устройства возникает генерация в задающем генераторе, причём первый полупериод генерируемого синусоидального напряжения всегда имеет отрицательную полярность, а величина периода определяется выбранной длительностью развёртки. Колебания задающего генератора преобразуются схемой формирования в прямоугольные импульсы, передним фронтом которых запускается блокинг-генератор меток дальности. С выхода блокинг-генератора метки дальности поступают для смешивания с принятым сигналом и одновременно на счётчик импульсов синхронизатора. Счётчик импульсов состоит из трёх включенных последовательно триггеров.
Эпюры напряжений синхронизатора для каждой из развёрток 50, 125 и 250 км приведены на рис. З.4.
Коммутируя запуск третьего триггера счётчика с плеча "в" на плечо "г" второго, можно получить на его выходах импульсы, положительный фронт которых совпадает с 4-, 6- и 9-й меткой, т.е. задержан относительно первой метки дальности (и, следовательно, старт-импульсов) на требуемый для любой развёртки интервал.
При первых четырёх длительностях развёртки импульсы начала развёртки, которыми являются импульсы задающего блокинг-генератора, а также импульсы конца развёртки, полученные дифференцированием первого положительного фронта импульса третьего триггера, поступают на ключевой триггер, который формирует импульсы управления развёрткой.
На развёртке "З75" импульс управления развёрткой снимается непосредственно с 3-го триггера счётчика. Через эмиттерный повторитель синхронизатора импульсы управления развёрткой поступают на схему формирования развёртки. Импульсы подсвета по длительности и задержке относительно старт-импульса всегда совпадают с импульсами развёртки. Они снимаются с выхода того же эмиттерного повторителя и подаются в видеоусилитель станции.
Рисунок 3.4 - Эпюры напряжений синхронизатора
Ключевой триггер синхронизатора импульсом конца развёртки опрокидывается в положение, при котором запирается ключевое устройство генератора меток. Генерация меток прекращается и возобновляется лишь с приходом следующего старт-импульса от передатчика.
Одновременно с подачей на ключевой триггер каждый импульс задающего блокинг-генератора (импульс начала каждого цикла работы) подаётся на триггеры счётчика для сброса их в исходное состояние.
При определённых значениях частоты напряжения 115 В сети питания станции, от которого осуществляется синхронизация приёмо-передатчика, на развёртке "375" 9-я метка дальности может оказаться в следующем периоде повторения импульсов передатчика, что приведёт к сбою синхронизации. Во избежание этого на развёртке "375" от ключевого триггера синхронизатора отключается импульс конца развёртки и он опрокидывается в исходное состояние следующим старт-импульсом передатчика.
Частота следования импульсов ключевого триггера при этом становится в 2 раза меньше частоты следования старт-импульсов РЛС, а длительность развёртки автоматически уменьшается таким образом, что её конец совпадает со старт – импульсом следующего периода повторения, а не с 9-й меткой дальности.
Видеоусилитель.















