147650 (580218)
Текст из файла
1. Как работает термостат в двигателе КамАЗ на различных тепловых режимах? Покажите на схемах пути жидкости
Термостат предназначен для ускорения прогрева холодного двигателя и автоматического поддержания его теплового режима в заданных пределах. Конструктивно он представляет собой клапан, регулирующий количество циркулирующей жидкости через радиатор.
На двигателях КамАЗ применяют термостаты с твердым наполнителем (рисунок 1).
На двигателях КамАЗ два термостата помещены в отдельном корпусе, который закреплен на переднем конце правого ряда цилиндров, начало открытия при температуре 80°С ±2°С, полное открытие при температуре 93°С±2°С, работа термостатов параллельна.
Рисунок 1. - Термостат двигателя КамАЗ:
1, 8 - стойки; 2 - баллон; 3 - активная масса (церезин); 4, 12 - клапаны; 5, 7 - пружины; 6, 10 - регулировочные гайки; 9 - шток; 11 - резиновая вставка с шайбой; 13 - основание.
На холодном двигателе вход жидкости в радиатор перекрыт клапаном 12, а вход в перепускную трубу к водяному насосу открыт клапаном 4. Охлаждающая жидкость циркулирует, минуя радиатор, что ускоряет прогрев двигателя. При достижении температуры охлаждающей жидкости активная масса (церезин) 5, заключенная в баллоне 2, плавится, увеличиваясь в объеме. При этом баллон 2 перемещается вправо, открывая клапан 12, а клапан 4 закрывает вход в перепускную трубу к водяному насосу. Охлаждающая жидкость начинает циркулировать через радиатор. В диапазоне температур 80…93°С охлаждающая жидкость циркулирует через радиатор и перепускную трубу на вход насоса, клапаны 4 и 12 открыты частично.
При температуре 93°С±2°С происходит полное открытие клапана 12 и закрытие клапана 4, при этом вся жидкость циркулирует через радиатор.
При снижении температуры охлаждающей жидкости до 80°С и ниже объем церезина уменьшается и клапаны 4 и 12 под действием пружин 7 и 5 термостата занимают первоначальное положение.
Рисунок 2. - Клапаны открыты.
Рисунок 3. - Клапаны закрыты
2. Опишите работу ограничителя числа оборотов коленвала в карбюраторе К-88А. Покажите на схемах работу ограничителя при низких и высоких оборотах
Ограничитель частоты вращения коленчатого вала служит для предотвращения повышения частоты вращения сверх допустимых пределов. Во время работы нагрузки на двигатель часто уменьшается или увеличивается в зависимости от внешних условий (рельефа местности, состояния почвы и др.). Изменение нагрузки на двигатель при неизменном положении дроссельной заслонки вызывает рост или падение частоты вращения коленчатого вала. При снижении нагрузки она может возрасти сверх допустимых значений, что приводит к повышенному износу деталей двигателя и перерасходу топлива.
Рисунок 1. - Схема ограничителя частоты вращения карбюратора К-88А.
Ограничитель состоит их двух механизмов: центробежного датчика и исполнительного механизма с диафрагменным приводом, расположенным в карбюраторе. Центробежный датчик установлен на крышке распределительных шестерен. Он включает в себя ротор 5, вал 2 которого получает вращение от распределительного вала. В корпус ротора помещен клапан 4. Он оттягивается от отверстия В седла пружиной 3.
Исполнительный механизм состоит из диафрагмы, которая штоком 6 соединена с концом двуплечего рычага 7. Другой конец рычага связан с пружиной 11 ограничителя. Двуплечий рычаг укреплен на оси дроссельных заслонок 9. Их привод снабжен специальной кулачковой муфтой 8, с помощью которой дроссельные заслонки закрываются и открываются под действием исполнительного механизма независимо от положения ножной педали (акселератора). При максимальной частоте вращения коленчатого вала пружина 11 удерживает диафрагму 12 в положении, соответствующем открытию дроссельных заслонок, как показано на рисунке. В этом случае полость Б (над диафрагмой) соединена через трубки и датчик с отверстием В, т.е. с атмосферой. С атмосферой связана и полость А (под диафрагмой).
При частоте вращения коленчатого вала до 53,3 с-1 (максимальной) центробежной силы клапана 4 недостаточно, чтобы преодолеть усилие пружины 3, и клапан остается открытым. При увеличении частоты вращения коленчатого вала клапан 4 под действием центробежной силы, преодолев сопротивление пружины 3, перемещается к седлу и, закрыв отверстие В, прерывает сообщение полостей. Благодаря этому разрежение над диафрагмой, передаваемое от камеры карбюратора по каналам, увеличивается. Если частота вращения коленчатого вала достигнет предельного значения, то разрежение становится настолько большим, что в результате разницы давлений в полостях А и Б диафрагма перемещается вверх. Она преодолевает сопротивление пружины 11 ограничителя и через шток 6 и двуплечий рычаг 7 прикрывает дроссельные заслонки на определенный угол, уменьшая частоту вращения коленчатого вала.
Таким образом, кулачковая муфта дает возможность автономно управлять прикрытием дроссельных заслонок 9 через исполнительный механизм ограничителя частоты вращения независимо от положения рычага привода заслонок. Открытие же дроссельных заслонок ограничивается положением рычага их привода.
3. Составьте диаграмму фаз газораспределения для двигателя ВАЗ-2106 и опишите ее действие. Какие регулировки необходимо делать в механизме газораспределения?
Клапаны открываются и закрываются с некоторым опережением или запаздыванием, что необходимо для улучшения наполнения цилиндров горючей смесью и лучшей очистки от отработавших газов.
Моменты открытия и закрытия клапанов, выраженные в градусах угла поворота коленчатого вала по отношению к соответствующим мертвым точкам, называют фазами газораспределения и изображают в виде круговых диаграмм (рисунок 1).
Рисунок 1. - Диаграмма фаз газораспределения
Фазы газораспределения для ВАЗ-2106 (в градусах поворота коленчатого вала):
Впускной клапан:
открытие до в. м. т.12
закрытие после н. м. т.40
Выпускной клапан:
открытие до н. м. т.42
закрытие после в. м. т.10
Перекрытие клапанов 22
Общая круговая диаграмма показывает, что в определенный период времени одновременно открыты впускной и выпускной клапаны. Угловой интервал вращения коленчатого вала, при котором оба клапана открыты, называется перекрытием клапанов, которое необходимо для своевременной и качественной очистки цилиндров от продуктов сгорания.
С этой целью впускной клапан открывается до прихода поршня в ВМТ в конце такта выпуска с опережением поворота коленчатого вала, а закрывается после прихода поршня в НМТ, в начале такта сжатия т.е. с запаздыванием. Поступление смеси или воздуха до прихода поршня в ВМТ в конце такта выпуска и после прихода в НМТ начала такта сжатия, происходит за счет инерционного напора во впускном трубопроводе из-за часто повторяющихся тактов в цилиндрах.
Выпускной клапан открывается до прихода поршня в НМТ в конце такта горения - расширения и закрывается после прихода поршня в ВМТ такта выпуска. Выпускной клапан открывается раньше, так как давление в конце такта расширения невелико, и оно используется для очистки цилиндров от продуктов сгорания. После прохождения ВМТ отработавшие газы будут продолжать выходить по инерции.
Для правильной установки фаз газораспределения распределительные шестерни двигателя необходимо точно соединить по меткам.
При нагревании материал, из которого изготовлен клапан, расширяется, т.е. стержень клапана удлиняется. Поэтому, чтобы клапан не уперся при работе двигателя в коромысло, между ними предусмотрен определенный так называемый тепловой зазор. Если зазор окажется меньше предусмотренного размера, посадка клапана в горячем двигателе будет неплотная. В результате произойдет утечка газов, кроме того возможно обгорание рабочей поверхности клапана. Напротив, если зазор больше предусмотренного размера, то открывание клапанов будет неполным, а наполнение и очистка цилиндра недостаточны. В обоих случаях отклонение от нормального теплового зазора ведет к снижению мощности двигателя и повышенному расходу топлива.
Порядок и последовательность регулирования тепловых зазоров на двигателях определены инструкцией завода-изготовителя. Тепловые зазоры регулируют обязательно при закрытых клапанах.
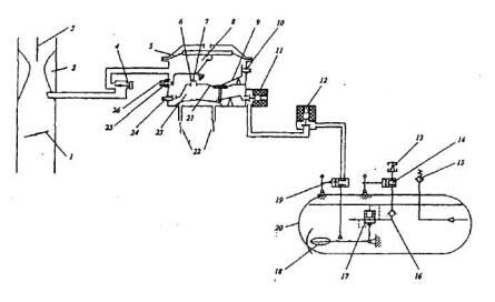
4. Опишите схему работы системы питания газобаллонного автомобиля ГАЗ-2417. Как работает двухступенчатый газовый редуктор
Принципиальная схема газобаллонного оборудования автомобиля ГАЗ-2417 приведена на рисунке 1.
Сжиженный газ хранится в баллоне 20 и поступает в него при заправке на АГЗС через наполнительный вентиль 14. При наполнении газом 80 - 85% объема баллона, автоматически прекращается его заправка за счет всплытия поплавка 18, который с помощью рычага перекрывает отсечной клапан 17.
Далее газ из баллона через открытый расходный вентиль 19 по трубопроводу высокого давления подается к магистральному электромагнитному клапану - фильтру 12, где происходит очистка от механических примесей.
Через открытый электромагнитный клапан 12 газ по трубопроводу попадает в газовый редуктор, где в полостях первой 23 и второй 8 ступеней происходит снижение его давления до величины близкой к атмосферному.
Автоматическое регулирование давления газа в редукторе осуществляется изменением положения клапанов первой 23 и второй 8 ступеней, которые при помощи рычагов 9 и 7 соединены с мембраной 21 и 5.
Испарение жидкой фазы, поступающего в редуктор низкого давления, происходит за счет подогрева корпуса редуктора жидкостью, поступающей из системы охлаждения двигателя по каналам 22.
Далее газ из редуктора по соответствующим трубопроводам (шлангам) поступает в дозатор газа 4 и в соответствующей порции в смеситель газа 2, где смешивается с воздухом. Газовоздушная смесь, регулируемая дроссельной заслонкой 1, поступает в цилиндры двигателя внутреннего сгорания автомобиля.
Рисунок 1. - Принципиальная схема системы питания газобаллонного автомобиля ГАЗ-2417:
1 - дроссельная заслонка; 2 - смеситель; 3 - воздушная заслонка; 4 - дозатор газа; 5 - мембрана 2-й ступени; 6 - клапан 2-й ступени; 7 - рычаг клапана 2-й ступени; 8 - полость 2-й ступени; 9 - рычаг мембраны 1-й ступени; 10 - регулировочный винт рычага 1-й ступени; 11 - входной электромагнитный клапан; 12 - магистральный электромагнитный клапан - фильтр; 13 - заправочное устройство; 14 - наполнительный вентиль; 15 - предохранительный клапан; 16 - клапан обратный; 17 - отсечной клапан; 18 - поплавок; 19 - расходный вентиль; 20 - баллон; 21 - мембрана с клапаном 1-й ступени; 22 - каналы для охлаждающей жидкости; 23 - полость 1-й ступени; 24 - винт регулировочный холостого хода; 25 - пружина; 26 - регулировочный винт клапана 2-й ступени.
Редуктор низкого давления служит для снижения давления газа до значения, близкого к атмосферному. Он также препятствует поступлению газа к смесителю при неработающем двигателе. Редуктор - двухступенчатый мембранно-рычажного типа (рисунок 2). Принцип действия первой и второй ступеней редуктора одинаков.
Каждая ступень имеет клапаны 7 и 11 (рисунок 2а), резинотканевые мембраны 1 и 10, двуплечие рычаги 6 и 8, шарнирно соединяющие мембрану с клапаном, и пружину 3.
Характеристики
Тип файла документ
Документы такого типа открываются такими программами, как Microsoft Office Word на компьютерах Windows, Apple Pages на компьютерах Mac, Open Office - бесплатная альтернатива на различных платформах, в том числе Linux. Наиболее простым и современным решением будут Google документы, так как открываются онлайн без скачивания прямо в браузере на любой платформе. Существуют российские качественные аналоги, например от Яндекса.
Будьте внимательны на мобильных устройствах, так как там используются упрощённый функционал даже в официальном приложении от Microsoft, поэтому для просмотра скачивайте PDF-версию. А если нужно редактировать файл, то используйте оригинальный файл.
Файлы такого типа обычно разбиты на страницы, а текст может быть форматированным (жирный, курсив, выбор шрифта, таблицы и т.п.), а также в него можно добавлять изображения. Формат идеально подходит для рефератов, докладов и РПЗ курсовых проектов, которые необходимо распечатать. Кстати перед печатью также сохраняйте файл в PDF, так как принтер может начудить со шрифтами.
















