147391 (580180)
Текст из файла
Погрузочно-разгрузочные и штабелирующие машины
Назначение, виды, характеристики, принцип действия, схемы устройства подъемно-транспортного оборудования, показатели работы и направления совершенствования
Торговля является одной из наиболее трудоемких отраслей народного хозяйства, между тем значительная масса грузов здесь еще перерабатывается вручную. Низкий уровень механизации труда в торговле вызывает постоянную потребность в кадрах и их большую текучесть.
Наиболее трудоемкими в торговле являются погрузочно-разгрузочные и транспортно-складские работы. Это вызвано тем, что большинство магазинов, баз, складов имеют небольшую площадь, строились без учета механизации этих работ, в них трудно использовать многие из имеющихся видов подъемно-транспортного оборудования.
Дальнейшее развитие розничной торговой сети и складского хозяйства, применение прогрессивной технологии товародвижения на индустриальной основе с использованием тары-оборудования и контейнеров потребовали механизации и автоматизации трудоемких процессов, выполняемых при погрузочно-разгрузочных и транспортно-складских работах. При замене ручного труда машинами и аппаратами выделяют следующие стадии механизации: частичная механизация, механизация, комплексная механизация и автоматизация.
Внедрение комплексной механизации и автоматизации погрузочно-разгрузочных и транспортно-складских работ дает значительный экономический и социальный эффект. Капитальные вложения в механизацию этих работ отличаются высокой эффективностью. Они окупаются за 1,5 - 3 года. При прочих равных условиях экономия трудовых ресурсов за счет механизации в 3 - 6 раз больше, чем при осуществлении аналогичных мероприятий в основном производстве.
Высокого уровня организации работ можно достичь за счет перехода от использования отдельных видов подъемно-транспортной техники к внедрению высокопроизводительных систем, машин и автоматизированных перегрузочных комплексов.
При механизации труда в торговле создаются условия для внедрения прогрессивных методов продажи товаров, увеличения объема предоставляемых покупателям дополнительных услуг, повышения культуры обслуживания, сокращается потребность в кадрах.
Важнейшими направлениями совершенствования производства подъемно-транспортного оборудования являются: расширение номенклатуры выпускаемого оборудования; увеличение производства отдельных машин и комплексов оборудования (механизированных и автоматизированных), модернизация оборудования; унификация его узлов и деталей; снятие с производства устаревшего оборудования. Для новых моделей подъемно-транспортного оборудования характерны более высокая производительность, надежность и безопасность в работе, удобства при эксплуатации и техническом обслуживании, экономичность в потреблении энергии, а также компактность, что особенно важно при механизации труда в небольших магазинах и на складах.
Классифицируют подъемно-транспортное оборудование:
- по функциональному назначению: грузоподъемные машины и механизмы (лифты, подъемники, краны), транспортирующие машины (конвейеры), машины подвесного транспорта (электро- и автотележки, подвесные электротягачи), машины напольного транспорта (авто- и электропогрузчики, электроштабелеры), погрузочно-разгрузочные машины;
- по принципу действия: периодического цикличного (блоки, лебедки, краны, лифты, погрузчики) и непрерывного действия (конвейеры, транспортеры);
- по виду привода: ручного действия (грузовые тележки), механического действия (электротележки, электропогрузчики и др.) и гравитационные, использующие силу тяжести перемещаемых грузов (наклонные спуски, рольганги);
- по конструктивным признакам: стационарные, передвижные;
- по техническим параметрам - массе, габаритам, грузоподъемности, мощности привода.
Грузовые тележки (рис. 1, 2) - самое простое и распространенное средство малой механизации для горизонтального перемещения грузов. Тележки выпускаются с ручным и механическим приводом, грузоподъемностью от 50 до 3200 кг. Их обозначения следующие: ТГ - тележка грузовая для тарно-штучных грузов, ТГМ - тележка грузовая модернизированная, ТГВ - с подъемными вилами, ТГШ - для перевозки бочек и затаренных грузов. Цифры указывают грузоподъемность.
Тележка ТГ-50 состоит из сварной металлической рамы с деревянным настилом. Передние спаренные колеса поворотные, а задние - неповоротные. Ручка тележки откидная, шарнирно прикреплена к оси передних колес
Тележка ТГ-125 состоит из грузовой платформы, двух поворотных и двух неповоротных колес на одной оси.
Тележка ТГШ-250 имеет съемную металлическую платформу для перевозки затаренных грузов. При транспортировке бочек платформу снимают. На вертикальном стержне расположен фиксатор для захвата бочек при перевозке.
Тележка ТГВ-500М с гидравлическим подъемом вил состоит из подъемной рамы с вилами, ручного привода подъема вил, двух спаренных передних поворотных колес и двух задних катков. Поворотные колеса связаны с водилом. Вилы поднимаются плунжерным гидравлическим насосом. Высота подъема вил от уровня пола 125 мм.
Электротележки применяют для горизонтального транспортирования товаров в упаковке на короткие расстояния в крупных .магазинах, на базах и складах. Грузоподъемность таких тележек 1 и 2 т, скорость передвижения до 20 км/ч. Тележки могут иметь кран грузоподъемностью до 250 кг, подвижную или неподвижную платформу. В частности, электротележка ЭТ-2040 грузоподъемностью 2 т состоит из рамы с неподвижной платформой, переднего управляемого и заднего ведущего мостов, электропривода с аккумуляторной батареей, системы рулевого управления, тормозного устройства, электрооборудования.
Рисунок 1. Тележки
а - четырехколесная ручная; б - ручная с подъемным столом, в - универсальная с кузовом; г - планетарными колесами для переезда препятствий; д - электротележка; е - с опрокидывающимся кузовом на самоходном шасси; 1 - платформа; 2 - ведущее колесо; 3 - аккумуляторные батареи; 4 - рулевое колесо; 5 - педаль; 6 и 7 - рукоятки управления; 8 - контроллер и механизмы управления; 9 - шасси: 10 - кузов; 11 - гидроцилиндр
Рисунок 2. Грузовые ручные тележки
а - ТГ-125; б - ТГМ-125; в - ТГ-1000М1; г - ТГШ-250; д - ТГВ-500 М
Для горизонтального транспортирования товаров в контейнерах на колесах и грузов в прицепных тележках используют малогабаритные тягачи с электроприводом и аккумуляторной батареей или двигателем (рис. 3). Тягачи имеют тяговое усилие от 60 до 250 кг и скорость передвижения до 7 км/ч. Например, электротягач АТБ-250 с тяговым усилием 250 кг может перевозить грузы массой до 10 т на прицепах. Все узлы ходовой части, электропитания и управления смонтированы на сварной раме. Шины пневматические, торможение - электрическое и механическое.
Рисунок 3. Автопогрузчики и электропогрузчики:
а - схема подъемного механизма автопогрузчика; б - схема электропогрузчика с механизмом поперечного перемещения груза; в - схема навески стрелы с крюком
Погрузчики предназначены для захвата, подъема, транспортирования и укладки грузов (контейнеров, ящиков, бочек и др.) на транспорт и в штабеля. Погрузчики оборудованы сменными грузозахватными приспособлениями: вилами, кантователями для бочек, боковыми захватами для грузов с плоскими и цилиндрическими поверхностями и др. Погрузчики подразделяются по ходовому оборудованию на колесные и гусеничные, по приводу - на автопогрузчики (с двигателем внутреннего сгорания) и электропогрузчики (с питанием от аккумуляторных батарей). Грузоподъемность погрузчиков 0,5 - 5 т, высота подъема вил - до 4,5 м, скорость передвижения - до 20 км/ч.
Электропогрузчики используют при транспортировке грузов на короткие расстояния и внутри помещений. Наиболее распространенный электропогрузчик 4014-М состоит из корпуса, грузоподъемника с вилами, рулевого управления, гидропривода подъема грузоподъемника и силового агрегата. Ходовая часть - два передних колеса с шинами и одно заднее управляемое колесо. Погрузчик обладает хорошей маневренностью и небольшими габаритами. Грузоподъемность 500 кг, высота подъема вил со сменными грузоподъемниками 1,8, 2,5 и 4,5 м.
Автопогрузчики имеют повышенную проходимость и используются на открытых площадках и территориях складов.
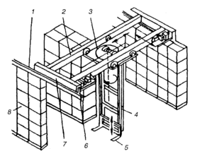
Рисунок 3. Общая компоновка мостового крана-штабелера
1 - подкрановые пути; 2 - главные балки моста; 3 - тележка; 4 - несущая вертикальная колонна; 5 - вилочный захват; 6 - привод; 7 - концевые балки; 8 - стеллажи или колонны
Электроштабелеры предназначены для погрузочно-разгрузочных работ, перевозки на небольшие расстояния и укладки в штабеля и на стеллажи специальных поддонов с грузами. Электроштабелеры отличаются от погрузчиков тем, что не имеют противовесов, так как центр тяжести перевозимых грузов располагается внутри опорного контура машины. В передней части электроштабелеров имеется грузоподъемная мачта с гидравлическим подъемом вилочной каретки, которая на роликах перемещается в горизонтальном направлении по направляющим опорных балок. Электроштабелер ЭШ-186 имеет грузоподъемность 500 кг, высоту подъема вил 4,5 м, массу 2,3 т и небольшие габариты, что позволяет использовать, его на многоэтажных складах, имеющих ограниченную прочность перекрытия при межстеллажных проходах шириной до 1,4 м.
Электроштабелер ЭШ-186 состоит из корпуса, ведущего моста, передних колес, грузоподъемного механизма, кареток выдвижения и смещения, электрооборудования, тормозной системы гидропривода, рулевого управления и управляемых колес.
Тали и электротягачи, предназначенные для вертикального подъема и опускания, а также горизонтального перемещения упакованных или штучных грузов, передвигаются по монорельсовому пути из двутавровых балок. Ручные тали применяют обычно для подъема тяжелых грузов на небольшую высоту и перемещения груза в горизонтальном направлении на небольшие расстояния.
Электрические тали выпускаются двух типов: с ручным передвижением груза и с механическим - с помощью электропривода, встроенного в ходовую тележку. Грузоподъемный механизм электроталей состоит из корпуса с барабаном и встроенного в него электродвигателя, редуктора, подъемного механизма, электромагнитного тормоза, подвески и пусковой электроаппаратуры.
На торговых складах применяют универсальные мостовые краны грузоподъемностью до 10 т. Мостовой кран состоит из передвижного моста, механизма передвижения, электротали троллея или кабеля и токосъемников. Грузовая тележка крана обеспечивает подъем груза и его перемещение поперек склада, а при движении мостового крана по рельсам - перемещение груза по длине склада. Мостовые краны используют в закрытых складских помещениях и под навесами для перемещения контейнеров и других тяжелых грузов, а также для штабелирования. Управление краном осуществляется из подвешенной к мосту кабины или посредством кнопочной станции, установленной внутри склада на полу.
Рисунок 4. Тали
а - ручная червячная: 1 - крюк грузовой: 2 - подвижной блок; 3 - червяк;
4 - обойма; 5 - грузоупорный тормоз; 6 - звездочка; 7 - червячное колесо; 8 - крюк подвески; 9 - тяговое колесо; 10 - тяговая цепь; 11 - грузовая цепь; б - электроталь с управлением снизу на монорельсе (тельфер): 1 - привод механизма передвижения; 2 - тормозное устройство; 3 - грузозахватные устройства; 4 - мотор-барабан; 5 - привод грузоподъемного устройства; 6 - кнопочная станция; 7 - монорельс
Краны-штабелеры предназначены для укладки грузов в штабеля и на стеллажи высотой до 20 м, а также штучных грузов на поддоны и контейнеры. Грузоподъемность кранов-штабелеров 0,25 - 3,2 т. Минимальная ширина прохода между стеллажами, необходимая для разворота грузоподъемника с грузом, - 2,2 м. Применение мостовых кранов-штабелеров позволяет сократить межстеллажные проходы в 1,5 раза, а расстояние между стеллажными полками в 2,5 раза но сравнению с размерами, необходимыми для работы погрузчиков и электроштабелеров. Процессы размещения и отбора товаров мостовыми кранами-штабелерами можно осуществлять с помощью ЭВМ, что повышает производительность крана, позволяет сократить количество обслуживающего персонала.
Характеристики
Тип файла документ
Документы такого типа открываются такими программами, как Microsoft Office Word на компьютерах Windows, Apple Pages на компьютерах Mac, Open Office - бесплатная альтернатива на различных платформах, в том числе Linux. Наиболее простым и современным решением будут Google документы, так как открываются онлайн без скачивания прямо в браузере на любой платформе. Существуют российские качественные аналоги, например от Яндекса.
Будьте внимательны на мобильных устройствах, так как там используются упрощённый функционал даже в официальном приложении от Microsoft, поэтому для просмотра скачивайте PDF-версию. А если нужно редактировать файл, то используйте оригинальный файл.
Файлы такого типа обычно разбиты на страницы, а текст может быть форматированным (жирный, курсив, выбор шрифта, таблицы и т.п.), а также в него можно добавлять изображения. Формат идеально подходит для рефератов, докладов и РПЗ курсовых проектов, которые необходимо распечатать. Кстати перед печатью также сохраняйте файл в PDF, так как принтер может начудить со шрифтами.















