147130 (580151)
Текст из файла
КОНТРОЛЬНАЯ РАБОТА
На тему: "Кривошипно-шатунный механизм "
Выполнил:
ПОЛТАВА
СОДЕРЖАНИЕ
КРИВОШИПНО-ШАТУННЫЙ МЕХАНИЗМ 3
БЛОК ЦИЛИНДРОВ 3
ГОЛОВКА БЛОКА 6
ПОРШНЕВАЯ ГРУППА 8
ШАТУНЫ 15
КОЛЕНЧАТЫЙ ВАЛ И МАХОВИК 18
КАРТЕР ДВИГАТЕЛЯ 24
КРЕПЛЕНИЕ ДВИГАТЕЛЯ НА РАМЕ 25
КРИВОШИПНО-ШАТУННЫЙ МЕХАНИЗМ
Кривошипно-шатунный механизм преобразует прямолинейное возвратно-поступательное движение поршней, воспринимающих силу давления газов, во вращательное движение коленчатого вала. Детали кривошипно-шатунного механизма можно разделить на две группы: подвижные и неподвижные,
К первым относятся поршень с кольцами и поршневым пальцем, шатун, коленчатый вал и маховик, ко вторым - блок цилиндров, головка блока, прокладка головки блока и поддон (картер), В обе группы входят также и крепежные детали.
БЛОК ЦИЛИНДРОВ
Блок цилиндров или блок-картер является остовом двигателя. На нем и внутри него располагаются основные механизмы и детали систем двигателя. Блок 1 цилиндров (рис.1) может быть отлит из серого чугуна (двигатели автомобилей ЗИЛ-130, МАЗ-5335, КамАЗ-5320) или из алюминиевого сплава (двигатели автомобилей ГАЗ-24 "Волга", ГАЗ-53А и др.). Горизонтальная перегородка делит блок цилиндров на верхнюю и нижнюю части, В верхній плоскости блока и в горизонтальной перегородке расточены отверстия для установки гильз цилиндров. В цилиндре, являющемся направляющей при движении поршня, совершается рабочий цикл двигателя. Гильзы могут быть мокрыми или сухими. Гильзу цилиндра называют мокрой, если она омывается жидкостью системы охлаждения, и сухой, если непосредственно не соприкасается с охлаждающей жидкостью.
Рис.1. Блок цилиндров и головка блока V-образного двигателя:
1 - блок цилиндров; 2 - прокладка головки блока; 3 - камера сгорания; 4 - головка блока; 5 - гильза цилиндра; 6 - уплотнительное кольцо; 7 - шпильки
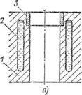
Цилиндры могут быть отлиты из серого чугуна вместе со стенками водяной рубашки 2 (рис.2, а) в виде одного блока 1 или в виде отдельных гильз 4, 5 и 6 (рис.2, б, в и г), устанавливаемых в блок. Двигатели, имеющие цилиндры, изготовленные в виде сменных мокрых гильз, проще ремонтировать и эксплуатировать (двигатели автомобилей ГАЗ-24 "Волга", ГАЗ-53А, ЗИЛ-130, МАЗ-5335, КамАЗ-5320 и др.).
Внутренняя поверхность цилиндра, внутри которой перемещается поршень, называется зеркалом цилиндра. Ее тщательно обрабатывают для уменьшения трения при движении в цилиндре поршня с кольцами я часто закаливают для повышения износостойкости и долговечности. Гильзы в блок цилиндров устанавливают так, чтобы охлаждающая жидкость не проникала в них и в поддон, а газы не прорывались из цилиндра. Необходимо предусмотреть и возможность изменения длины гильз в зависимости от температуры двигателя. В целях фиксации вертикального расположения гильз они имеют специальный бурт для упора в блок цилиндров и установочные пояса.
Рис.2. Схемы цилиндров двигателей:
а - без гильз, но с короткой вставкой (автомобилей ЗИЛ-157К, ГАЗ-52-04); б и б"с "мокрой" гильзой (дизели ЯМЗ-236 и автомобиля КамАЗ-5320); г - с "мокрой" гильзой, в которую запрессована коротка я вставка (на автомобилях ГАЗ-24 "Волга", ГАЗ-53А, ЗИЛ-130 и др.); 1 - блок цилиндров 2 - водяная рубашка; 3 - вставка; 4, 5 и 6 - гильзы цилиндров; 7 - уплотнительные кольца (резиновые или медные, устанавливаемые под бурт)
Мокрые гильзы в нижней части уплотняют резиновыми кольцами, размещаемыми в канавках блока цилиндров (двигатели автомобиля КамАЗ-5320), в канавках гильз (двигатели автомобилей МАЗ-5335, ЗИЛ-130 и др.), или медными кольцевыми прокладками, устанавливаемыми между блоком и опорной поверхностью нижнего пояса гильзы (двигатели автомобилей ГАЗ-24 "Волга", ГАЗ-53А и др.) - Верхний торец гильзы выступает над плоскостью блока цилиндров на 0,02-0,16 мм, что способствует лучшему обжатию прокладки головки блока и надежному уплотнению гильзы, блока и головки блока.
Во время работы двигателя в верхней части цилиндров сгорает рабочая смесь. Горение сопровождается выделением продуктов окисления, которые вызывают коррозию цилиндров. Для повышения износостойкости цилиндров в некоторых двигателях применяют вставки 3 из антикоррозионного чугуна. Их запрессовывают в блок цилиндров (двигатели автомобилей ЗИЛ-130К, ГАЗ-52-04) или в гильзы цилиндров (двигатели автомобилей ГАЗ-24 "Волга", ГАЗ-53А, ЗИЛ-130 и др.). Это усложняет технологию изготовления двигателя. В перспективе конструкторы предполагают использовать специальные металлы, что позволит отказаться от применения вставок в цилиндрах.
Поперечные вертикальные перегородки внутри блока цилиндров совместно с передней и задней стенками обеспечивают его необходимую прочность и жесткость. В этих перегородках, а также в передней и задней стенках блока расточены гнезда под верхние половины коренных подшипников коленчатого вала. Нижние половины коренных подшипников помещены в крышках, прикрепленных к блоку на шпильках или болтами.
В V-образных двигателях один из рядов блока цилиндров несколько смещен относительно другого, что вызвано расположением на шатунной шейке коленчатого вала двух шатунов: одного для правого, а другого - для левого блоков. Так, в V-образных двигателях автомобилей ГАЗ-53А левый блок цилиндров смещен вперед (по ходу автомобиля) на 24 мм, а автомобилей ЗИЛ-130 - на 29 мм относительно правого блока. Нумерация цилиндров указана вначале для правого блока цилиндров (по ходу автомобиля), а затем для левого; ближайший к вентилятору цилиндр имеет номер один и т.д.
ГОЛОВКА БЛОКА
Головка является крышкой, закрывающей цилиндры; V-образные двигатели имеют отдельные головки блока для каждого ряда цилиндров (двигатели автомобилей ГАЗ-53А и ЗИЛ-130); V-образный дизель автомобиля КамАЗ-5320 имеет отдельную головку на каждый цилиндр. Для карбюраторных двигателей и дизеля автомобиля КамАЗ-5320 головки блока отливают из алюминиевого сплава, а для дизеля ЯМЗ-236 - из легированного чугуна. Верхнюю плоскость блока цилиндров и нижнюю плоскость головки блока тщательно обрабатывают для получения плотного соединения. Между этими плоскостями устанавливают сталеасбестовую уплотняющую прокладку, предотвращающую прорыв газов наружу и исключающую проникновение охлаждающей жидкости в цилиндры. Перед установкой прокладки на двигатель обе ее стороны натирают графитом, предохраняющим ее от пригорания к блоку или головке. Гайки и болты крепления головки блока к блоку цилиндров затягивают равномерно в определенной последовательности.
Рис.3. Формы камер сгорания:
а - карбюраторных двигателей; б - дизелей; / - цилиндрическая; // - полусферическая; // / - клиновая; IV - смещенная (Г-образная); V и VI-неразделенные; VII и VIIІ - разделенные; 1 - клапан; 2 - свеча зажигания; 3 - насос-форсунка; 4 - камера сгорания; 5 - форсунка; 6 - предкамера; 7 - основная камера; 8 - вихревая камера
Головка блока цилиндров двигателей с нижним расположением клапанов проще по устройству, так как в ней размещены только камеры сгорания, водяные рубашки, отверстия для ввертывания свечей зажигания и крепления головки к блоку цилиндров. Каналы для подвода горючей смеси и выпуска отработавших газов находятся в блоке цилиндров.
Головки блока цилиндров двигателей с верхним расположением клапанов имеют более сложную конструкцию. В них размещены вставные седла, свечи зажигания или форсунки, направляющие втулки, клапаны, коромысла, оси и другие детали. Кроме того, в головках блока имеются водяные рубашки, отверстия для прохода штанг, масла и каналы, по которым к цилиндрам поступает горючая смесь или воздух и отводятся отработавшие газы.
Форма камеры сгорания оказывает значительное влияние на смесеобразование, сгорание рабочей смеси и на степень сжатия двигателя. Камеры сгорания с верхним расположением клапанов более компактны и обеспечивают лучшее наполнение цилиндров горючей смесью при том же диаметре впускного клапана, чем камеры сгорания с нижним расположением клапанов. Полусферические и клиновые камеры (соответственно схемы // и // /, рис.3) получили распространение у карбюраторных двигателей. При нижнем расположении клапанов чаще применяют Г-образные (смещенные) камеры сгорания (схема IV).
Для улучшения смесеобразования в дизелях применяют различные по форме и объему камеры сгорания. Дизели выпускают с неразделенными (схемы V и VI) и с разделенными (схемы VII и VIII) камерами сгорания. Первые двигатели иначе называют дизелями с непосредственным впрыском топлива. Неразделенная камера сгорания 4 представляет собой пространство, заключенное между днищем поршня, когда он находится в в. м. т., и нижней плоскостью головки блока (один объем). Разделенные камеры сгорания (два объема) состоят из основной камеры 7 и вспомогательной (предкамеры 6 или вихревой 8), соединенных между собой каналом.
ПОРШНЕВАЯ ГРУППА
Поршень. Давление газов во время рабочего хода воспринимает поршень и передает его через палец и шатун коленчатому валу. В цилиндре поршень, движется неравномерно; в крайних положениях (в в. м. т. и в н. м. т) его скорость равна нулю, а около середины хода она достигает максимального значения. В результате этого возникают большие силы инерции, на величину которых влияет масса поршня и угловая скорость коленчатого вала. Кроме механических нагрузок, поршень подвергается действию высоких температур в период сгорания топлива и расширения образовавшихся газов. Он нагревается также вследствие трения его боковой поверхности о стенки цилиндра.
На автомобильных двигателях чаще устанавливают поршни, изготовленные из алюминиевого сплава, так как они достаточно прочные, легкие, имеют высокую теплопроводность и хорошие антифрикционные свойства. Для повышения прочности, надежности и сохранения постоянства размеров и формы поршни из алюминиевого сплава подвергают термической обработке - старению.
Поршень состоит из трех основных частей (рис.4, а): днища 6, головки 7 и юбки 8. На внешней поверхности головки поршня и юбке проточены канавки для установки компрессионных колец 4 и маслосъемных колец 3. Верхнюю часть поршня называют уплотнительным поясом, так как размещенные здесь поршневые кольца предотвращают прорыв газов через зазоры между поршнем и цилиндром. Число колец, устанавливаемых на поршне, зависит от типа двигателя и частоты вращения коленчатого вала. По окружности канавок, в которых размещены маслосъемные кольца, просверлены сквозные отверстия для отвода масла в картер двигателя. Юбка 8 является направляющей поршня при движении его в цилиндре и передает боковую силу от шатуна стенкам цилиндра. На внутренней стороне юбки имеется два массивных прилива, называемых бобышками. Они соединяются ребрами с днищем, увеличивая прочность поршня. В бобышках сделаны отверстия для установки пальца 2 и проточены кольцевые канавки для стопорных колец 1. В карбюраторных двигателях применяют поршни с плоским днищем, получившие широкое распространение из-за простоты изготовления и меньшего нагрева при работе (рис.4, б и в).
Для увеличения прочности и улучшения отвода тепла днище поршня дизеля изготовляют массивным и усиливают ребрами с внутренней стороны. Обычно поршни дизелей имеют фигурные днища 6. Это улучшает процесс смесеобразования и позволяет придать камере сгорания 5 необходимую форму (рис.4, а).
При нагреве поршень расширяется больше, чем цилиндр, охлаждаемый жидкостью, поэтому возникает опасность заклинивания поршня. Чтобы избежать этого и обеспечить нормальную работу двигателя, диаметр поршня должен быть меньше диаметра цилиндра, т.е. между поршнем и цилиндром необходим диаметральный зазор. Применяют поршни, у которых диаметр юбки больше диаметра головки т.е. поршень имеет форму усеченного конуса. Юбку делают разрезной, что повышает упругость (устраняет опасность заклинивания), придают ей овальную форму (большая ось овала должна быть перпендикулярна оси поршневого пальца) и т.д.
Поршни (рис.4, б и в) имеют разрезную юбку овального сечения (двигатели автомобилей ГАЗ-24 "Волга", ГАЗ-53А и др.). Во время работы двигателя поршень нагревается и юбка несколько деформируется в направлении оси поршневого пальца. Форма юбки приближается к цилиндрической, и зазор между поршнем и цилиндром становится минимальным. Вырезы на юбке уменьшают массу поршня. Поршни двигателя автомобиля ЗИЛ-130 имеют поперечные прорези под головкой; на юбке поршня выполнен Т-образный разрез. Иногда применяют поршни с усиленной юбкой - без вертикального разреза.
Характеристики
Тип файла документ
Документы такого типа открываются такими программами, как Microsoft Office Word на компьютерах Windows, Apple Pages на компьютерах Mac, Open Office - бесплатная альтернатива на различных платформах, в том числе Linux. Наиболее простым и современным решением будут Google документы, так как открываются онлайн без скачивания прямо в браузере на любой платформе. Существуют российские качественные аналоги, например от Яндекса.
Будьте внимательны на мобильных устройствах, так как там используются упрощённый функционал даже в официальном приложении от Microsoft, поэтому для просмотра скачивайте PDF-версию. А если нужно редактировать файл, то используйте оригинальный файл.
Файлы такого типа обычно разбиты на страницы, а текст может быть форматированным (жирный, курсив, выбор шрифта, таблицы и т.п.), а также в него можно добавлять изображения. Формат идеально подходит для рефератов, докладов и РПЗ курсовых проектов, которые необходимо распечатать. Кстати перед печатью также сохраняйте файл в PDF, так как принтер может начудить со шрифтами.
















