147130 (580151), страница 2
Текст из файла (страница 2)
Если на юбках поршней имеются разрезы, то их устанавливают в двигателе так, чтобы боковое давление при рабочем ходе испытывала та часть поршня, где нет разреза. При переходе поршня через в. м. т. он перемещается от одной стенки цилиндра к другой, что сопровождается стуками.
Рис.4. Шатунно-поршневая группа:
а - дизелей ЯМЗ; б и в - двигателей автомобилей ГАЗ-53А, где даны поршни в сборе с шатуном, устанавливаемые соответственно в первый, второй, третий и четвертый цилиндры левого блока и в пятый, шестой, седьмой к восьмой цилиндры правого блока; 1 - стопорное кольцо; 2 - поршневой палец; 3 - маслосъемные кольца; 4 - компрессионные кольца; 5 - камера сгорания в днище поршня; 6 - днище поршня; 7 - головка поршня; 8 - юбка; 9 - поршень; 10 - распылитель масла (форсунка); 11 - шатун; 12 - вкладыши; 13 - замковая шайба; 14 - длинный болт; 15 - короткий болт; 16 - крышка шатуна; 17 - втулка в головке шатуна; 18 - надпись на поршне; 19 - номер на шатуне; 20 - метка на крышке шатуна; 21 - шатунный болт.
Чтобы устранить эти стуки, ось отверстия под палец смещают в сторону (на 1,5 - 2,0 мм) максимального бокового давления. Для улучшения приработки поршней к цилиндрам и устранения возможных задиров поршни покрывают тонким слоем олова. Юбки поршней дизелей ЯМЗ и автомобилей КамАЗ-5320 не имеют разреза, но они также выполнены в виде конуса овального сечения. Диаметр поршней дизелей ЯМЗ-236 и ЯМЗ-238 равен 130 мм, дизеля автомобиля КамАЗ-5320 равен 120 мм и двигателя автомобиля ЗИЛ-130 равен 100 мм. Для правильной установки в цилиндры и точного соединения с шатунами на поршнях и шатунах есть соответствующие метки (рис.4, бив).
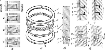
Поршневые кольца. Надеваемые на поршень поршневые кольца создают плотное, подвижное соединение между поршнем и цилиндром. Кольца бывают компрессионные и маслосъемные; первые обеспечивают необходимую компрессию (сжатие) благодаря уменьшению количества газов, прорывающихся из камеры сгорания в картер, и отводят тепло от головки поршня к стенкам цилиндра; вторые - препятствуют проникновению масла из картера в камеру сгорания.
Кольца изготовляют из специального легированного чугуна или стали. Разрез кольца, называемый замком, может быть прямой, косой или ступенчатый. Получили распространение кольца с прямым замком, как наиболее простым и дешевым в изготовлении.
Рис.5. Поршневые кольца:
а - поперечные сечения компрессионных колец и их положения в рабочем состоянии; б ~ составное маслосъемное кольцо; в - головка поршня двигателя автомобиля ЗИЛ-130 с поршневыми кольцами; г - схема насосного действия компрессионных колец; д - схема работы маслосъемных колец; / - кольцо прямоугольного сечения; // - кольцо с конической наружной поверхностью; // / - кольцо с фаской на внутренней стороне; IV - кольцо с выточкой на внутренней стороне; / - дискообразные кольца; 2 - осевой расширитель; 3 - радиальный расширитель; 4 - замок кольца; 5 - компрессионные кольца; 6 - поршень; 7 - отверстие в канавке маслосъемного кольца; 8 - цилиндр; 9 - маслосъемное кольцо; 10 - прорези в кольце; 11 - отверстие в поршне; сплошными стрелками показано направление движения поршня, а штриховыми - масла
В свободном состоянии диаметр поршневого кольца больше внутреннего диаметра цилиндра. Поэтому кольцо, поставленное в канавку поршня и введенное в сжатом состоянии в цилиндр, разжимаясь, плотно прилегает к внутренней поверхности цилиндра. Зазор в замке кольца позволяет ему расширяться при нагревании.
Различные поперечные сечения компрессионных колец приведены на рис.28, а. Кольцо с конической наружной поверхностью (схема // ) соприкасается с цилиндром не всей боковой поверхностью, а лишь небольшой кромкой и оказывает на стенки цилиндра значительное давление. Такое кольцо скорее прирабатывается к цилиндру, лучше уплотняет соединение поршень - цилиндр. Особенностью колец с фаской (схема // /) или выточкой (схема IV) является то обстоятельство, что надетые на поршень и введенные в цилиндр они скручиваются к центру. Такие кольца прилегают к зеркалу цилиндра острой кромкой и работают так же, как и конические, но обеспечивают большую герметичность подвижного соединения в результате лучшего контакта с торцовыми поверхностями поршневой канавки. Поршневые кольца с фасками и выточками ставят на поршень так, чтобы фаски или выточки были направлены вверх, в сторону головки блока.
Первое компрессионное кольцо работает в условиях высокой температура, больших давлений и изнашивается быстрее других. Для повышения износостойкости первого компрессионного кольца его наружную цилиндрическую поверхность подвергают пористому хромированию. Собирающееся в порах хрома масло несколько улучшает условия работы кольца. Со временем заводы предполагают отказаться от хромирования колец и перейти к напыливанию их наружной поверхности молибденом. При хромировании верхнего кольца увеличивается долговечность остальных поршневых колец" которые покрывают слоем олова для лучшей приработки их к цилиндрам. Два верхних (двигатель автомобиля ЗИЛ-130) компрессионных кольца хромированы. Первое компрессионное кольцо дизеля автомобиля КамАЗ-5320 хромировано и установлено в чугунное кольцо, залитое в поршень из алюминиевого сплава, а второе покрыто слоем молибдена.
Проникновение масла в камеру сгорания очень нежелательно, так как приводит к интенсивному нагарообразованию и ухудшению работы двигателя. Масло в камеру сгорания может проникать в результате разности давлений в картере и цилиндре при такте впуска и вследствие насосного действия поршневых колец. При движении поршня вниз кольца прижимаются к верхним кромкам канавок и масло заполняет зазор между нижними торцами колец и канавками. Когда поршень движется вверх, кольца прижимаются к нижним кромкам канавок и масло выдавливается вверх.
Маслосъемные кольца (обычно не более двух) устанавливают на поршне ниже компрессионных колец, по конструкции они отличаются от компрессионных колец тем, что на их наружной поверхности имеются кольцевые канавки и сквозные прорези или отверстия для прохода масла. На поршнях применяют и составные маслосъемные кольца (ГАЗ-24 "Волга", ГАЗ-53А, ЗИЛ-130 и др.). Такое кольцо состоит из двух плоских стальных дискообразных колец / и двух расширителей: осевого 2, разжимающего кольца, и радиального 3, прижимающего дискообразные кольца к зеркалу цилиндра. Составное кольцо оказывает большое давление на стенки цилиндра и лучше очищает его от излишков масла. Устанавливая на поршень поршневые кольца, необходимо следить за тем, чтобы замки соседних колец были смещены на некоторый угол (90-180°) один относительно другого, а не расположены на одной прямой.
Поршневые пальцы. Поршень с верхней головкой шатуна соединяет поршневой палец. Он должен быть прочным, легким и износостойким, так как во время работы подвергается трению и большим механическим нагрузкам, переменным по величине и направлению. Пальцы изготовляют из высококачественной стали в виде пустотелых трубок. Для повышения надежности наружную поверхность пальца цементируют или закаливают, а затем шлифуют и полируют. В бобышках поршня палец укреплен стопорными кольцами, удерживающими его от осевого смещения. Такой палец называют плавающим, так как он при работе двигателя может повертываться в верхней головке шатуна и бобышках поршня. Плавающие поршневые пальцы 2 (см. рис.5) равномернее изнашиваются и поэтому долговечнее.
У работающего двигателя поршень из алюминиевого сплава расширяется больше, чем стальной палец, поэтому возможен его стук в бобышках поршня. Для устранения этого явления поршень перед сборкой с шатуном нагревают до 70-80° С, а затем в поршень и шатун вставляют палец. Когда поршень остынет, палец в бобышках окажется закрепленным неподвижно, а верхняя головка шатуна будет иметь угловое смещение относительно неподвижного пальца. При работе двигателя поршень нагревается и палец получает возможность повертываться вокруг своей оси. Применяют пальцы, запрессованные в верхние головки шатунов (двигатели автомобилей "Жигули"), Такие пальцы могут повертываться только в бобышках поршня.
ШАТУНЫ
Поршень с коленчатым валом соединяет шатун. Он превращает возвратно-поступательное движение поршня во вращательное движение коленчатого вала. Основными частями шатуна (Рис.6) являются верхняя головка 7 с запрессованной в нее бронзовой втулкой 5, стержень и нижняя головка 9 с крышкой 10. Шатун испытывает большие нагрузки, меняющиеся по величине и направлению. Он подвергается сжатию, изгибу и растяжению. Чтобы выдержать такие нагрузки, шатун должен быть прочным, жестким и легким для уменьшения сил инерции. Шатун штампуют из стали и подвергают термообработке (закалке и отпуску); его стержень имеет двутавровое сечение для увеличения прочности.
Шатун совершает сложное движение: верхняя головка вместе с поршнем движется возвратно-поступательно, повертываясь на некоторый угол относительно пальца или вместе с пальцем относительно бобышек поршня; нижняя головка вращается вместе с шатунной шейкой коленчатого вала; стержень шатуна совершает колебательное движение. В большинстве случаев нижнюю головку делают разъемной в плоскости перпендикулярной оси шатуна. Иногда плоскость разъема располагают под углом к оси шатуна (дизель ЯМЗ-236, см. рис.27, а). Необходимость в разъеме нижней головки шатуна под углом возникает тогда, когда шатунные шейки коленчатого вала имеют большой диаметр.
Рис.6. Шатун и шатунные вкладыши:
а - шатун двигателя автомобиля ГАЗ-53А; б - шатунные вкладыши; 1 - гайка; 2 - болт; 3 и 14 - отверстия для масла; 4 - стержень шатуна; 5 - бронзовая втулка; 6 - отверстие для подачи масла к поршневому пальцу; 7 - верхняя головка шатуна; 8 - номер шатуна; 9 - нижняя головка шатуна; 10 - крышка нижней головки шатуна; 11 - стопорная шайба; 12 - метка; 13 - усик; 15 - верхний вкладыш; 16 - нижний вкладыш
В этом случае нижняя головка шатуна получается значительных размеров, что затрудняет или делает невозможным монтаж и демонтаж поршня вместе с шатуном через цилиндр.
Крышку 10 (Рис.6) нижней головки шатуна крепят к нему двумя болтами, изготовленными из высококачественной стали. Гайки болтов шатуна затягивают динамометрическим ключом и тщательно шплинтуют или стопорят специальными стопорными шайбами. Нижнюю головку шатуна и крышку растачивают вместе для получения отверстия правильной цилиндрической формы. Поэтому крышку нельзя перевертывать или переставлять на другие шатуны. На шатунах и крышках с одной стороны ставят необходимые для этого метки 12. В нижние головки шатунов устанавливают подшипники скольжения, состоящие из двух вкладышей - верхнего 15 и нижнего 16. Взаимозаменяемые тонкостенные вкладыши изготовлены из стальной ленты (толщиной 1,3-1,8 мм для карбюраторных двигателей и 2-3,6 мм для дизелей), залитой антифрикционным сплавом (толщина слоя соответственно 0,25-0,40 мм и 0,3-0,7 мм) на алюминиевой основе с 25-30% олова. Применение сталеалюминевых вкладышей с тонким антифрикционным слоем обеспечивает надежную работу подшипника при малом зазоре между шейкой вала и вкладышами. На дизеле автомобиля КамАЗ-5320 применяют трехслойные взаимозаменяемые шатунные вкладыши, залитые тонким слоем свинцовистой бронзы.
От осевого смещения и провертывания шатунные подшипники удерживаются в своих гнездах усиками 13, входящими в пазы, которые расположены на одной стороне шатуна. Обычно нижнюю головку шатуна делают симметричной относительно оси стержня. Нижняя головка шатуна (двигателя автомобиля ГАЗ-53А) несколько несимметрична относительно оси стержня, что сделано для обеспечения упора двух шатунов в галтели шатунной шейки
коленчатого вала. Нагрузка на опорные поверхности шатунных подшипников распределяется равномерно, так как они расположены симметрично относительно оси стержня. На нижней головке шатуна есть небольшое отверстие 3 (двигатели автомобилей ГАЗ-24 "Волга", ГАЗ-53А, ЗИЛ-130) для подачи масла на стенки цилиндра или на распределительный вал.
КОЛЕНЧАТЫЙ ВАЛ И МАХОВИК
Силы от шатуне соединенных с поршнями, воспринимает коленчатый вал, который испытывает большие нагрузки и подвергается скручиванию, изгибу и истиранию. Крутящий момент, развиваемый на коленчатом валу, передается на трансмиссию автомобиля, а также используется для привода в действие различных механизмов и деталей двигателя.
Коленчатый вал (рис.7, а) имеет следующие части: коренные 7 и шатунные 3 шейки, щеки 8, противовесы 4, передний конец 1 и задний конец (хвостовик) с маслоотражателем 5, маслосгонной резьбой и фланцем 6 для крепления маховика. Шатунные шейки служат для соединения коленчатого вала с шатунами. Коренные шейки вала входят в подшипники, установленные в блоке цилиндров. Щеки соединяют коренные и шатунные шейки вала, образуя колена или кривошипы. Противовесы, расположенные на коленчатом валу, разгружают коренные подшипники от сил инерции и создаваемых ими моментов.
Форма коленчатого вала зависит от числа и расположения цилиндров, порядка работы и тактности двигателя. Коленчатый вал изготовляют горячей штамповкой из легированной стали (двигатели автомобилей ЗИЛ-130, МАЗ-5335, КамАЗ-5320 и др.) или отливают из высокопрочного чугуна (двигатели автомобилей
Рис.7. Коленчатые валы:
а - двигателя автомобиля ЗИЛ-130; б - дизеля ЯМЗ-236; в - дизеля автомобиля КамАЗ-5320; А - величина перекрытия шеек; 1 - передний конец вала; 2 - грязеуловительная полость в шатунной шейке; 3 - шатунная шейка; 4 - противовесы; 5 и 15 - маслоотражатели; 6 - фланец для крепления маховика; 7 - коренная шейка; 8 - щека; 9 - гайка; 10 - передние съемные противовесы; 11 - распределительная шестерня; 12 - шестерня привода масляного насоса; 13 - винт; 14 - съемный противовес; 16 - установочные штифты; 17 – шпонка.
ГАЗ-24 "Волга", ГАЗ-53А, "Жигули" и др.) вместе с противовесами или без них. Шатунные шейки коленчатого вала располагают так, чтобы одноименные такты (например, такты расширения) в разных цилиндрах двигателя происходили через равные промежутки (по углу поворота), а силы инерции, возникающие в цилиндрах, взаимно уравновешивались. Если расположение колен коленчатого вала не обеспечивает взаимного уравновешивания сил инерции и создаваемых ими моментов, то на таких коленчатых валах устанавливают противовесы или оборудуют двигатели специальными уравновешивающими механизмами.
Для повышения износостойкости и долговечности шатунных и коренных шеек их закаливают токами высокой частоты (т. в. ч), после чего шлифуют и полируют. Переход от шеек к щекам, называемый галтелью, делают плавным, чтобы избежать концентрации напряжений и возможных поломок коленчатого вала. Для повышения жесткости и надежности коленчатых валов применяют перекрытие шеек, характеризуемое величиной А (рис.7, б). Размеры шеек коленчатых валов следующие: у двигателя автомобиля ГАЗ-53А диаметр шатунной шейки равен 60 мм, а коренной 70 мм; у двигателя автомобиля КамАЗ-5320 диаметр шатунной шейки равен 80 мм, а коренной 95 мм.
Коленчатый вал дизеля ЯМЗ-236 (рис.7, б) имеет три шатунные шейки 3, расположенные под углом 120°, и четыре коренные шейки 7. На коленчатом валу установлено семь противовесов, а восьмой отлит в виде прилива вместе с маховиком. Установка на коленчатом валу, кроме основных противовесов, двух выносных улучшает уравновешивание моментов сил инерции, возникающих при работе двигателя, так как чередование одноименных тактов при порядке работы 1-4-2-5-3-6 происходит неравномерно. Коленчатые валы дизелей ЯМЗ-236 и дизелей автомобилей КамАЗ не имеют фланцев для крепления маховиков. Коленчатые валы большинства двигателей имеют грязеуловительные полости 2 в шатунных шейках для дополнительной центробежной очистки масла.
















