147130 (580151), страница 3
Текст из файла (страница 3)
В качестве коренных подшипников для коленчатого вала применяют тонкостенные вкладыши, изготовленные из сталеалюминевой ленты. У коренных вкладышей толщина стенки весьма мала (1,9-2,8 мм для карбюраторных двигателей и 3-6 мм для дизелей), поэтому после их установки на место форма внутреннего отверстия подшипника зависит только от точности расточки гнезда. На карбюраторных двигателях (автомобилей ГАЗ-24 "Волга", ГАЗ-53А и ЗИЛ-130) не применяют коренные трехслойные вкладыши (стальная лента, медно-никелевый подслой и слой антифрикционного сплава) из-за низкого предела выносливости применявшегося антифрикционного слоя. Здесь используют только двухслойные вкладыши, хорошо/ работающие в двигателях с большой угловой скоростью коленчатого вала и значительными нагрузками.
Широкое использование высокооловянистых сталеалюминевых вкладышей вызвано тем, что они обладают повышенной усталостной прочностью, хорошими противозадирными свойствами и коррозионной стойкостью, что повышает надежность двигателя. Вкладыши коренных подшипников дизеля автомобиля КамАЗ-5320 трехслойные, с рабочим слоем из свинцовистой бронзы. Вкладыши коренных подшипников дизеля ЯМЗ-236 и дизеля автомобиля КамАЗ-5320 невзаимозаменяемые, а двигателей автомобилей ГАЗ 24 "Волга" и ЗИЛ-130 соответственно взаимозаменяемы.
Вследствие работы сцепления и косозубых шестерен механизма газоpacпределения возникают силы, стремящиеся сдвинуть коленчатый вал вдоль оси. Поэтому один из коренных подшипников коленчатого вала делают упорным, воспринимающим осевые нагрузки и удерживающим вал от смещения. В двигателях автомобилей ГАЗ и ЗИЛ упорным является первый коренной подшипник.
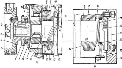
Коленчатый вал 6 (рис.8, а) удерживается от осевого смещения двумя стальными неподвижными шайбами 11 и 10, установленными с обеих сторон первого коренного подшипника. Переднюю шайбу 11 удерживают от вращения штифты 8 и 15, один из которых запрессован в блок 9 цилиндров, а другой в крышку 14 коренного подшипника. Задняя шайба 10 имеет прямоугольный выступ, входящий в паз крышки. Плоскостью, залитой баббитом, шайба 10 обращена к шлифованному пояску щеки коленчатого вала, а шайба - к упорной стальной шайбе 16, установленной на шпонке 12 между торцом передней коренной шейки коленчатого вала и распределительной шестерней 17.
Рис.8. Уплотнение коленчатого вала:
а - упорный подшипник и уплотнение переднего конца вала; б - уплотнение заднего конца вала; 1 - самоподжимной сальник; 2 - пылеотражатель; 3 - шкив привода водяного насоса, вентилятора и генератора; 4 - ступица; 5 - храповик; б - коленчатый вал; 7 - крышка распределительных шестерен; 8 и 15 - штифты; 9 - блок цилиндров; 10 - задняя неподвижная шайба; 11 - передняя неподвижная шайба; 12 - шпонка; 13 - вкладыш; 14 - крышка коренного подшипника; 16 - упорная вращающаяся шайба; 17 - распределительная шестерня; 18 - маслоотражатель; 19 - маслоотражательный гребень; 20 - болт крепления маховика; 21 - маслосгонная накатка; 22 - шарикоподшипник вала сцепления; 23 - фланец; 24 - сальник; 25 - держатель сальника; 26 - маховик
На переднем конце коленчатого вала кроме шестерни 17 расположены маслоотражатель 18, ступица 4 шкива 3 привода водяного насоса, вентилятора и генератора. В торец коленчатого вала ввернут храповик 5, служащий для пуска двигателя при помощи пусковой рукоятки и удерживающий от смещения детали, установленные на конце вала. Передний конец коленчатого вала уплотнен самоподжимным резиновым сальником 1, расположенным в крышке 7 распределительных шестерен, и маслоотражателем 18. Масло не может попасть на сальник, так как он защищен специальным корпусом с отогнутыми краями. На ступицу шкива напрессован пылеотражатель 2, защищающий сальник от пыли и песка.
Уплотнение заднего конца коленчатого вала 6 (рис.8, б) состоит из сальника 24 маслосгонной накатки 21 и маслоотражательного гребня 19.
Сальник 24 представляет собой асбестовый шнур, пропитанный антифрикционным составом и покрытый графитом. Сальник состоит из двух половин" помещенных в канавки блока 9 цилиндров и в держатель 25 сальника, привернутый к блоку. В задний торец коленчатого вала запрессован шарикоподшипник 22 вала сцепления. Фланец 23, отштампованный как одно целое с коленчатым валом, служит для крепления маховика 26 болтами 20 - изготовленными из высококачественной стали. Передние и задние концы коленчатых валов дизелей и двигателей автомобилей "Жигули", "Москвич" тщательно уплотняют самоподжимными сальниками и маслоотражателями.
От осевого смещения коленчатые валы дизеля ЯМЗ-236 и дизеля автомобиля КамАЗ-5320 удерживаются двумя парами упорных полуколец, изготовленных из бронзы (дизель ЯМЗ-236) или из сталеалюминия (дизель автомобиля КамАЗ-5320) и установленных в выточках задней коренной опоры. Верхние полукольца укреплены к торцам блока цилиндров, а нижние имеют выступы для фиксации их в крышке заднего коренного подшипника.
Маховик. Для накопления энергии в течение рабочего хода, вращения коленчатого вала во время вспомогательных тактов, уменьшения неравномерности вращения вала, сглаживания момента перехода деталей кривошипно-шатунного механизма через мертвые точки, облегчения пуска двигателя и трогания автомобиля с места служит маховик. При пуске двигателя в цилиндрах происходят вспышки рабочей смеси и маховик обеспечивает вращение коленчатого вала от конца рабочего хода в одном цилиндре до его начала в следующем цилиндре в соответствии с порядком работы двигателя.
Маховик отливают из серого чугуна; на ободе маховика для увеличения момента инерции располагают основную массу металла. На обод маховика напрессовывают или надевают зубчатый венец, необходимый для вращения коленчатого вала при пуске двигателя стартером. Венец крепят болтами. Поверхность маховика, соприкасающуюся с ведомым диском сцепления, шлифуют и полируют.
На ободе или торце маховика имеются метки, позволяющие установить поршень первого цилиндра в в. м. т. Коленчатый вал в сборе с маховиком и сцеплением подвергают динамической и статической балансировке, чтобы неуравновешенные силы инерции не вызывали вибрации двигателя и сильного износа коренных подшипников. Обычно маховик крепят к фланцу коленчатого вала болтами, которые подвергают термической обработке и шлифованию. Корончатые гайки, навернутые на эти болты, тщательно шплинтуют. Одно из крепежных отверстий на маховике и во фланце смещено по окружности на несколько градусов (2° у двигателей автомобиля ЗИЛ-130), что обеспечивает точное соединение маховика и коленчатого вала, если их почему-либо разбирали.
У дизеля ЯМЗ-236 и дизеля автомобиля КамАЗ-5320 маховик крепят болтами, которые ввертывают непосредственно в коленчатый вал. В этом случае маховик точно фиксируют относительно шеек коленчатого вала двумя шрифтами 16 (см. рис.30).
КАРТЕР ДВИГАТЕЛЯ
Картер состоит из двух частей - верхней и нижней, Верхнюю часть картера отливают как одно целое с блоком цилиндров. Здесь устанавливают коленчатый и распределительный валы, а также другие узлы и детали двигателя. Нижняя половина картера предохраняет от загрязнения детали кривошипно-шатунного и газораспределительного механизмов и, кроме того, используется как резервуар для масла. Поэтому нижнюю половину картера часто называют масляным картером, или поддоном, Он закрывает блок цилиндров снизу.
Рис.9. Масляный картер дизеля ЯМЗ-236:
1 - поддон; 2. - фланец поддона; 3 - прокладка; 4 - перегородки; 5 - медно-асбестовая прокладка; 6 - пробка сливного отверстия
Внутри поддона 1 (рис.9) устанавливают горизонтальные или вертикальные перегородки 4, которые задерживают движение масляных волн и защищают уплотнения картера от ударов масла. В поддоне есть сливное отверстие для масла, закрываемое пробкой 6.
Для плотного соединения между блоком цилиндров и фланцем 2 поддона ставят уплотнительную прокладку 3. Плоскость разъема блока цилиндров может проходить по оси коленчатого вала, но на большинстве двигателей ее смещают вниз, чтобы повысить жесткость верхней половины картера.
КРЕПЛЕНИЕ ДВИГАТЕЛЯ НА РАМЕ
Несмотря на хорошую уравновешенность современных автомобильных двигателей, во время их работы все же возникают вибрации, которые не должны передаваться на раму. Поэтому крепление (подвеска) двигателя должно быть таким, чтобы уменьшить передачу вибраций на раму автомобиля и предотвратить появление напряжений в блоке цилиндров при перекосах рамы вследствие движения автомобиля по неровной дороге. Двигатели крепят к рамам или полурамам в трех, четырех и пяти точках.
Двигатель автомобиля ГАЗ-24 "Волга" крепят в трех точках на резиновых подушках. Две опоры расположены в передней части блока цилиндров, по его сторонам, а одна опора сзади, под передней частью удлинителя коробки передач.
Двигатель автомобиля ЗИЛ-130 прикреплен к раме в трех точках: одна опора спереди и две сзади (лапы картера сцепления). Двигатель автомобиля ГАЗ-53А прикреплен к раме в четырех точках: две опоры спереди и две сзади (лапы картера маховика и сцепления). Дизель автомобиля КамАЗ-5320 крепят в пяти точках (рис.10): две опоры спереди установлены на блоке 1 цилиндров по его сторонам; две опоры сзади укреплены с обеих сторон картера 13 маховика; одна поддерживающая опора расположена на картере 22 коробки передач.
Передние опоры состоят из кронштейна 4, соединенного с блоком 1 цилиндров, а через резиновую подушку 7 и стяжку 6 - с кронштейном 5. Последний приклепан к стойке 9, а стойка - к лонжерону 10 рамы.
Задние опоры состоят из кронштейна 12 двигателя, укрепленного на картере 13 маховика, и кронштейна 11 задней опоры, приклепанного к лонжерону 10 рамы. Кронштейн 11 с крышкой 20 охватывают башмак 16, установленных между кронштейнами и соединенный болтом 15 с кронштейном 12. Башмак изготовлен из алюминиевого сплава и находится в резиновой подушке 14. Между крышкой 20 и кронштейном 11 помещены регулировочные прокладки 2L Стальная втулка 18, запрессованная в башмак, предохраняет его от смятия.
Поддерживающая опора состоит из кронштейна 23, укрепленного на картере 22 коробки передач. Полку кронштейна охватывает находящаяся в обойме 25 прямоугольная резиновая подушка 27, соединенная через накладку 26 с поперечиной 24. Последняя соединена с кронштейнами 28, приклепанными к лонжеронам рамы. Резиновые подушки, находящиеся под опорами, снижают ударные нагрузки на двигатель при движении
Рис.10. Крепление двигателя автомобиля КамАЗ-5320:
а - двигатель; б - передняя опора; в - задняя опора; г - поддерживающая опора; 1 - блок цилиндров; 2 - штифт; 3 - шпилька; 4, 8, 23 и 28 - кронштейны; 5, 15 и 16 - болты; б - стяжка; 7, 14 и 27 - резиновые, подушки; 9 - стойка; 10 - лонжерон рамы; 11 - кронштейн задней опоры; 12 - кронштейн двигателя; 13 - картер маховика; 15 - башмак; 17 - защитный колпак; 18 - втулка; 20 - крышка; 21 - регулировочная прокладка; 22 - картер коробки передач; 24 - поперечина; 25 - обойма подушки; 26 - накладка подушки автомобиля и уменьшают вибрацию рамы. Кроме того, опоры удерживают двигатель от продольного смещения при выключении сцепления, резком разгоне или торможении автомобиля. Для этих же целей двигатель автомобиля ЗИЛ-130 соединяют с передней поперечиной рамы реактивной тягой.















