145002 (580041)
Текст из файла
Размещено на http://www.allbest.ru/
Реферат
Современные СТП. Монтаж СТП. Требования, предъявляемые к установке СТП.
Монтаж СТП. Требования, предъявляемые к установке СТП
санитарный технический прибор бытовой гигиенический
Санитарно-технические приборы — приборы, устанавливаемые в санитарно-бытовых помещениях для осуществления гигиенических и хозяйственно-бытовых процедур. К ним относятся: мойки кухонные, ванны купальные, поддоны душевые, умывальники, унитазы, чаши туалетные, писсуары, бачки и краны смывные. Санитарно-технические приборы изготовляют из коррозионно-стойких, долговечных материалов: эмалированного чугуна и стали, нержавеющей стали, керамики, пластмассы, полимербетона, латуни с гальваническим защитно-декоративным покрытием и др. В общем случае приборы состоят из водоразборной арматуры, присоединяемой к системе холодного и горячего водопровода, чаши, водосливной арматуры (выпуск с сифоном и переливом), присоединяемой к канализационной сети, и элементов крепления. К водосливной арматуре обязательно предусматривают гидравлический затвор (водяная пробка) высотой 55—60 мм, предотвращающей проникновение канализационных газов в помещение, где установлены санитарно-технические приборы.
Жилые и общественные здания
Основные технические характеристики санитарных приборов следующие: размеры, объем (вместимость), акустические показатели (частота и уровень шума, возникающего в процессе эксплуатации прибора), монтажное положение и взаимное расположение отдельных элементов (выпусков и переливов, водопроводной арматуры), химическая и термическая стойкость внутренней поверхности прибора, долговечность, надежность в работе, механическая прочность и эстетичность внешнего вида.
Все приемники сточных вод должны иметь для качественной промывки гладкую, без шероховатости внутреннюю поверхность и закругленную форму, дно с уклоном к отверстию выпуска и соответствовать другим техническим требованиям (ГОСТам).
Рассмотрим кратко некоторые виды приемников сточных вод, особенности их установки и применения (рис. 16.1).
Унитазы изготовляют размерами 460X360X400 мм для взрослых и 405X290X330 мм для детей в соответствии с требованиями ГОСТ, главным образом из керамики (фаянса и фарфора) с глазурованной внутренней поверхностью двух типов: тарельчатые и воронкообразные (сифонирующие и выполаскивающие). Эти приемники сточных вод выпускают напольными для установки на полу и консольными — для крепления к стене. Выпускают унитазы с прямым и косым выпусками. При установке унитазов с прямыми выпусками в перекрытии выполняют отверстия для присоединения к отводному трубопроводу под полом помещений (общественных, производственных). В жилых и других зданиях с междуэтажными перекрытиями из сборного железобетона в санитарно-технических кабинах устанавливают унитазы с косыми выпусками, которые позволяют присоединить прибор непосредственно к канализационному стояку или к отводному трубопроводу, уложенному на том же перекрытии, где установлены унитазы. Унитазы устанавливают так, чтобы борт прибора был на высоте 0,4—0,45 м над полом, а унитазы малой модели (для детей) — на высоте 0,33 м.
Напольные унитазы крепят к доске (тафте), укрепленной к полу, или приклеивают к бетонному полу с помощью эпоксидного клея. Выпуски заделывают в раструбах отводов диаметром 100 мм, а к горловине (патруб- ку) на резиновой муфте присоединяют смывную трубу для высокорасположенного бачка, смывного крана или полочку для смывного патрубка низкорасполагаемого бачка.
Благодаря высоким санитарно-гигиеническим качествам наибольшее распространение в строительстве получили тарельчатые унитазы, соединенные с промывным устройством —низкорасполагаемым смывным бачком; они широко применяются в жилых и общественных зданиях и называются «Компакт»
Несомненный интерес представляют тарельчатого типа и сифонирующие консольные унитазы, подвешенные к стене на болтах. Задняя часть прибора имеет прилив (опору) с отверстиями для болтовых креплений к стене. Прибор занимает очень мало места, не загромождает пол, удобен в эксплуатации, особенно в общественных туалетах.
В строительстве применяют напольные клозетные чаши с подставками для ног. Напольные клозетные чаши выполняют разных размеров и конструкций: укрепляют в полу, оборудуют приставными гидрозатворами (сифонами) диаметром 100 мм. Вода для смыва загрязнений подается из смывных бачков повышенной вместимости — до 10 л. Для улучшения промывки чаши от загрязнений устанавливают в качестве промывного устройства смывные краны и автоматические смывные бачки. Однако эти приборы плохо смывают загрязнения и создают антисанитарную обстановку в помещениях санузлов, где они установлены.
Писсуары. В мужских туалетах устанавливают писсуары настенные, напольные (уриналы) и лотковые из фарфора, полуфарфора шириной 350—360 мм или фаянса. Настенные писсуары оборудованы приставным гидравлическим затвором (сифоном) и подводящими воду трубами диаметром 15 мм с водоразборным специальным краном вентильного типа. Настенные приборы укрепляют на высоте 0,60—0,65 м от уровня пола, в школах и детских садах — на высоте 0,4—0,5 м. Напольные писсуары (уриналы) из фаянса оборудованы нижней чашей с выпуском, покрытым решеткой, вертикальной стенкой с боковыми щитками. Ширина уриналов 450—500 мм, высота 950—1050 мм от пола, глубина чаши 400 мм. Для эффективной промывки одного уринала необходим расход воды около 0,2— 0,25 л/с. Писсуары лоткового типа устраивают с облицовкой керамической глазурованной плиткой или пластиком на высоту не менее 1500 мм от пола. Ширина лотка 300 мм, минимальная глубина 50 мм, уклон 0,015. Длину лотка принимают из расчета 0,6 м на человека. Лотковые писсуары оборудуют выпуском (в самой нижней точке) диаметром 40 мм с решеткой и устройством для промывки вертикальной стены и лотка. Воду для промывки подают непосредственно из водопровода или от автоматически действующего смывного бачка по перфорированной трубе диаметром 15 мм с удельным расходом воды 0,03 л/с на метр лотка.
Биде — гигиенический индивидуальный душ — санитарный прибор, который устанавливают в помещениях личной гигиены женщин производственных и общественных зданий и в санитарных узлах жилых зданий. Биде имеют фаянсовую чашу высотой 370 мм, длиной 620 мм и шириной 430 мм, оборудованную устройством для подводки холодной и горячей воды, смешения в смесительной арматуре и подачи в душирующую сетку, обеспечивающую направление струй воды снизу вверх. Вода может быть направлена в боковые каналы для обогрева бортов прибора. Выпуск стоков диаметром 40 мм оборудован гидравлическим затвором (сифоном) с защитной решеткой от засоров. Удельные расходы холодной и горячей воды составляют по 0,05 л/с.
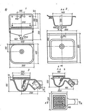
Умывальники — санитарно-гигиенический прибор из керамики (фаянса, фарфора и полуфарфора), пластмассы, чугуна и стали (эмалированные). Размеры умывальников разные: 500, 550; 600 и 650 мм в длину, ширина— от 300 до 600 мм, глубина 150—180 мм. Форма умывальников — прямоугольная, овальная, полукруглая и др. Приборы представляют собой чашу, оборудованную выпуском диаметром 32—40 мм с решеткой для задержания загрязнений, переливом, приставным гидрозатвором (сифоном) и водопроводной смесительной арматурой с подводкой холодной и горячей воды. Высота установки от пола до борта прибора 800 мм, а в детских учреждениях и школах — от 500 до 700 мм.
Ванны выпускают различных форм и размеров, в зависимости от требований эксплуатации, назначения, комфортности. Купальные ванны выпускают в соответствии с ГОСТ круглобортные и прямобортные шириной 700—750 мм, длиной 1200, 1500 и 1700 мм, глубиной 445—460 мм с высотой от пола до борта 600 мм. Ванны изготовляют из чугуна, стали с глазурованным эмалевым покрытием, пластмассовые. Ванны предназначены для приема санитарно-гигиенических, оздоровительных и лечебных процедур. Для создания максимальных удобств и экономичности ванны выпускают с пологой задней стенкой, с сужением передней части ванны для ног и ванны с расширением верхней части и устройством подлокотников для рук. Кроме купальных ванн применяют и другие типы ванн: сидячие, глубокие поддоны '(полуванны), полибаны. Сидячие ванны с уступом для сидения изготовляют длиной 1200, шириной 700, глубиной 500 мм. Полибан (универсал) и глубокий поддон (полуванна) являются разновидностью сидячих ванн и предназначены для приема водных процедур и мытья в сидячем положении или стоя; длина 800—900, ширина 800, глубина 300—350, высота от пола до борта 450—600 мм.
В лечебных учреждениях лечебные ванны изготовляют из шамотного фаянса с глазурованной поверхностью длиной 1780—1800, шириной 800 и высотой 630 мм вместе с ножками.
Все ванны без исключения оборудуют выпусками и переливами с решетками, гидравлическими затворами (напольными сифонами), а также комбинированной смесительной арматурой и переключателем для подачи воды в ванну или в стационарную душевую сетку, или сетку с гибким шлангом.
Души широко применяют в жилых, общественных, лечебных зданиях и коммунально-бытовых помещениях предприятий, общежитий и др. Души устраивают в шкафах, открытых или закрытых кабинах. Кабины душевые могут быть встроенными или приставными с перегородками. Полы и стены кабин имеют гидроизоляцию, влагонепроницаемое покрытие (керамической глазурованной плиткой, пластиком, масляной краской). Ширина и длина кабины около 1 м. Высота перегородок 1,9—2,0 м. Душевую установку оборудуют смесительной водоразборной арматурой и подводками холодной и горячей воды. Для подачи воды со стабильной температурой применяют смесители с терморегулятором. Удаление стоков осуществляется с помощью ножного поддона 900X900 мм, глубиной 120—150 мм, оборудованного выпуском диаметром 40 мм с решеткой и приставным гидрозатвором, соединяющим поддон с канализационной сетью. Душевые устраивают и без поддонов с устройством сборного лотка и отводом стоков по уклону пола и лотка к выпуску с решеткой и трапом, расположенному на самой нижней отметке лотка.
Кроме того, применяют специальные групповые прямоугольные или круглые душевые кабины четырехместные, оборудованные душевыми поддонами для сбора и отвода в канализацию стоков и устройством для централизованного управления приготовлением и подачей в душевые сетки воды заданной температуры. Внутри кабины имеется колонка с водораспределительным устройством с термостатическим смесителем, автоматически поддерживающим заданную температуру; включение и выключение подачи воды ручным способом или от ножной педали.
Мойки для отвода хозяйственных стоков в канализацию изготовляют чугунными эмалированными, пластмассовыми из ударопрочного полистирола и стальными из нержавеющей стали. Чаши моек имеют глубину 170—200 мм, их оборудуют выпуском с решеткой диаметром 40 мм и переливом. Изготовляют мойки с одним или двумя отделениями большой модели 600ХЮ00 мм и малой 600Х Х800 мм. Каждое отделение имеет свой выпуск. Выпуски объединены на один гидрозатвор.
Раковины для хозяйственных стоков изготовляют преимущественно из чугуна, стали с эмалированной поверхностью, из пластмассы и керамические. Размеры раковин прямоугольной формы 500X600X400, глубина 150 мм. Для защиты от брызг стены раковины имеют цельноотлитую или съемную заднюю стенку с отверстием для установки водоразборной арматуры на высоте 200—250 мм от борта. Высота расположения борта раковины над иолом составляет 800— 850 мм. Чаша для приема стоков оборудована выпуском диаметром 32—40 мм с решеткой для задержания крупных загрязнений. К выпуску присоединяется гидравлический двухоборотный затвор с ревизией или пробками для прочистки.
Характеристики
Тип файла документ
Документы такого типа открываются такими программами, как Microsoft Office Word на компьютерах Windows, Apple Pages на компьютерах Mac, Open Office - бесплатная альтернатива на различных платформах, в том числе Linux. Наиболее простым и современным решением будут Google документы, так как открываются онлайн без скачивания прямо в браузере на любой платформе. Существуют российские качественные аналоги, например от Яндекса.
Будьте внимательны на мобильных устройствах, так как там используются упрощённый функционал даже в официальном приложении от Microsoft, поэтому для просмотра скачивайте PDF-версию. А если нужно редактировать файл, то используйте оригинальный файл.
Файлы такого типа обычно разбиты на страницы, а текст может быть форматированным (жирный, курсив, выбор шрифта, таблицы и т.п.), а также в него можно добавлять изображения. Формат идеально подходит для рефератов, докладов и РПЗ курсовых проектов, которые необходимо распечатать. Кстати перед печатью также сохраняйте файл в PDF, так как принтер может начудить со шрифтами.
















