124401 (577717), страница 2
Текст из файла (страница 2)
Закатанные наполненные банки немедленно передают на стерилизацию (пастеризацию). Время от закатывания банок с продуктом до начала стерилизации должно быть не более 30 мин. Стерилизуют пюреобразные консервы для детского питания в вертикальных и горизонтальных автоклавах, пастеризационных установках непрерывного действия погружного типа и аппаратах непрерывного действия
В автоклавах и аппарате непрерывного действия стерилизуют все виды консервов детского питания, в погружных установках - только фруктовые пюре одно - или двухкомпонентные с сахаром или без и соки.
При пастеризации в установках погружного типа пюре перед фасованием должно быть нагрето в теплообменнике с очищаемой поверхностью до 98 + 2 °С с выдержкой при этой температуре 2 мин 40 с. Затем его охлаждают до 85 °С, фасуют при этой температуре, укупоривают, пастеризуют в пастеризаторе погружного типа при 90 °С не менее 26 мин, затем охлаждают в течение 12 мин до 40 °С.
При стерилизации пюреобразных консервов в аппаратах непрерывного действия продукт должен иметь начальную температуру не ниже 80 °С. Затем продукт в аппарате постепенно нагревают до 100 °С, выдерживают при этой температуре определенное время в зависимости от вида консервов и также постепенно охлаждают до 30 °С.
В оросительных пастеризаторах также осуществляется постепенное нагревание продукта за счет орошения водой трехкратно изменяющейся температуры, выдержки при достигнутой температуре пастеризации 95 - 98 ºС, затем температуру постепенно снижают путем орошения водой.
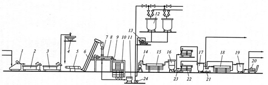
2.9 Технологическая схема производства консервов, включая операции разваривания, протирания, смешивания, гомогенизации, деаэрации, подогрева, фасования, укупоривания
Рис. 6. Технологическая схема производства пюреобразных консервов:
1 - развариватель; 2,4 - протирочные машины; 3, 5, 9 - насосы; 6 - емкость с мешалкой; 7 - гомогенизатор; 8 - деаэратор; 10 - подогреватель; 11 - наполнительный автомат; 12, 14 - конвейеры; 13 - укупорочный автомат.
В соответствии с ГОСТ 15849-89 на консервы плодовые и ягодные для детского питания пюре натуральные из яблок, груш и смеси плодов должны содержать растворимых сухих веществ 10 - 12%, органических кислот (по яблочной кислоте) 0,2 - 0,6%, пюре фруктовые с сахаром - растворимых сухих веществ до 14% (яблочное) или до 24% (черносмородиновое).
В ассортимент пюреобразных консервов из тропических плодов входят пюре с сахаром из бананов, гуавы, манго и папайи одного вида или в смеси с другими пюре (алыча, яблоки).
Нектары (соки с мякотью) вырабатывают из плодов бананов, гуавы, манго, папайи и их смесей. Количество добавляемого сахара в нектары составляет от 2,7% (нектар из бананов) до 10% (нектар из папайи), а лимонной кислоты - 0,15 - 0,2%.
Полученные смеси гомогенизируют при давлении 15-17 МПа (для нектаров) и 12 МПа (для пюре). Гомогенизированные продукты деаэрируют при 35 - 40 °С и остаточном давлении 6 - 8 кПа, затем нагревают до 80 "С и фасуют.
Укупоренные банки и бутылки с пюре или нектарами стерилизуют в автоклавах при 100 °С или непрерывно действующих пастеризаторах при 95 °С.
Кремы и десерты отличаются от фруктовых пюре своим составом и консистенцией. Кремы вырабатывают из яблок или яблочного пюре с добавлением земляничного, черничного, черноплодно-рябинового пюре, сахара и манной крупы.
Десерты делают из слив, яблок, черной смородины, вишни или из их смесей. К фруктовой части добавляют крахмал, сахар и молочную сыворотку. При изготовлении десертов вначале смешивают пюре с сахаром и подогревают до 55 - 60 °С, затем в подогреватель подают смесь кукурузного фосфатного крахмала с молочной сывороткой, предварительно подогретой до 40 °С.
При изготовлении плодово-ягодных кремов манную крупу предварительно смешивают с сахаром, затем подают в подогреватель, куда заранее была помещена фруктовая масса. После смешивания продукт подают на деаэрацию и подогрев. Фасуют горячую массу в стеклянные банки вместимостью 0,25 дм3, укупоривают и стерилизуют в автоклавах. Кремы стерилизуют при 100 °С в течение 20 мин, десерты - при 100 °С в течение 45 мин.
3. Фруктовые соки
В детском питании используются различные виды соков - осветленные, неосветленные и с мякотью одного вида или купажированные. Соки фруктовые натуральные изготавливают без каких-либо добавок, с сахаром, купажированные. Соки без мякоти могут быть полностью прозрачными (осветленные) или мутные по внешнему виду (неосветленные).
3.1 Фруктовые соки с мякотью
Соки с мякотью готовят из всех видов косточковых плодов, культивируемых и дикорастущих ягод, мандаринов и ягод.
Поступающие на переработку плоды моют в вентиляторной моечной машине (семечковые плоды - в барабанной и вентиляторной), затем ополаскивают под душем и инспектируют на ленточном конвейере, откуда элеватором подают в дробилку. Дробленая масса из дробилки поступает в шнековый или СВЧ-бланширователь для размягчения мякоти и перехода красящих веществ из кожицы в сок. Косточковые плоды можно нагревать в целом виде, без дробления, а вишни нужно очищать от плодоножек.
Вишню, кизил и сливы нагревают до 85 - 90 °С, персики, абрикосы и ягоды - до 70 - 75 °С, дробленую массу айвы и яблок - до 90 - 95 °С. Шиповник нагреванию не подвергают.
После тепловой обработки горячая фруктовая масса поступает на протирание. Косточковые плоды, если они нагревались в целом виде без удаления косточек, вначале протирают на протирочной машине с диаметром отверстий сит 5 мм, затем на сдвоенной протирочной машине с диаметром отверстий сит 1,5-1,2 и 0,4 мм. Тонкоизмельченную массу смешивают с сахарным сиропом в соотношении от 70: 30 до 50: 50. После смешивания сок гомогенизируют, деаэрируют, подогревают до 70 - 80 °С и направляют на фасование, укупорку и стерилизацию.
Некоторые соки с мякотью для детского питания выпускают натуральными, без добавления сахара или сиропа.
Рис. 7. Технологическая линия по производству соков с мякотью:
/ - моечная машина; 2 - инспекционный конвейер; 3 - элеватор; 4 - дробилка; 5 - машина для удаления плодоножек; б - шнековый подогреватель; 7 - протирочная машина; 8 - шнековый пресс; 9 - насосы; 10 - сироповарочный котел; 11 - смесители; 12 - сепаратор; 13 - сборник; 14 - гомогенизатор; 15 - трубчатый подогреватель; 16 - вакуум-насос; 17 - деаэратор; 18 - пастеризатор; 19 - сборник готового продукта.
Плоды моют в сдвоенной вентиляторной моечной машине 1, проходят машину для удаления плодоножек 5 и инспекционный конвейер 2. Отсюда семечковые плоды элеватором 3 подают в дробилку 4 а из нее - в шнековый подогреватель б, косточковые плоды подают сразу в подогреватель. Из подогревателя косточковые плоды поступают в протирочную машину 7, где очищаются от косточек, а семечковые плоды подают в шнековый пресс 8, где отжимается сок с частью мякоти. Очищенная от косточек масса вторично протирается на протирочной машине с меньшим диаметром отверстий сит. Тонко протертая плодовая масса поступает в смеситель 11, где к ней добавляют сироп из сироповарочного котла 10. Полученную смесь пропускают через сепаратор 12, в котором отделяются более крупные частицы мякоти, и резервируют в сборнике 13 Из сборника сок переходит в гомогенизатор плунжерного типа 14, подогревается до 45 °С в трубчатом подогревателе 75 и деаэрируется в деаэраторе 17, затем подогревается до 75 С в пастеризаторе 18 и поступает на фасование.
3.2 Фруктовые соки без мякоти
Соки без мякоти для детского питания готовят натуральные, без каких-либо добавок, и с сахаром одного вида или смешанные (купажированные) из двух видов плодов. Получают соки без мякоти из семечковых и косточковых (вишни, сливы, черешни) плодов и ягод культурных и дикорастущих.
Для производства соков без мякоти используют комплексные линии оборудования, обеспечивающие необходимую подготовку сырья, извлечение и обработку сока.
Первой операцией является мойка, которую осуществляют в двух последовательно установленных моечных машинах. Мытые плоды инспектируют, удаляя пораженные вредителями и болезнями плоды. После мойки плоды измельчают на дисковых или терочных дробилках: семечковые (яблоки, айву, груши) на частицы размером - 2 - 6 мм, шиповник - 1 - 2 мм.
Косточковые плоды и ягоды обрабатывают на вальцовых дробилках. Дробилки должны быть отрегулированы таким образом, чтобы не происходило раздавливания косточек. Содержание дробленых косточек в мезге - не более 15%, небольшое их количество улучшает вкус и запах сока. Сливы при дроблении должны только сплющиваться, не теряя своей целости. Зрелые малину, землянику и чернику можно не дробить.
Для некоторых плодов и ягод одного дробления недостаточно для получения сока. Чтобы облегчить выход сока, необходима их дополнительная обработка, которая включает нагревание или обработку электрическим током; ферментные препараты не применяются.
Сливы нагревают с добавлением 10% воды до 70 - 72 °С до появления трещин на кожице; ежевику, бруснику, черноплодную рябину - до 65 - 75 °С с добавлением 12 - 15% воды к массе сырья.
Действию электрического тока в специальных устройствах - электроплазмолизаторах - может подвергаться мезга почти всех плодов и ягод с плотной кожицей.
Обработанную мезгу подают на прессование, для чего применяют гидравлические пакетные прессы периодического действия или непрерывного - шнековые или ленточные.
Шнековые прессы дают сок с высоким содержанием взвесей, поэтому их используют для отжатия сока из ограниченного ассортимента сырья - винограда, гранатов и некоторых других ягод и плодов. Ленточные прессы дают хороший результат при прессовании яблок.
При производстве яблочного осветленного сока осветляют процеженный сок. Когда готовят соки для детского питания, осветление можно проводить склеиванием с использованием 1% -ных растворов желатина или танина и желатина.
Неосветленный сок для удаления части белковых веществ и других термолабильных коллоидов подвергают мгновенному подогреву до температуры коагуляции белков 85 - 90 °С, затем быстро охлаждают до 30 - 35 °С и сепарируют.
Осветленный сок фильтруют и направляют на подогрев и фасование. Неосветленный сок нагревают после сепарирования.
При изготовлении соков с сахаром или купажированных смешивание соков и добавление сахара осуществляют перед нагреванием.
Сок, фасуемый в мелкую тару с последующей стерилизацией, нагревают до 75 - 80 °С и фасуют в подготовленные бутылки или банки. При производстве сока с витамином С в горячий сок добавляют аскорбиновую кислоту, перемешивают 5-10 мин и сразу передают на фасование.
Наполненную тару укупоривают и направляют на стерилизацию (пастеризацию), которую проводят при 85, 90 или 100 °С в зависимости от кислотности сока и вместимости тары, продолжительность стерилизации - от 10 до 20 мин.
В крупную тару вместимостью 2, 3 и 10 дм3 можно фасовать соки так называемым горячим розливом без последующей стерилизации. При горячем розливе сок нагревают до 95 - 97 °С с автоматической регулировкой температуры и сразу же разливают в подготовленные горячие банки, которые укупоривают прокипяченными крышками. Укупоренные банки на 20 мин укладывают на бок для стерилизации верхнего незаполненного пространства тары, после чего обдувают холодным воздухом для снижения вредного воздействия теплоты на качество сока.
Рис. 8. Технологическая схема производства осветленных фруктовых соков:
1 - контейнероопрокидыватель; 2, 3 - вентиляторные моечные машины; 4 - машина для удаления плодоножек; 5 - инспекционный конвейер; 6 - элеватор; 7 - дробилка; 8 - стекатель; 9 - дозатор; 10 - гидравлический пресс с насосом; 11 - сборник с фильтром; 12 - сборник-мерник; 13,20 - передвижной насос; 14 - кожухотрубный подогреватель; 15 - узел температурной выдержки; 16 - сборник-смеситель; 17,19 - сосуды; 18 - пастеризатор; 21, 23, 24 - винтовые насосы; 22 - фильтр-пресс.
Сырье из контейнеров выгружают в моечную машину. Мойка осуществляется в двух последовательно установленных вентиляторных моечных машинах. Если перерабатывается сырье с плодоножками, то оно проходит через машину для удаления плодоножек. Затем плоды инспектируют на конвейере и подают элеватором в дробилку. Сок, выделяющийся из плодов при дроблении, изолируется от мезги в стекателе и отводится в сборную емкость с фильтром. Частично обезвоженную мезгу через дозатор загружают в гидравлический пресс. Отжатый сок перекачивают насосом в сборную емкость с фильтром. Проходя в емкость через фильтр, сок освобождается от взвесей. Из емкости с фильтром сок перекачивают в сборники-мерники для смешивания сока с сахаром или другими соками при производстве купажированных соков. Полученную в соответствии с рецептурой смесь подогревают в кожухотрубном подогревателе, выдерживают при этой температуре необходимое время в выдерживателе, затем через промежуточный сборник подают на фильтрование в фильтр-пресс. Фильтрованный сок нагревают до температуры пастеризации и сразу фасуют в подготовленные бутылки.
3.3 Линия по выработке осветленного яблочного сока производительностью 3 т / ч по сырью
Поступившие на переработку плоды засыпают в бетонные ванны, откуда гидротранспортером по подземным каналам они направляются в цех. Здесь с помощью шнекового отделителя 2, расположенного в бетонной ванне (яме), плоды отделяют от воды и с помощью элеватора 3 с душевым устройством поднимают к машине для окончательной мойки 4. Вода, поступающая с шнекового отделителя и содержащая крупные загрязнения (камешки, ветки, листья и т.п.), попадает на загрузочную воронку наклонного шнекового конвейера с перфорированным дном, задерживающим и удаляющим загрязнения. Очищенная вода стекает в ванну (яму), откуда с помощью погружного насоса 1 подается обратно в бетонные ванны с плодами для повторного ее использования.
















