124401 (577717), страница 3
Текст из файла (страница 3)
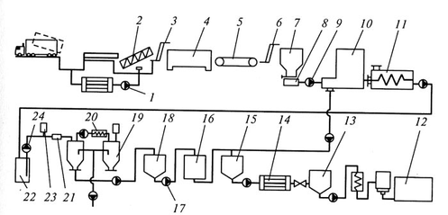
Рис. 9. Линия по выработке осветленного яблочного сока
1, 9, 17, 24 - насосы; 2 - шнековый отделитель; 3,6 - элеваторы; 4 - моечная машина; 5 - инспекционный транспортер; 7, 13, 15, 18, 22 - сборники; 8 - дробилка; 10 - пресс; 11 - пастеризатор-охладитель; 12 - пастеризатор; 14, 16 - фильтры; 19 - сборник; 20 - охладитель; 21 - трубный статический смеситель; 23 - дозатор пектолитического препарата.
Промытые плоды инспектируют 5, удаляя негодные для переработки плоды, и элеватором 6 поднимают к приемному сборнику 7, ополаскивая плоды струей чистой воды. Яблоки из сборника в необходимом количестве (в зависимости от производительности пресса) подают на дробилку 8. Измельченная плодовая масса немедленно направляется насосом 9 на прессование 10.
Полученный сок в установке для прессования очищают от возможных крупных частиц и после пастеризации и охлаждения 11 направляют в одну из емкостей для депектинизации. Выжимки от прессования измельчают на мешалке при возможной добавке воды и направляют в емкости для брожения.
Сок после пастеризации и охлаждения (45 - 50 °С) сначала направляют в промежуточный сборник 22, откуда дозировочным насосом 24 он засасывается в емкости для депектинизации. По пути в трубопровод вводят пектолитический препарат 23 при его перемешивании с помощью трубного статического смесителя 21.
Процессы депектинизации и осветления протекают в зависимости от вида применяемого препарата.
Если препарат для осветления требует охлаждения сока, то его после депектинизации через охладитель 20 перекачивают в емкости для осветления 19 и добавляют препарат вручную. Если охлаждения не требуется, сок в этом случае не перекачивают, а препарат для осветления вводят в емкость для депектинизации. По окончании депектинизации и осветления образовавшийся на дне емкости осадок перекачивают в сборник для приемки осадка 18, откуда его направляют насосом 1 7 на фильтр 16.
Полученный таким образом сок с помощью насоса перекачивают в сборник 19, куда добавляют сок, полученный от фильтрации осадка. Смесь соков еще раз фильтруют 14 для получения полностью осветленного сока, готового к розливу в бутылки. Этот сок собирают в приемном сборнике 13, а потом направляют на линию розлива в бутылки, где он предварительно деаэрируется и пастеризуется.
Розлив сока в бутылки происходит при 80ºС с последующей дополнительной пастеризацией и охлаждением в туннельном пастеризаторе-охладителе.
Техническая характеристика линии по выработке осветленного яблочного сока:
Производительность линии по сырью, т / ч - 3
Общая установленная мощность, кВт - 106,85
Общий расход воды, м3/ч - 12
Общий расход пара, т / ч - 500
Число производственных рабочих в смену - 12
4. Список используемой литературы
-
Касьянов Г.И. Технология продуктов детского питания, 2003г.
-
Панфилов В.А. Технологические линии пищевых производств, М., 1993г.
















