123337 (577580)
Текст из файла
Содержание
1. Передачи. Их классификация, понятие о передаточном числе, краткая характеристика основных видов передач
2. Котлетоформовочная машина МФК - 2240М. Назначение и устройство (кинематическая схема). Принцип действия
3. Взбивальная машина МВУ - 60. Составьте правила эксплуатации машины, укажите основные неисправности, возникающие при работе и способы их устранения
4. Сравните тестомесильные машины МТМ - 15 и МТИ - 100. Опишите их общие и отличительные особенности
5. Подъёмники (лифты). Их устройство, принцип действия, правила эксплуатации. Проанализируйте наличие и ведение документации по техническому обслуживанию лифта в предприятии, где вы работаете
6. Ситуация 9. На 90 - й секунде с начала цикла машины ММУ - 500, работа прекратилась, диски командоаппарата вернулись в первоначальное состояние. Проанализируйте ситуацию и укажите причину и пути устранения неисправности
Список литературы
1. Передачи. Их классификация, понятие о передаточном числе, краткая характеристика основных видов передач
Передаточные механизмы служат для передачи движения от источников движения к рабочим органам исполнительных механизмов. В качестве передаточных механизмов в технологических машинах применяются в основном механизмы вращательного - движения - передачи. Основными видами передач являются-
зубчатые:
цилиндрические, конические, винтовые, червячные,
Ременные:
плоскоременные, клиноременные;
Цепные. [3,4,5,2]
цепи втулочно-роликовые, зубчатые; фрикционные.
Передаточное число редуктора:
Значение передаточного числа редуктора определяется из отношения частоты вращения вала двигателя к частоте вращения вала редуктора:
Кинематическая схема передаточного механизма технологической машины характеризуется скоростью и видом движения; рабочих органов исполнительных механизмов. В технологической машине могут использоваться любые виды передач или их комбинации. Например, клиноременная передача может сочетаться с зубчатой, цепная с червячной, фрикционная с винтовой и т.д.
В большинстве случаев передаточные механизмы технологических машин предприятий общественного питания используются в трех конструктивных оформлениях:
I. Передаточное устройство не объединено с источником движения и исполнительным механизмом и имеет отдельную станину (корпус). В этом случае передаточный механизм может быть выполнен в виде редуктора, мультипликатора, коробки скоростей, вариатора скорости и др.
II. Передаточное устройство объединено с источником дви жения общей станиной. В этом случае такое устройство называют приводом.
III. Передаточное устройство объединено с источником движения и исполнительным механизмом общей станиной и составляет с ними единое целое - технологическую машину.
Механизмы управления осуществляют пуск и остановку машины, а также контроль за ее работой. Механизмы регулирования служат для настройки машины на заданный режим или ритм работы. Механизмы защиты и блокировки используются для предотвращения неправильного включения машины, а также производственного травматизма: Исполнительный механизм технологической машины определяет и характеризует ее класс. Конструкция исполнительного механизма зависит от характера технологической операции и структуры рабочего цикла машины. Исполнительный механизм состоит из рабочей камеры, рабочих органов, вспомогательных устройств для подачи продукта в камеру и удаления из нее. Рабочая камера предназначена для удержания продукта; в положении, удобном для воздействия на него рабочими инструментами. Устройство рабочей камеры зависит от физико-механических свойств продукта, его формы и размеров, а также характера технологической операции.
Рабочий орган исполнительного механизма непосредственно воздействует на обрабатываемый продукт в соответствии с заданным технологическим процессом. Последний может осуществляться с помощью различных рабочих органов, которые подразделяются на основные (ножи, лопасти, решетки, взбиватели и т.п.) и вспомогательные (зажимы, опорные плоскости и др.). [3,4,5,2]
Передаточное отношение редуктора есть отношение: количества оборотов электродвигателя к количеству оборотов выходного вала редуктора:
U=nвх/nвых
nвх - количество оборотов входного вала редуктора, т. е обороты электродвигателя, об/мин.
nвых - необходимое количество оборотов выходного вала редуктора, об/мин.
Полученное передаточное число округляется до передаточного числа из типового ряда для данных типов редукторов
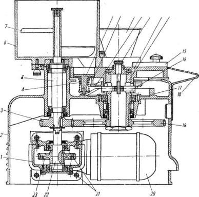
2. Котлетоформовочная машина МФК - 2240М. Назначение и устройство (кинематическая схема). Принцип действия
Машина (рис.1) состоит из корпуса, привода, крышки стола с загрузочным бункером, бункера для панировочных сухарей, формующего стола и ряда других деталей и узлов.
Рисунок 1. Котлетоформовочная машина МФК - 2240М. Общий вид.
Внутри литого алюминиевого корпуса 2 (рис.2) находится привод, представляющий собой электродвигатель 20, прифланцованный к червячному редуктору / и понижающий число оборотов с 1400 до 37 в минуту. Вал редуктора 22, вращающийся в шарикоподшипниках 21, получает движение от червячного колеса 23 и передает его шестерне 3 и валу 5, на котором закрепляется лопастный винт 7. Лопастный винт вращается в неподвижном бункере 6 и направляет котлетную массу к отверстию в его днище.
Рабочим инструментом машины служит формующий стол 13, выполненный в виде круглого диска с тремя ячейками. Движение формующему столу передается вертикальным валом 14, который получает вращение от зубчатого колеса 19, находящегося в зацеплении с шестерней 3. Внутрь ячеек стола вставлены поршни 8, которые совершают возвратно-поступательное движение в вертикальном направлении. Хвостовик каждого поршня проходит через направляющую втулку, скрепленную с формующим столом. В хвостовик ввернут опорный винт с гайкой
Рисунок 2. Разрез машины МФК - 2240М
Вверх поршни перемещаются за счет кулачка 17, по которому скользят головки опорных винтов поршней, копирующие профиль его поверхности. При вращении стола поршни принимают положения, соответствующие участкам кулачка, поскольку их хвостовики скользят по его поверхности. В верхнем положении поршень должен находиться заподлицо с рабочей поверхностью формующего стола, что достигается ввинчиванием или вывинчиванием опорного винта.
Масса изделий изменяется регулировочным винтом 12, выведенным на поверхность формующего стола. При повороте винта в том или ином направлении штифт 16, навинченный на его нижний конец, перемещается вверх или вниз. Штифт перемещает планку, надетую на ступицу формующего стола, в которую упираются пальцы 9 поршней. Направление вращения винта указано на его головке двумя буквами: Б-больший вес и М - меньший вес. Крышка стола с загрузочным бункером для фарша крепится к корпусу гайками. Бункер 10 для панировочных сухарей вставляется в круглое отверстие крышки стола. На поворотной оси, над формующим столом, установлен сбрасыватель 15 формующего стола, под которым крепится приемный лоток 18. Двигатель включается пакетным включателем, укрепленным на корпусе машины.
Принцип работы машины. Вращающийся формующий стол поочередно подводит ячейки с поршнями под бункер с сухарями, бункер с котлетной массой и к сбрасывателю. При этом"опорные винты хвостовиков поршней перемещаются по кулачку, который расположен таким образом, что участок с промежуточной высотой находится под бункером для сухарей, участок с минимальной высотой - под бункером с котлетной массой, а участок с максимальной высотой - у сбрасывателя.
Поршни поочередно опускаются сначала под бункером с сухарями, заполняя ими пространство над поршнем, затем под бункером с котлетной массой, заполняя образовавшееся над поршнем свободное пространство. Глубина опускания поршня зависит от положения регулировочного винта и планки. Регулировка позволяет изменять массу изделий в пределах от 45 до 95 г.
При дальнейшем вращении стола хвостовики поршней, скользя по участку подъема кулачка, поднимают поршни и выталкивают изделие на поверхность стола под сбрасыватель. Ролик формующего стола поворачивает кулачок сбрасывателя, и изделие сталкивается на приемный лоток. Сбрасыватель одновременно очищает вращающийся стол от крошек. Далее весь цикл движений поршней повторяется.
Рис 2.1 Технические характеристики машины.
| Параметры и размерность | Машина МФК-2240 |
| Производительность, шт. /ч | 2240 " |
| Вместимость бункера для фарша, кг | 10 |
| Вместимость бункера для сухарей, кг | 0,7 |
| Масса отформованных изделий, г | 45-95 ±3% |
| Частота вращения формующего стола, МИН""1 | 12,4 |
| Частота вращения шнека-питателя, МИН""1 | 37,3 |
| Электродвигатель: | |
| тип | АОЛ2-22-4 |
| мощность, кВт | 0,4 |
| частота вращения, мин-1 | 1400 |
| напряжение, В | 380/220 |
| Габариты, мм: | |
| длина | 610 |
| ширина | 390 |
| высота | 630 |
| Масса, кг (не более) | 75 |
Регулирование осуществляют при включенном двигателе машины. Неполновесные изделия помещают бункер для фарша. При неполном заполнении фаршем пространства над поршнем машину останавливают, проверяют наличие фарша в бункере и при необходимости добавляют, после машину включают в работу. [3,4,5,2] Периодически проверяют массу отформованных изделий и по мере необходимости регулируют положение поршней регулировочным устройством, по окончании работы машину частично разбирают. Для этого отвинчивают гайки, крепящие шнек-питатель и рабочий, а также винты крышки стола. Затем снимают шнек-питатель-, формующий стол с поршнями и крышку стола с бункер и промывают их в горячей воде. Поверхности рабочего стола, гнезда поршней, шнека-питателя, крышки стола и доки копира после просушивания смазывают пищевым жиром. Растительное масло для смазки использовать нельзя Наружные поверхности машины промывают теплой водой не реже 2-3 раз в неделю. Полную разборку машины для профилактического ремонта производят в соответствии с инструкцией по эксплуатации и уходу.
К обслуживанию машины допускаются лица, прошедшие соответствующий техминимум.
Преимущества МФК 2240 по сравнению с котлетным автоматом АК 2М-40: гораздо больше производительность (2240 шт против 100 шт), однако в то же время более сложная конструкция, управление, масса.
3. Взбивальная машина МВУ - 60. Составьте правила эксплуатации машины, укажите основные неисправности, возникающие при работе и способы их устранения
Машины применяются в кондитерских цехах предприятий общественного питания для взбивания сливок, яиц, кремов и других продуктов. [3,5,2,1].
Взбивание осуществляется энергичным и довольно длительным воздействием рабочих органов на продукты. В результате происходит перемешивание частичек продуктов с воздухом, который равномерно распределяется по всей смеси в виде отдельных мелких пузырьков, придавая ей пышность. Насьщение жидкой смеси воздухом осуществляется главным образом, за счет сложного движения месильных лопастей, имеющих сил развитую поверхность и обтекаемую форму.
Классификация взбивальных машин
Для взбивания продуктов применяются различные типы взби вальных машин, которые по своему устройству можно классу фицировать следующим образом.
С несъемными взбивателями (МВД-60) предназначаются для замеса высоковязких смесей. К достоинствам этих машин относятся:
жесткость и прочность рабочих органов;. [3,2]
сравнительная простота конструкции и возможность применения стандартных редукторов и передач;
безопасность обслуживания.
К недостаткам этих машин следует отнести;
Характеристики
Тип файла документ
Документы такого типа открываются такими программами, как Microsoft Office Word на компьютерах Windows, Apple Pages на компьютерах Mac, Open Office - бесплатная альтернатива на различных платформах, в том числе Linux. Наиболее простым и современным решением будут Google документы, так как открываются онлайн без скачивания прямо в браузере на любой платформе. Существуют российские качественные аналоги, например от Яндекса.
Будьте внимательны на мобильных устройствах, так как там используются упрощённый функционал даже в официальном приложении от Microsoft, поэтому для просмотра скачивайте PDF-версию. А если нужно редактировать файл, то используйте оригинальный файл.
Файлы такого типа обычно разбиты на страницы, а текст может быть форматированным (жирный, курсив, выбор шрифта, таблицы и т.п.), а также в него можно добавлять изображения. Формат идеально подходит для рефератов, докладов и РПЗ курсовых проектов, которые необходимо распечатать. Кстати перед печатью также сохраняйте файл в PDF, так как принтер может начудить со шрифтами.
















