122892 (577500)
Текст из файла
Блок дифференциальных реле электровоза ВЛ80
1. Назначение
Блок дифференциальных реле предназначен для защиты выпрямительных установок электровоза от коротких замыканий с помощью главного выключателя.
2. Технические данные
Технические данные блока дифференциальных реле:
Номинальное напряжение силовой цепи, В…………………………………………2500
Номинальный ток силовой цепи (эффективное значение однополупериодного выпрямления), А……………………………………………………………………………….1500
Параметры контактов в цепи переменного тока:
Напряжение, В…………………………………………………………………………380
Номинальный отключаемый ток (при cos φ ≥ 0.4), А…………………………5
Число размыкающих контактов (соединены параллельно)……………………2
Параметры контактов в цепи постоянного тока:
Напряжение, В…………………………………………………………………50
Номинальный отключаемый ток (при постоянной времени цепи 0.05с), А…5
Число размыкающих контактов (соединены последовательно и имеют один общий вывод)…………………………………………………………………………….2
Число замыкающих контактов (соединены последовательно)……………….2
Сопротивление удерживающей катушки, Ом………………………………. 3,6
Число витков катушки…………………………………………………………700
Диаметр провода ПЭТ-155 (ГОСТ 21428–75), мм………………………….. 0,8
Ток в цепи удерживающей катушки при включенном добавочном резисторе и напряжение 50 В, А………………………………………………………. 0,5–0,7
Время включения удерживающих катушек на напряжение 50 В без добавочных резисторов не более, с……………………………………………30
Ток установки (разность токов в силовых витках I¹-I²), А…………….500-30+50
Время срабатывания от момента достижения значения установки до начала касания размыкающих контактов при скорости нарастания общего силового тока 1,3×106 А/с не более, с………………………………………………. 0,01
3. Устройство
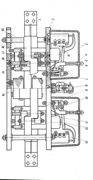
Блок дифференциальных реле (рис. 1–4) состоит из двух электромагнитных реле, собранных на панели 2 (см. рис. 1), общей для двух реле силовой шины 1 с двумя параллельными разветвлениями и индуктивным шунтом 14, надетым на одну из ветвей шины 1.
Реле состоит из шихтованного магнитопровода 9, катушки 11, якоря 12 и блокировки 13. Якорь вращается на оси 10. Одним концом якорь производит переключение блокировки, на другой конец действует отключающая пружина 7, натяжение которой регулируется гайкой 6. Зазор а между якорем и полюсом магнитопровода регулируется положением шпильки 4. Реле закрыто прозрачным кожухом 3, который крепится при помощи гайки 5 и шпильки 4.
Силовая шина с индуктивным шунтом при помощи клиц 15 и шпилек 16, 17 крепится к панели 18. Панель 18 с закрепленной на ней шиной 1 и индуктивным шунтом 14 крепится стойками 19 к верхней панели 2. В нижней панели 18 имеются четыре овальных отверстия, которые предназначены для крепления блока в электровозе. На верхней панели размещены добавочные резисторы 8 и выводы, осуществлен внутренний монтаж электрической цепи.
4. Принцип действия
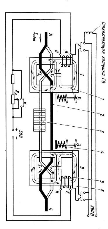
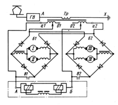
В окна двух магнитных систем 1 (см. рис. 2) клапанного типа пропущены навстречу друг другу два силовых витка, являющихся разветвлениями шины 2, выводы А и Б которой подключаются в силовую цепь электровоза между равнопотенциальными точками двух выпрямительных установок (см. рис. 3). На одну из ветвей шины помещается шихтованный сердечник 3 (см. рис. 2). Обе ветви шины имеют незначительно отличающиеся друг от друга сопротивления, длина их и площадь сечения одинаковы.
Ветвь, в которую включен индуктивный шунт, обладает большим индуктивным сопротивлением. Общий ток Iобщ. распределяется по ветвям шины пропорционально их активным и индуктивным сопротивлениям. Поэтому при протекании общего тока Iобщ, меняющегося во времени, будет иметь место небаланс
I= I1 – I2, который зависит от скорости изменения тока и соотношения индуктивностей в ветвях шины.
Силовые ветви шины пропущены в окна магнитной системы таким образом, что магнитодвижущая сила от тока небаланса
I в одном реле действует в одну сторону, в другом реле – в противоположную.
Магнитодвижущая сила от удерживающей катушки 5 действует на участке якоря 6 при обозначенном направлении протекания силового тока через катушку у реле I встречно с магнитодвижущей силой от тока небаланса
I, а через катушку реле II – согласно. Поэтому при аварии в правой выпрямительной установке со стороны вывода А (к. з. цепи якоря тягового двигателя) резко возрастает ток в направлении от вывода А к выводу Б и вследствие перераспределения тока по ветвям шины увеличивается небаланс
I. Это вызывает срабатывание реле I, которое своими размыкающими контактами замкнет цепь отключающей катушки главного выключателя, В этом случае реле II не срабатывает, так как на участке якоря магнитодвижущая сила от небаланса действует согласно с магнитодвижущей силой, удерживающей катушки.
При аварии в выпрямительной установке со стороны вывода Б ток Iобщ
потечет в направлении от вывода Б к выводу А что вызывает срабатывание реле II (реле I не срабатывает). Обе катушки реле включены на напряжение 50 В последовательно, но с добавочными резисторами Rд.
Одинаковое активное сопротивление ветвей шины 2 необходимо для уменьшения тока естественного небаланса между ветвями, от которого было бы необходимо отстраиваться, увеличивая установку реле.
Реле включается (замыкается якорь) при подаче напряжения 50 В на последовательно соединённые удерживающие катушки, минуя добавочные резисторы Rд, ограничивающие ток. При этом уменьшение тока должно быть достаточно для удержания якоря в притянутом положении. Для регулировки тока в цепи катушек сопротивление добавочного резистора может регулироваться.
5. Текущий ремонт БРД-356
ТР-1.
Проверить состояние реле и шин, счистить от пыли рабочие поверхности магнитопроводов. При появлении на полюсах магнитопроводов ржавчины очистить её мелкозернистой наждачной бумагой. Проверить состояние контактов реле.
ТР-2.
Выполнить ревизию блока. Зачистить поверхности прилегания якоря к полюсу магнитопровода и нижнего пакета к магнитопроводу. Проверить состояние катушек и шин. Места нарушения изоляции катушек залить эпоксидной смолой холодного отверждения. При нарушении покрытия шины восстановить его красной эмалью ГФ-92ХС. Места нарушения покрытия магнитопровода покрыть чёрным лаком.
Проверить чёткость включения реле. Проверить блок. Перечень проверяемых параметров приведён в табл. 1.
Проконтролировать отрывное усилие якорей по центрам сердечников. Замер производить динамометром, усилие которого приложить к якорю по центру сердечников.
Отрегулировать аппарат следующим образом:
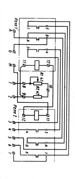
Подайте на выводы 1 (плюс) и Ж (см. рис. 4) напряжение 50 В постоянного тока. Изменяя сопротивление добавочного резистора передвижением движка, установить ток в катушках 0,7 А, после чего затянуть винт движка резистора.
Пропустить через верхние части окон магнипроводов обоих реле провод в направлении, согласном с витков силовой шины, не содержащим шихтованный пакет. Отрегулировать, кратковременно пропуская через провод постоянный ток, изменением усилия пружины 4 ток срабатывания обоих реле 500А. При этом при протекании тока слева направо должно срабатывать первое реле и наоборот (см. рис. 2). После регулировки реле опломбировать.
6. Неисправности и методы их устранения
| Неисправность | Вероятная причина | Метод устранения |
| Аппарат не включается | Обрыв в цепи | Устраните обрыв |
| Неисправность катушки | Замените катушку | |
| Наличие большого зазора между якорем и полюсом | Отрегулируйте зазор согласно техническим требованиям | |
| При форсировке аппарат включается, но не удерживается во включенном положении. | Обрыв в цепи резистора | Устраните обрыв |
| Неисправность резистора | Замените резистор | |
| Ток уставки уменьшился | Межвитковое замыкание в катушке | Замените катушку |
| Нарушение зазоров между якорем и полюсом | Восстановите зазоры припиловкой в соответствии с техническими требованиями | |
| Не переключается блокировка | Нарушена регулировка блокировки | Отрегулируйте блокировку |
| Наличие малого зазора между якорем и полюсом | Отрегулируйте зазор |
7. Охрана труда
1. Все виды производства ремонтных работ; выявление и устранение неисправностей, должны производиться только работниками, получившими после соответствующего испытания право на выполнение этих работ.
2. Испытания и выдача удостоверений на право производства данных работ должны производиться специальной комиссией.
3. Данные работы должны производиться в специально оборудованных помещениях (цехах) заводов, локомотивных ДЕПО и т.д.
4. Запрещается:
производить данные работы не в специально оборудованных помещениях;
производить данные работы лицам, не имеющим доступа, специального образования и разрешения для производства данных работ.
5. При составлении любой аварийной схемы или при устранении какой-либо неисправности строго выполнять требование инструкции по технике личной безопасности.
Список литературы
-
Н.М. Васько, А.С. Девятков, А.Ф. Кучеров и др. «Электровоз ВЛ80С » Москва «Транспорт» 1990 г.
Дополнительные справочные материалы
Рис. 1. Блок дифференциальных реле БРД-356
Рис. 2. Схема БРД-356
1 – магнитная система; 2 – шина; 3 – шихтованный сердечник; 4 – пружина; 5 – катушка; 6 – якорь.
Рис. 3. Схема включения БРД-356
Рис. 4. Схема низковольтной цепи БРД-356
Таблица 1
| Параметр | Инструмент, прибор, оборудование для проверки | Значение параметра |
| Раствор контактов, мм | Штангенциркуль | 4 |
| Провал контактов, мм | Штангенциркуль | 2 |
| Зазор, мм: | ||
| между отключенным якорем и серединой полюса магнитопровода | Штангенциркуль или щуп(шаблон) | 4±0,5 |
| между якорем и основным магнитопроводом в месте шарнира | Штангенциркуль или щуп(шаблон) | 0,02–0,06 |
| в местах прилегания пакета к нижним торцам магнитопроводов не более | Штангенциркуль или щуп(шаблон) | 0,05 |
| Площадь прилегания якоря к сердечнику магнитопровода (по отпечатку на бумаге) не менее, % | ______________ | 65 |
| Запас тягового усилия при притянутых якорях по центрам сердечников при снижении напряжения до 35В на двух соед. последовательно катушках и добавочном резисторе не менее, Н (кгс) | Динамометр | 5 (0,5) |
| Отрывное усилие якоря по центру сердечников, Н (кгс) | Динамометр | 80–100 (8–10) |
| Наименьший ток в катушках, при котором обеспечивается включение обоих реле не более, А | Амперметр | 4,2 |
| Ток установки, А | Амперметр | 550 (+50 -30) |
| Электрическая прочность изоляции, В: | ||
| между силовой шиной и выводом Ж, магнитопроводами 9 (см. рис. 1) | Испытательный трансформатор | 9000 |
| Между выводами А и Б и остальными выводами низковольтной цепи. | Испытательный трансформатор | 2250 |
Характеристики
Тип файла документ
Документы такого типа открываются такими программами, как Microsoft Office Word на компьютерах Windows, Apple Pages на компьютерах Mac, Open Office - бесплатная альтернатива на различных платформах, в том числе Linux. Наиболее простым и современным решением будут Google документы, так как открываются онлайн без скачивания прямо в браузере на любой платформе. Существуют российские качественные аналоги, например от Яндекса.
Будьте внимательны на мобильных устройствах, так как там используются упрощённый функционал даже в официальном приложении от Microsoft, поэтому для просмотра скачивайте PDF-версию. А если нужно редактировать файл, то используйте оригинальный файл.
Файлы такого типа обычно разбиты на страницы, а текст может быть форматированным (жирный, курсив, выбор шрифта, таблицы и т.п.), а также в него можно добавлять изображения. Формат идеально подходит для рефератов, докладов и РПЗ курсовых проектов, которые необходимо распечатать. Кстати перед печатью также сохраняйте файл в PDF, так как принтер может начудить со шрифтами.
















