64055 (573497)
Текст из файла
Размещено на http://www.allbest.ru/
1. ЧАСТОТОМІРИ З ЛОГОМЕТРИЧНИМИ ВИМІРЮВАЛЬНИМИ МЕХАНІЗМАМИ
Частотоміри з електродинамічними, феродинамічними, електромагнітними й магнітоелектричними вимірювальними механізмами, вібраційні частотоміри, застосовуються для виміру низьких частот. Особливо широке поширення одержали електродинамічні й феродинамічні частотоміри. частотомір електромагнітний вібраційний
Рис. 1. Схема електродинамічного частотоміра
Електродинамічний частотомір. Кут повороту будь-якого логометра залежить від відношення струмів. Якщо ці струми або один з них зробити частотно-частотно-залежними, то логометр може служити частотоміром.
Одна з можливих схем електродинамічного частотоміра представлена на рис. 1. До приладу підводить напруга вимірюваної частоти. Котушки логометра включаються в частотно-частотно-залежні ланцюги: котушки А и Б1 — послідовно з коливальним контуром, що складається з L і С1, і додатковим резистором Rд; котушка Б2 включена послідовно з конденсатором С2. На резонансній частоті значення струму I1 максимально. Зі зміною частоти струм зменшується, змінюється також і кут зрушення між струмами I1 й I2. Таким чином, кут повороту рухливої частини, обумовлений для електродинамічного логометра рівнянням, залежить від частоти. Шкала приладу градуюється безпосередньо в герцах.
Електродинамічні частотоміри випускаються різних класів точності, аж до 0,5. Межі їхнього виміру звичайно становлять ±10% деякого середнього значення, що звичайно лежить у діапазоні від 50 до 1500 Гц.
Випрямний частотомір. Випрямний частотомір, схема якого представлена на мал. 2, складається з магнітоелектричного логометра й двох випрямлячів, що харчують його обмотки.
Рис. 2. Схема випрямного частотоміра
У ланцюг першої обмотки логометра включена індуктивність L й ємність С, у ланцюг другої обмотки - активний опір R. Опір першої галузі, що включає реактивні опори, індуктивності і ємності, залежить від частоти, опір другої галузі від частоти не залежить. Струми, як відомо, обернено пропорційні опорам тих ланцюгів, по яких вони протікають. Отже, у рівнянні рухливої частини магнітоелектричного логометра відношення струмів можна замінити відношенням опорів:
де Z1 — повний опір першої галузі.
Оскільки величина Z1 залежить від частоти, кут повороту рухливої частини логометра також залежить від частоти й прилад може використатися для її виміру.
Найчастіше випрямні частотоміри випускаються у вигляді самописних приладів з межами вимірів порядку 45-55 Гц і звичайно мають клас точності 2,5.
2. ВИМІРЮВАЛЬНІ МЕХАНІЗМИ ВІБРАЦІЙНОЇ СИСТЕМИ
Вібраційні вимірювальні механізми (язичкові) є різновидом електромагнітної системи. Вони застосовуються в частотомірах, призначених для виміру низької частоти, головним чином промислової.
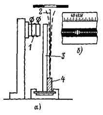
Рис. 3. Пристрій вібраційного частотоміра
Схема пристрою вібраційного частотоміра показана на рис. 3, а. Обмотка електромагніта 1 живиться змінним струмом, частоту якого потрібно виміряти. Тонкі сталеві пластини 2, називані язичками (на рисунку видний тільки один язичок), укріплені на загальній планці 4. Ця планка жорстко скріплена з якорем 3, розташованим поблизу сердечника електромагніта. Язички мають різні частоти власних коливань. Для зручності спостереження їхні загнуті наконечники пофарбовані світлою фарбою.
Під дією змінного магнітного поля якір двічі за період притягається до сердечника й відходить від нього. Разом з якорем вібрують язички. Найбільшої буде амплітуда коливань того язичка, у якого частота власних коливань збігається із частотою змушених. На шкалі приладу поруч із кожним, язичком зазначена частота, з якої він резонує. Для спостерігача коливний язичок має вигляд білої смужки, по якій і відраховують показання. На рис. 3, б показаний вид шкали, коли вимірювана частота дорівнює 49 Гц. Вібраційні частотоміри, як правило, мають невеликі межі виміру, наприклад від 45 до 55 Гц. Точність їх визначається в основному точністю настроювання язичків. Вібраційні частотоміри звичайно мають погрішність порядку ±1%. Ці прилади можуть використатися тільки в стаціонарних умовах, тому що частота зовнішніх вібрацій може збігатися із власною частотою окремих язичків, що викликає резонанс й, отже, неправдиві свідчення.
3. ГЕТЕРОДИННИЙ ЧАСТОТОМІР
Недоліком найпростішого гетеродинного частотоміра, що складає із градуйованого гетеродина й детектора, є його порівняно низька точність виміру частоти, складова трохи сотих відсотка. Це порозумівається відсутністю в схемі можливості періодичної перевірки градуйовки гетеродина за допомогою більше стабільного генератора.
Більше зроблений гетеродинний частотомір додатково містить кварцовий генератор і підсилювач низької частоти (рис. 4). Кварцовий генератор служить для перевірки градуйовки гетеродина частотоміра на фіксованих частотах, що відповідають гармонікам кварцового генератора. Підсилювач низької частоти призначений для підвищення чутливості виявлення звукових і нульових биттів.
Для зменшення температурних погрішностей у контури гетеродина й кварцового генератора звичайно включають температурні компенсатори у вигляді додаткових конденсаторів з негативним температурним коефіцієнтом.
Подібну схему має гетеродинний частотомір промислового типу Ч4-1, що одержав широке поширення.
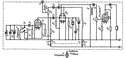
Спрощена принципова схема цього частотоміра зображена на рис. 5, а його лицьова панель керування - на рис. 6.
Плавний гетеродин частотоміра, зібраний на лампі Л1 має два діапазони основної частоти — перший 125-250 кГц і другий 2-4 МГц. Перехід від одного діапазону до іншого здійснюється перемикачем П1 перемикаючої котушки індуктивності L1 й L2.
Рис. 4. Блок-схема приладу Ч4-1
Настроювання контуру гетеродина здійснюється змінним конденсатором С1. Точність установки частоти підвищується завдяки великій кількості розподілів шкали конденсатора (5000 розподілів). Конденсатор C10 компенсує зміни частоти генератора при зміні температури.
Використання вищих гармонік гетеродина дозволяє перекрити загальний діапазон частотоміра від 125 кГц до 20 МГц, при цьому в першому діапазоні використається 1, 2, 4 й 8-а гармоніки, а в другому - 1, 2, 4 і частково 5-а гармоніки. Наприклад, якщо основна частота гетеродина, тобто його 1-а гармоніка, дорівнює 125 кГц, те його 2-а гармоніка дорівнює 250 кГц, 4-а - 500 кГц й 8-а - 1000 кГц.
При плавній зміні основної частоти до 126 кГц її вищі гармоніки відповідно будуть рівні 252, 504 й 1008 кГц. Отже, якщо 1-а гармоніка перекриє діапазон частот від 125 до 250 кГц, то 2-а перекриє від 250 до 500 кГц, 4-а - від 500 до 1000 кГц й 8-а від 1000 до 2000 кГц. Подібним же чином перекривається другий діапазон гетеродина від 2 до 20 МГц при включенні іншої котушки індуктивності.
Рис. 5. Спрощена схема частотоміра Ч4-1
Рис. 6. Лицьова панель керування приладом Ч4-1
Кварцовий генератор частотоміра виконаний на правій половині подвійного тріода Л2. Коливальний контур генератора утворять індуктивність котушки L3, еквівалентна індуктивності Lэ кварцу, і міжелектродна ємність анод — сітка. За допомогою підстроєчного конденсатора С7 виробляється точне настроювання генератора на частоту 1 МГц при його калібруванні по стандарті частоти.
Конденсатор С11 компенсує відхилення частоти контуру зі зміною температури.
Кварцовий генератор із глибоким позитивним зворотним зв'язком, крім основної частоти 1 МГц, дає велика кількість гармонік, використовуваних як зразкові частоти при перевірці градуйовки частотоміра.
Перевірка градуйровки гетеродина частотоміра виробляється методом нульових биттів по гармоніках кварцового генератора. Наприклад, на основній частоті плавного гетеродина 200 кГц нульові биття виходять між його 5-ю гармонікою й 1-ю гармонікою кварцового генератора.
Змішувач, зібраний на лівій половині подвійного тріода Л2, зв'язаний за допомогою конденсаторів С4, С5 і С6 з кожним із трьох джерел порушення: досліджуваним джерелом коливань, плавним гетеродином і кварцовим генератором.
Коливання досліджуваного генератора або радіопередавача подаються на керуючу сітку змішувача від спеціального гнізда А частотоміра. На це ж гніздо надходять коливання плавного гетеродина й кварцового генератора у випадку використання частотоміра для перевірки градуйовки радіоприймача.
Регулювання рівня досліджуваного сигналу на вході змішувача здійснюються за допомогою резистора R3 (Вхід ВЧ). Залежно від положення перемикача У72 на вхід змішувача одночасно можуть бути подані тільки дві які-небудь частоти.
При лівому положенні перемикача П2 Гетеродин (рис. 5) на вхід змішувача подається частота плавного гетеродина й джерела коливань вимірюваної частоти.
При середнім положенні перемикача Перевірка до змішувача разом із частотою плавного гетеродина підводить для перевірки його градуйовки частота кварцового генератора. Підстроювання плавного гетеродина здійснюється за допомогою конденсатора С2 Корекція.
При правому положенні перемикача Кварц прилад використається як кварцовий калібратор при перевірці градуйовки досліджуваного джерела коливань високої частоти або радіоприймача на частотах, що збігаються з гармоніками кварцового генератора. У першому випадку на змішувач подається напруга від джерела, що перевіряє, і гармоніки кварцового генератора, а в другому - приймач настроюється на гармоніки кварцового генератора.
Підсилювач низької частоти частотоміра, призначений для посилення коливань різницевої частоти, виділюваних змішувачем, виконаний на пентоді Л3, що працює в тріодному режимі. Ручне регулювання гучності здійснюється за допомогою потенціометра R7 Посилення.
Живлення частотоміра виробляється напругою мережі 110-127-220 В, частотою 50 Гц через випрямляч або ж від джерела постійного струму напругою 120 й 6 В.
Основні технічні характеристики частотоміра Ч4-1 наступні:
-
Діапазон вимірюваних частот 125 кГц - 20 МГц (I - від 125 кГц до 2 МГц й II - від 2 до 20 МГц.).
-
Погрішність виміру частоти при нормальних умовах експлуатації приладу не перевищує на першому діапазоні 50 Гц і на другому 400 Гц.
-
Нестабільність кварцового генератора при нормальних умовах експлуатації 10-6.
-
Нестабільність частоти плавного гетеродина після попереднього прогріву не перевищує за 5-7 хв. на максимальній частоті першого діапазону 8∙10-5 і найбільшій частоті другого діапазону 5∙10-6.
Відлік частоти при вимірах виробляється по градуйовочної книзі, що є невід'ємною частиною приладу.
У додатку 4 приводиться зразок однієї зі сторінок градуйовочної книги гетеродинного частотоміра Ч4-1.
Колонки основних частот гетеродина і їхніх використовуваних гармонік у градуйовочних книгах друкуються заздалегідь. Значення відліку по лімбі конденсатора настроювання плавного гетеродина вносяться в книгу кожного екземпляра приладу в процесі його заводський градуйовки.
У лівому нижньому куті сторінки зазначені найближча кварцова перевірочна крапка, використовувана для перевірки плавного гетеродина.
У правому нижньому куті сторінки наведені дані для знаходження виправлень, тобто для їхнього перекладу зі значень відліку в герци й навпаки.
4. ЦИФРОВІ ЧАСТОТОМІРИ
У цей час цифрові вимірники частоти й інтервалів часу становлять найбільш численну групу серед ЦИП. Вони зручні в експлуатації й відрізняються високою точністю (погрішність близько 10-6 і менш). Сучасні цифрові частотоміри виконуються на напівпровідникових приладах й інтегральних схемах, що підвищило їхню надійність у порівнянні з першими ламповими зразками, зменшило габарити й споживану потужність.
Цифрові частотоміри (часто називають також електронно-рахунковими частотомірами) використовують час-імпульсне перетворення, що є різновидом число-імпульсного методу.
Характеристики
Тип файла документ
Документы такого типа открываются такими программами, как Microsoft Office Word на компьютерах Windows, Apple Pages на компьютерах Mac, Open Office - бесплатная альтернатива на различных платформах, в том числе Linux. Наиболее простым и современным решением будут Google документы, так как открываются онлайн без скачивания прямо в браузере на любой платформе. Существуют российские качественные аналоги, например от Яндекса.
Будьте внимательны на мобильных устройствах, так как там используются упрощённый функционал даже в официальном приложении от Microsoft, поэтому для просмотра скачивайте PDF-версию. А если нужно редактировать файл, то используйте оригинальный файл.
Файлы такого типа обычно разбиты на страницы, а текст может быть форматированным (жирный, курсив, выбор шрифта, таблицы и т.п.), а также в него можно добавлять изображения. Формат идеально подходит для рефератов, докладов и РПЗ курсовых проектов, которые необходимо распечатать. Кстати перед печатью также сохраняйте файл в PDF, так как принтер может начудить со шрифтами.
















