62672 (573321)
Текст из файла
1.Пайкой называется процесс соединения материалов в твердом состоянии путем введения в зазор легкоплавкого металла - припоя, взаимодействующего с основными материалами и образующего жидкую металлическую прослойку, кристаллизация которой приводит к образованию паяного шва. Из определения следует:
-
пайка происходит при температурах, существенно меньших температур плавления соединяемых материалов, что уменьшает их перегрев;
-
возможно соединение как металлических, так и неметаллических материалов;
-
в зоне контакта должен образовываться промежуточный слой, состоящий из припоя и продуктов его взаимодействия с паяемыми материалами.
Для образования качественного паяного соединения необходимо:
-
подготовить поверхности соединяемых деталей;
-
активировать материалы и припой;
-
удалить окисные пленки в зоне контакта;
-
обеспечить взаимодействие на межфазной границе раздела;
-
создать условия для кристаллизации жидкой металлической прослойки.
Подготовка поверхностей деталей к пайке включает механическую, химическую или электрохимическую очистки от окислов, загрязнений органического и минерального происхождения, а также нанесение покрытий, улучшающих условия пайки или повышающих прочность и коррозионную стойкость паяных соединений.
При монтаже электронной аппаратуры применяют как методы непосредственного соединения контактируемых материалов, осуществляемые под воздействием давления (накрутка, обжатие), тепла и давления (различные методы сварки), давления и физического воздействия (УЗ сварка), так и методы с использованием промежуточного материала виде припоя (пайка), токопроводного клея (склеивание) под действием давления, тепла и физических методов активации.
Паяные электрические соединения нашли самое широкое применение при монтаже ЭА вследствие следующих достоинств: низкого и стабильного электрического сопротивления, широкой номенклатуры соединяемых металлов, легкости автоматизации, контроля и ремонта. Процессы пайки легкоплавкими припоями широко используются при монтаже печатных и проводных плат, герметизации корпусов полупроводниковых приборов и гибридных ИМС, сборки керамических конденсаторов, поверхностно-монтируемых элементов. Недостатки паяных соединений связаны с высокой стоимостью используемых цветных металлов, необходимостью удаления остатков флюса, низкой термостойкостью, снижением прочности в результате термического старения.
Паяные соединения должны обладать высокой электропроводностью и постоянным переходным электросопротивлением в заданных условиях эксплуатации, конструкторской документации на конкретные сборки и блоки аппаратуры требование постоянства переходного сопротивления к паянным сопротивления должно выражаться в численных значениях, заданных разработчиком при проектировании изделия. При его изготовлении это значение переходного сопротивления будет одним из основных критериев объективной оценки качества паяных соединений.
Вторым по значимости является требование достаточной механической прочности, которая в зависимости от эксплутационных нагрузок должна устанавливаться расчетным путем по сопротивлению отрыву. Численные значения сопротивления отрыву не вносятся разработчиком в конструкторскую документацию на конкретные изделия и вызывают в производстве ЭА серьезные разногласия между заинтересованными инстанциями при оценке качества и надежности электромонтажных соединений.
В конструкции паяных соединений между поверхностями сопрягаемых монтажных элементов должны предусматриваться оптимальные зазоры, определяемые прежде всего составом выбранного припоя и особенностями процесса пайки. Оптимальный зазор при пайке в отверстия оловянно-свинцовыми припоями должен устанавливаться данным соотношением:
do=dв +(0,2...0,3),
где d0, dв - диаметры металлизированного отверстия и вывода ЭРЭ.
Фактически зазоры выполняются превышающими 0,4 мм; при этом не учитывается, что удельное электросопротивление оловянно-свинцовых припоев почти в 10 раз больше, чем у меди. С увеличением зазоров возрастает переходное сопротивление паяных соединений и расход дефицитных высокооловянных припоев, снижается механическая прочность, растет число усадочных раковин и увеличивайся затраты ручного труда на устранение дефектов. Эти факторы, а также законы смачивания и капиллярного заполнения зазоров припоями должны приниматься в расчет при оптимизации зазоров.
Электромонтажные соединения (рис. 1 а, б) должны проектироваться с обеспечением возможности визуального контроля паяного шва на всем его протяжении. Для печатного монтажа с металлизированными отверстиями (рис. 1 в) галтели шва каждого из паяных соединений располагаются с обеих сторон печатной платы, и требование свободного доступа для двустороннего их осмотра приобретает особо важное значение. Невыполнение этого требования на этапе проектирования соединения ведет к производству заведомо ненадежных в эксплуатации изделий, ибо не позволяет обнаружить дефектные паяные соединения и произвести их ремонт.
Паяные швы электромонтажных соединений должны быть без избытка припоя, преимущественно скелетную форму с вогнутыми и непрерывными галтелями припоя по всему периметру соединения (рис. 1 г).
Рис. 1. Формы паяных изделий
Скелетная форма в отличие от заливной позволяет видеть контуры паяных соединений и с большей достоверностью оценивать качество монтажных соединений при их визуальном контроле.
Соединения пустотелых заклепок, лепестков, стоек и подобных конструктивных деталей с контактными площадками или печатными проводниками, выполненных методом развальцовки или расклепки, должны быть пропаяны по всему периметру развальцовки или расклепки.
Поверхность галтелей припоя швов должны быть гладкой, глянцевой или светло-матовой без темных пятен, трещин, крупных пор, грубозернистости, без игольчатых и дендритных образований, наплывов, брызг и выступов припоя, уменьшающих минимально допустимое расстояние между соединениями контактными площадками и печатным проводниками.
Конструкция паяных электромонтажных соединений при любой компоновке вариантах установки отдельных ЭРЭ на печатные платы должны обладать высокой ремонтопригодностью. Паяные соединения в отличии от сварных наиболее полно удовлетворяют этому требованию и обеспечивают быструю и неоднократную взаимозаменяемость отдельных элементов ЭРЭ без повреждения их выводе и элементов печатного монтажа. Однако высокая ремонтопригодность паяных соединений может не реализоваться из-за просчетов, допускаемых при компоновке и выборе конструктивных вариантов установки ЭРЭ на печатные платы, или из-за стремления любой ценой обеспечить высокую плотность монтажа.
Процессы контроля при монтаже ЭА включают:
- проверку соединяемых материалов на паяемость,
- контроль технологических режимов,
- оценку качества соединений.
Паяемость характеризует способность паяемого материала вступать в физико-химическое взаимодействие с расплавленным припоем и образовывать надежное паяное соединение. Паяемость, зависит от физико-химической природы металлов способа и режимов пайки, флюсующих сред, условий подготовки паяемых поверхностей.
Поскольку для образования спая необходимо и достаточно смачивания поверхности основного металла расплавом припоя, то это гарантирует паяемость с физической точки зрения, а с технологической - условие соблюдения режимов процесса пайки. Паяемость металлов оценивают несколькими методами:
1) замером площади растекания припоя и определением коэффициента растекания Кр:
где SP - площадь растекания; So - площадь дозы припоя (рис.2);
Рис.2. Схема растекания капли припоя
2
) определением Кр по высоте капли растекшегося припоя:
где Но, Нр - высота капли припоя до и после растекания.
-
краевым углом смачивания ();
-
по высоте или времени подъема припоя в капиллярном зазоре;
-
по величине усилия, действующего на образец основного металла, погружаемого в припой.
Высота капли до растекания находится из условия несмачивания поверхности:
где р - плотность припоя; g - ускорение силы тяжести.
Для измерения высоты капли припоя после растекания разработан прибор, в основу которого положен принцип бесконтактного измерения с помощью индук-тивного преобразователя (рис.3).
Рис.3. Схема прибора для измерения высоты капли растекшегося припоя
Контроль качества предусматривает следующие виды оценки паяных соединений:
- по внешнему виду с использованием эталона паяного соединения с углом смачивания порядка 5-10°С при 100% контроле;
- прочности соединений на отрыв при выборочном контроле на образцах-свидетелях;
- переходного сопротивления контакта выборочно для различных проводников;
-
надежности соединения путем определения интенсивности отказов в течение заданного срока испытаний.
Критериями оценки прочности паяных соединений являются: величина усилия отрыва, устойчивость соединений при воздействии знакопеременных нагрузок и вибропрочность.
Дефекты в паяных соединениях: поры, раковины, трещины могут быть обнаружены с помощью телевизионно- рентгеновского микроскопа МТР-3 либо ультразвуковым контролем.
Определенная часть дефектов, иногда до 60% от общего числа, может быть выявлена методом модуляции электрического сигнала. Метод основан на свойстве дефектов паяных соединений служить модуляторами сигнала.
Одним из перспективных методов объективного контроля паяных соединений является оценка температурного перепада соединений. Благодаря этому методу обнаруживаются зоны локальных перегревов, соответствующие дефектным паяным соединениям, которые имеют температуру на 1-50С выше номинальной.
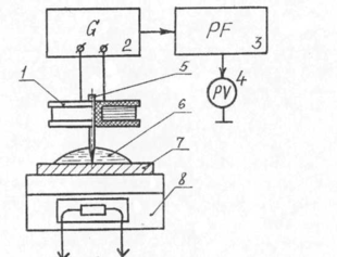
Повышение качества контроля паяных соединений достигается путем применения лазерной системы контроля дефектов (рис.4).
Рис.4. Схема лазерного контроля паяных соединений
За счет этой системы удается контролировать около десяти паяных соединений в секунду, которые расположены на расстоянии 1,25 мм друг от друга.
2. Технология магнитных дисков (МД) является сложной: объединяет сотни операций, выполняемых на нескольких десятках единиц нестандартного технологического оборудования; многие параметры, режимы и условия ведения процессов изготовления МД являются производственными секретами фирм-изготовителей МД.
Наиболее часто основа жестких МД изготовляется из листового проката легких сплавов. Механические свойства используемых материалов существенно влияют на физико-механические и прочностные характеристики МД. Выбор материалов для изготовления основы МД весьма ограничен в связи с многообразием и противоречивостью предъявляемых к ним требований. После отказа от МД на основе чистого алюминия, стекла и керамики остановились на применении в качестве основы МД алюминиевых сплавов и листового проката сплавов других легких металлов, в частности магния.
Предпочтение в настоящее время отдается алюминиевым, а не магниевым сплавам, так как последние недостаточно однородны по химическому составу, имеют высокие значения коэффициента теплового расширения и нетехнологичны при обработке.
Характеристики
Тип файла документ
Документы такого типа открываются такими программами, как Microsoft Office Word на компьютерах Windows, Apple Pages на компьютерах Mac, Open Office - бесплатная альтернатива на различных платформах, в том числе Linux. Наиболее простым и современным решением будут Google документы, так как открываются онлайн без скачивания прямо в браузере на любой платформе. Существуют российские качественные аналоги, например от Яндекса.
Будьте внимательны на мобильных устройствах, так как там используются упрощённый функционал даже в официальном приложении от Microsoft, поэтому для просмотра скачивайте PDF-версию. А если нужно редактировать файл, то используйте оригинальный файл.
Файлы такого типа обычно разбиты на страницы, а текст может быть форматированным (жирный, курсив, выбор шрифта, таблицы и т.п.), а также в него можно добавлять изображения. Формат идеально подходит для рефератов, докладов и РПЗ курсовых проектов, которые необходимо распечатать. Кстати перед печатью также сохраняйте файл в PDF, так как принтер может начудить со шрифтами.















