125383 (566732)
Текст из файла
Кафедра «Промышленная теплоэнергетика»
Расчетно-графическая работа №1
Расчет пылеуловительной установки
Студент группы 05-ПТЭ
Тимошенко О.С.
Преподаватель, к.т.н., доц.
Лагерева Э.А.
Брянск 2009
Задание
Рассчитать пылеуловительную установку для очистки воздушного потока, состоящую из прямоточного циклона и батарейного циклона.
Исходные данные:
Параметры запыленного газа:
Расход
,
Запыленность
,
Плотность
Динамическая вязкость
Фракционный состав частиц:
;
Плотность частиц:
.
Расчет установки с батарейным циклоном
1. Определяем расход газа, при котором обеспечиваются оптимальные условия работы циклонного элемента
, где
D - внутренней диаметр элемента (250 мм),
wопт. - оптимальная скорость потока в элементе (wопт.=4,5м/с).
2. Определяется число циклонных элементов, необходимых для оптимальных условий работы батарейного циклона
Принимаем число циклонных элементов n=60 и ставим 2 параллельно включённых циклона ЦБ – 254Р.
3. Определяется действительная скорость в элементе
.
4. Рассчитываются потери давления в батарейном циклоне
.
- коэффициент сопротивления циклона ЦБ – 254Р,
=90.
5. Определяем коэффициент очистки газа в циклоне
, где
dт50, lg
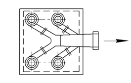
- технические характеристики циклона; тип элемента – винт (рис.4.)
dт50=4,5 мкм;, lg
=0,46
Для х=1,03 - функция Гаусса Ф(х)=0,8461.
.
Расчет установки с циклоном НИИОГаз
1. Расчет ведем на основе цилиндрического циклона типа ЦН-15
2. Оптимальная скорость газа в элементе
,
Рекомендуемый диапазон диаметров циклона: D=800; 900; 1000; 1200; 1400; 1600; 1800; 2000 мм,
Коэффициент гидравлического сопротивления диаметром 500 мм:
.
3. Вычисляем диаметр циклона:
;
Принимаем 4 параллельно включенных циклона D=1600 мм
Определяем действительную скорость движения газа в циклоне:
;
Действительная скорость газа в циклоне не должна отличаться от оптимальной более чем на 10%.
,
поэтому устанавливаем четыре циклона диаметром 1600 мм.
Потеря давления в группе циклонов определяется по формуле:
,
где
,
к1 – поправочный коэффициент на влияние диаметра циклона; к1=1 если D>500мм
к2 – поправочный коэффициент на запыленность газа, к2=0,925
к3 – коэффициент учета дополнительных потерь давления при компоновке циклонов в группу, к3=35.
;
;
7. Определяем коэффициент очистки запыленного воздушного потока:
7.1 Рассчитываем диаметр частиц, улавливаемых в циклоне со степенью очистки
:
7.2 Рассчитываем вспомогательный параметр х:
7.3 Определяем нормированное значение функции Гаусса:
Ф(х)=0,7881
7.4 коэффициент очистки запыленного воздушного потока:
Результаты электронного расчета пылеуловительной установки
| Тип циклона | Диаметр, мм | Количество | Потери давления, кПа | Коэффициент очистки |
| ЦН-15 | 1600 | 4 | 1,5 | 0,903 |
| ЦН-15У | 1600 | 2 | 1,7 | 0,881 |
| ЦН-24 | 1400 | 4 | 1,6 | 0,863 |
Рис. 1. Схема цилиндрического циклона типа ЦН-15
Рис.2. Схема компоновки циклонов ЦН-15
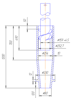
Рис.3. Блок циклонов типа ЦБ – 254Р.
Рис.4. Циклонные элементы батарейных циклонов с направляющим аппаратом типа «винт».
Характеристики
Тип файла документ
Документы такого типа открываются такими программами, как Microsoft Office Word на компьютерах Windows, Apple Pages на компьютерах Mac, Open Office - бесплатная альтернатива на различных платформах, в том числе Linux. Наиболее простым и современным решением будут Google документы, так как открываются онлайн без скачивания прямо в браузере на любой платформе. Существуют российские качественные аналоги, например от Яндекса.
Будьте внимательны на мобильных устройствах, так как там используются упрощённый функционал даже в официальном приложении от Microsoft, поэтому для просмотра скачивайте PDF-версию. А если нужно редактировать файл, то используйте оригинальный файл.
Файлы такого типа обычно разбиты на страницы, а текст может быть форматированным (жирный, курсив, выбор шрифта, таблицы и т.п.), а также в него можно добавлять изображения. Формат идеально подходит для рефератов, докладов и РПЗ курсовых проектов, которые необходимо распечатать. Кстати перед печатью также сохраняйте файл в PDF, так как принтер может начудить со шрифтами.
















