124861 (566715)
Текст из файла
Белорусский государственный университет информатики и радиоэлектроники
Кафедра инженерной графики
Отчет по лабораторной работе № 2
Исследование винтового механизма (передачи винт-гайка)
Выполнили: Проверил:
Студенты группы № 810701 Вышинский Н. В
Селезнев А.А.
Душевский А. И
Кравцов В. Э
Гарбуз И. И
Минск 2009
Цель работы:
Ознакомиться с винтовыми механизмами.
Определить зависимость коэффициента полезного действия винтовой пары от величины осевой и эксцентричной нагрузки на гайку.
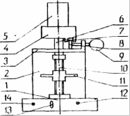
Кинематическая схема установки
1 - основание,
2 - стойка,
4 - редуктор,
5 - электродвигатель,
6 - приводной вал,
7 - рычаг,
8 - плоская пружина,
9 - индикатор,
10 - винт,
11 - гайка,
12 - сигнальная лампа,
13 - тумблер,
14 - кнопка.
Теоретический КПД определим по формуле:
= tg / tg( + т),
где - угол подъема винтовой линии; т - приведенный угол трения.
Для резьбы приведенный угол трения
т = arctg f = arctg [f / cos( / 2)],
где f - приведенный коэффициент трения скольжения; f - коэффициент трения скольжения между материалами винта и гайки; - угол профиля резьбы.
При этом: tg γ = p / (πd2), р = 2мм; d2 = 13 мм; угол трения ρ = arctg [f / cos(α / 2)], где
f = 0,1 - коэффициент трения скольжения для пары сталь-бронза; α = 30º - угол профиля трапецеидальной резьбы.
Действительный КПД при проведении экспериментов определяют по формуле
ηд = Ту / Тд,
где Ту - необходимый для осуществления движения гайки уравновешивающий момент, действующий в перпендикулярной к оси винта плоскости, Тд - крутящий момент на валу двигателя, который определяется по формуле
Тд = k·μ, [Нмм],
путем измерения показаний индикатора.
Необходимый для движения гайки момент Ту при осевой нагрузке силой Q должен быть
Ту = Q·tg(γ+ρ) ·(d2/2).
Величину действительного КПД ηд для выбранного значения плеча а определяют по формуле
ηд = Ту / Тд,
Вращающий момент Тд электродвигателя рассчитывают по формуле
Тд = k·μ, [Нмм],
Необходимый для движения гайки вращающий момент Ту при эксцентрично расположенной нагрузке Q и приложенной к гайке на расстоянии а должен быть
,
где f - коэффициент трения скольжения в винтовой паре (f = 0,1); Н - высота гайки (Н = 26 мм); ρ - угол трения; γ - угол подъема винтовой линии; d2 - средний диаметр резьбы (d2 = 13 мм).
Результаты проведенных экспериментов занесем соответственно в таблицу 1 и таблицу 2:
Таблица 1
| Q Н | k | Тд мм*Н | Ту мм*Н | ŋд% | |
| 1 | 5 | 3.5 | 10.5 | 5.03 | 48 |
| 2 | 10 | 6 | 18 | 10.06 | 56 |
| 3 | 15 | 6 | 18 | 15.09 | 84 |
Таблица 2
| а мм | К | Тд мм*Н | Ту мм*Н | ŋд% | ŋ% | |
| 1 | 50 | 17.6 | 52.8 | 22.575 | 43 | 14 |
| 2 | 60 | 18.7 | 56.1 | 25.075 | 41 | 13 |
| 3 | 80 | 26 | 78 | 30.075 | 39 | 11 |
| 4 | 100 | 36.5 | 109.5 | 35.075 | 32 | 9 |
Вывод
Достоинства винтовых передач - простота конструкции, компактность, надежность в работе, большая плавность и точность перемещения, возможность получения самотормозящейся передачи и доступность изготовления винтовой пары на любом производстве.
К недостаткам винтовых передач относят наличие больших потерь на трение, а следовательно, большой износ и низкий КПД.
КПД прямо пропорциональна Q, и обратно пропорциональна “а”.
Литература
1. Лабораторный практикум по курсу "Техническая механика".
Характеристики
Тип файла документ
Документы такого типа открываются такими программами, как Microsoft Office Word на компьютерах Windows, Apple Pages на компьютерах Mac, Open Office - бесплатная альтернатива на различных платформах, в том числе Linux. Наиболее простым и современным решением будут Google документы, так как открываются онлайн без скачивания прямо в браузере на любой платформе. Существуют российские качественные аналоги, например от Яндекса.
Будьте внимательны на мобильных устройствах, так как там используются упрощённый функционал даже в официальном приложении от Microsoft, поэтому для просмотра скачивайте PDF-версию. А если нужно редактировать файл, то используйте оригинальный файл.
Файлы такого типа обычно разбиты на страницы, а текст может быть форматированным (жирный, курсив, выбор шрифта, таблицы и т.п.), а также в него можно добавлять изображения. Формат идеально подходит для рефератов, докладов и РПЗ курсовых проектов, которые необходимо распечатать. Кстати перед печатью также сохраняйте файл в PDF, так как принтер может начудить со шрифтами.















