124034 (566703)
Текст из файла
Министерство науки и образования Украины
Донбасская государственная машиностроительная академия
Кафедра АПП
Лабораторная работа №1
Основы компьютерно-интегрированного управления
Разработка регулятора температуры обратной воды калорифера
Краматорск
Создание первого проекта
Цель работы: получение студентами навыков работы в ИС программирования КОНГРАФ.
| № п/п | Датчик температуры | Диапазон регулирования температур | Постоянная Времени, сек | Гистерезис, °С |
| 9 | T100 ohm Ni (3 wires) | От +7°С до +86°С | 1,9 | 34 |
Ход работы
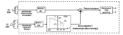
В процессе выполнения лабораторной работы был разработан небольшой проект регулятора температуры обратной воды калорифера в зависимости от температуры наружного воздуха. В данном случае объектом управления является калорифер, с помощью которого обогревается помещение. Теплоносителем служит горячая вода, подаваемая в калорифер. Возмущающим воздействием является температура наружного воздуха, поступающего в калорифер. Необходимо автоматически поддерживать заданную температуру воздуха в помещении в зависимости от температуры приточного воздуха с помощью автоматического регулятора. Структурная схема алгоритма регулятора температуры горячей воды калорифера в зависимости от температуры наружного воздуха представлена на рисунке 1.
Рисунок 1- Структурная схема алгоритма регулятора температуры обратной воды калорифера в зависимости от температуры наружного воздуха
Шаг1. Создание структуры проекта
Главный блок проекта алгоблок MC8-Controller представлен на рисунке 2.
Рисунок 2- Главный блок проекта алгоблок MC8-Controller
Совокупность блоков MC8 и MR8 представлена на рисунке 3.
Рисунок 3 - Блоки приборов MC8 и MR8
Шаг 2. Построение алгоритма работы контроллера MC8
После удаления неиспользуемых входов и выходов блок прибора примет такой вид приведенный ниже.
Рисунок 4 - Блок прибора MC8 после удаления избыточных деталей
Произведем настройку алгоритма работы котроллера МС8.
Рисунок 5 - Алгоритм работы контроллера MC8 (открытое окно блока прибора MC8)
Внутренняя функциональность блоков ОбрВода и НаружВоздух представлена на рис.6.
Рисунок 6 - Комплексные ФБ “ОбрВода” и “НаружВоздух”
Шаг 3. Настройка алгоритма работы контроллера MC8
После того как алгоритм проекта построен, нужно ввести настроечные параметры в необходимые функциональные блоки.
Так, для компараторов верхнего уровня в комплексных блоках “Обр.вода” и “Наруж.возд.” значение верхнего предела установить равным 88°C (открыть комплексный блок “Обр.вода” (“Наруж.возд.”) Properties блока UP CMP вкладка Parameters установить параметр Value переменной XUP в значение, равное 88. Можно проставить галочку в поле Constant, но тогда этот параметр нельзя будет ввести в какой-либо список и, соответственно, нельзя наблюдать/изменять из программы Console или SCADA-системы). Значение гистерезиса HYS на этой же вкладке установить, равным константе 33.
Аналогично, для компараторов нижнего уровня в комплексных блоках “Обр.вода” и “Наруж.возд.” значение нижнего предела установить равным +8°C и значение гистерезиса HYS - константе 33.
Постоянные времени фильтров установить, равными 1.8 сек. (открыть комплексный блок “Обр.вода” (“Наруж.возд.”) Properties блока FILTER вкладка Parameters установить параметр Value переменной TF в значение 1.8, можно поставить галочку в поле Constant, Units = sec).
Настроим блок задания температуры обратной воды от температуры наружного воздуха PLAN. Для этого нужно ввести точки графика: температуре X1 = -26°C соответствует Y1 = 84°C, температуре X2 = 8°C соответствует Y2 = 37°C, а при температуре X0 = 4°C величина излома графика Y0 = 5°C.
Шаг 4. Построение алгоритма работы модуля релейного MR8
По аналогии с изменением изображения модуля MC8 изменим изображение блока релейного модуля MR8 для большей наглядности. В результате алгоблок модуля релейного MR8 примет следующий вид (рис.7).
Рисунок 7 - Блок прибора MR8 после удаления избыточных деталей
Модуль MR8 применяется здесь в качестве обыкновенного усилителя входных сигналов для их подачи непосредственно на КЗР. Входы модуля DI[1] и DI[2] нужно передать без изменения на выходы DO[1] и DO[2], соответственно. Для этого между входами и выходами вставлены простейшие ФБ цифровых уставок SET B (рис.8).
Рисунок 8 - Алгоритмический блок модуля релейного MR8.
Шаг 5. Создание списков переменных для их отображения в программе console и/или scada-системе
Введем основные переменные нашего проекта в списки. Тогда эти списки, как и переменные, сгруппированные в них, можно просмотреть при помощи программы Console. При использовании SCADA-системы списки и переменные можно также просмотреть на технологической мнемосхеме проекта (возможно, по сети Internet или Intranet).
Для этого проделаем следующие шаги:
Создадим два списка: “Температуры” и “PID-регулятор”.
Нажать правой кнопкой мыши на блоке контроллера MC8 Properties Lists;
Добавить списки “Температуры” [Add (Ctrl+A) Name: Температуры, Comment: Температуры наруж.воздуха и обр.воды], “Heating Schedule” [Add (Ctrl+A) Name: Heating Schedule, Comment: Планировщик темп. воды в зависимости от темп. наруж. воздуха] и “PID-регулятор” [Add (Ctrl+A) Name: PID-регулятор, Comment: Параметры ПИД-регулирования].
Составить список “Температуры”.
Открыть комплексный ФБ “Обр.вода”. Выделить ФБ FILTER.
o Properties Parameters Для выхода Y этого ФБ заполнить поля (Name: Tbackwater, List: Температуры, Precision: 1, Units: °C);
Аналогичные действия проделаем в комплексном ФБ “Наруж.воздух” для ФБ FILTER.
o Properties Parameters Для выхода Y этого ФБ заполнить поля (Name: Tair, List: Температуры, Precision: 1, Units: °C).
Составить список “Heating Schedule”.
Правая кнопка мыши на ФБ “PLAN”.
o Properties Parameters Для входа X заполнить поля (Name: Tair, List: Heating Shedule, Precision: 1, Units: °C));
o Properties Parameters Для выхода Y заполнить поля (Name: Twater, List: Heating Shedule, Precision: 1, Units: °C));
o Properties Parameters Для входа X1 заполнить поля (Name: X1, List: Heating Shedule, Precision: 0, Units: °C, Value: -26));
o Properties Parameters Для входа X2 заполнить поля (Name: X2, List: Heating Shedule, Precision: 0, Units: °C, Value: 8));
o Properties Parameters Для входа X0 заполнить поля (Name: X0, List: Heating Shedule, Precision: 0, Units: °C, Value: 4));
o Properties Parameters Для входа Y1 заполнить поля (Name: Y1, List: Heating Shedule, Precision: 0, Units: °C, Value: 84));
o Properties Parameters Для входа Y2 заполнить поля (Name: Y2, List: Heating Shedule, Precision: 0, Units: °C, Value: 37));
o Properties Parameters Для входа Y0 заполнить поля (Name: Y0, List: Heating Shedule, Precision: 0, Units: °C, Value: 5)).
Все параметры ФБ PLAN введены в список “Heating Schedule” и все входные параметры этого ФБ могут быть изменены или из программы Console или из SCADA-системы.
Составить список “PID-регулятор”.
Правая кнопка мыши на ФБ “DIFF”.
o Properties Parameters Для переменной X1 (Subtrahend) заполнить поля (Name: Tfb.backwater, List: PID-регулятор, Precision: 1, Units: °C);
o Properties Parameters Для переменной X2 (Subtracter) заполнить поля (Name: Tset.backwater, List: PID-регулятор, Precision: 1, Units: °C).
Правая кнопка мыши на ФБ “PID P”.
o Properties Parameters Для переменной X заполнить поля (Name: Terr, List: PID-регулятор, Precision: 1, Units: °C);
o Properties Parameters Для переменной Z1 заполнить поля (Name: PIDP_Z1, List: PID-регулятор);
o Properties Parameters Для переменной Z2 заполнить поля (Name: PIDP_Z2, List: PID-регулятор);
o Properties Parameters Для переменной MANUAL заполнить поля (Name: PIDP_A/M, List: PID-регулятор);
o Properties Parameters Для переменной DZONE заполнить поля (Name: DeadZone, List: PID-регулятор, Precision: 1, Units: °C);
o Properties Parameters Для переменной KP заполнить поля (Name: KP, List: PID-регулятор, Precision: 1, Value: 1);
o Properties Parameters Для переменной TI заполнить поля (Name: TI, List: PID-регулятор, Precision: 1, Units: sec, Value: 1);
o Properties Parameters Для переменной D заполнить поля (Name: D, List: PID-регулятор, Precision: 1, Units: sec, Value: 0);
o Properties Parameters Для переменной B заполнить поля (Name: B, List: PID-регулятор, Value: 0).
Далее определим параметры, входящие в дополнительный встроенный список “ALARMS” (в список могут входить только булевы переменные).
Открыть комплексный ФБ “Обр.вода”.
o В ФБ OR: Properties Parameters Для выхода Z ФБ OR проставить галочку в поле “Alarms List” и ввести название переменной “Tbw_is_out_of_range” (в поле ниже введенной галочки).
Открыть комплексный ФБ “Наруж.воздух”.
o В ФБ OR: Properties Parameters Для выхода Z ФБ OR проставить галочку в поле “Alarms List” и ввести название переменной “Tair_is_out_of_range” (в поле ниже введенной галочки).
Открыть алгоблок модуля MC8.
o В ФБ OR: Properties Parameters Для выхода Z ФБ OR проставить галочку в поле “Alarms List” и ввести название переменной “Temperature_Alarm” (в поле ниже введенной галочки).
Аналогично, определим параметры, входящие в дополнительный встроенный список “SItePlayer List”.
Открыть алгоблок модуля MC8.
o В ФБ OR: Properties Parameters Для выхода Z ФБ OR проставить галочку в поле SitePlayer List и ввести название переменной “Temperature_Alarm” (в поле ниже введенной галочки).
Открыть комплексный ФБ “Обр.вода”.
o В ФБ OR: Properties Parameters Для выхода Z ФБ OR проставить галочку в поле SitePlayer List и ввести название переменной “Tbw_is_out_of_range” (в поле ниже введенной галочки).
Характеристики
Тип файла документ
Документы такого типа открываются такими программами, как Microsoft Office Word на компьютерах Windows, Apple Pages на компьютерах Mac, Open Office - бесплатная альтернатива на различных платформах, в том числе Linux. Наиболее простым и современным решением будут Google документы, так как открываются онлайн без скачивания прямо в браузере на любой платформе. Существуют российские качественные аналоги, например от Яндекса.
Будьте внимательны на мобильных устройствах, так как там используются упрощённый функционал даже в официальном приложении от Microsoft, поэтому для просмотра скачивайте PDF-версию. А если нужно редактировать файл, то используйте оригинальный файл.
Файлы такого типа обычно разбиты на страницы, а текст может быть форматированным (жирный, курсив, выбор шрифта, таблицы и т.п.), а также в него можно добавлять изображения. Формат идеально подходит для рефератов, докладов и РПЗ курсовых проектов, которые необходимо распечатать. Кстати перед печатью также сохраняйте файл в PDF, так как принтер может начудить со шрифтами.
















