03 (562185)
Текст из файла
0
3. Конструкция и структуры тонкопленочных проводников и пассивных элементов микросборок. Материалы, размеры, характеристики, основные расчетные соотношения. Виды технологических операций формирования структуры пленочных резисторов.
Основными элементами тонкопленочной интегральной микросхемы являются резисторы, конденсаторы и соединительные проводники.
Рис. 15.1. Тонкопленочные резисторы:
а
- прямоугольный; б - составной из прямоугольных полосок;
в - меандр; г - змейка
Конденсаторы получают в виде трехслойной структуры (рис. 15.2, а) проводник – диэлектрик - проводник. При этом нижняя обкладка 2 конденсатора выходит за периметр верхней обкладки 3, а периметр диэлектрической пленки 1 выходит за периметр нижней обкладки. Это исключает возможность замыкания обкладки и устраняет погрешность от их смещения. Для конденсаторов небольшой емкости (десятки пикофарад) обкладки конденсаторов выполняют в виде двух взаимно пересекающихся проводников 1, разделенных пленкой диэлектрика 2.
Р
ис. 15.2. Тонкопленочные конденсаторы: а - повышенной емкости; б - небольшой емкости
Основная расчетная формула сопротивления плёночного резистора:
Свойства тонких пленок
;
; (
);
;
-макисмальная мощность рассеивания резистором.
Конструкция тонкоплёночного резистора.
Термическое напыление в вакууме.
Рис. 15.15. Установка многооперационного типа для напыления в вакууме:
1 – подложки; 2 - диск с масками; 3 - экран; 4 - резистивиый испаритель; 5 - карусель с подложками; 6 - нагреватель.
У
становка для напыления в вакууме (рис. 15.3) состоит из плоской плиты 6, на которой устанавливается стеклянный или металлический колпак 9. В последнем случае он снабжается смотровым стеклом. На плите предусмотрены два изолированных вакуумплотных вывода 4 для питания испарителя 3. На некотором расстоянии от испарителя помещается подложка 10, на которую наносится тонкая пленка. Подложка нагревается и до достижения заданного режима закрыта заслонкой 1.
Рис. 15.3. Установка для термического напыления в вакууме:
1 - заслонка; 2 - испаряемый материал: 3 - испаритель; 4 - вакуумплотные выводы;
5 - герметизирующая прокладка; 6 - плита; 7 - присоединение к вакуумному насосу;
8 - изолятор выводов; 9 - колпак; 10 - подложка; 11- держатель подложки; 12 – нагреватель.
Физическими процессы; области образования пленки: 1) перевод напыляемого материала в парообразное состояние; 2) перенос пара от источника испарения к подложке; 3) конденсация пара на подложке и образование пленки.
К
онструкция испарителей с косвенным подогревом показана на рис. 15.5, а - в. При небольших количествах испаряемого металла применяют V-образные, W-образные, волнообразные и спиральные испарители. Испаряемый металл в виде загнутых кусочков проволоки или полосок листового материала насаживается на подогреватель при пропускании тока кусочки испаряемого материала расплавляются и смачивают подогреватель; смачивание и поверхностное натяжение удерживают расплавленный металл на поверхности подогревателя.
Рис. 15.5. Проволочные испарители с косвенным подогревом:
а – V-образные; б - W-образные; в – волнообразные
Р
ис. 15.6. Схема электронно-лучевого испарителя:
1 - катод; 2 - фокусирующая катушка; 3 - поток электронов; 4 - отклоняющая система;
5 - подложка; 6 - поток пара материала; 7 - охлаждаемый держатель;
8 - испаряемый материал
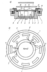
Рис. 15.9. Установка для ионноплазменного распыления:
1 - нагреватель: 2 - держатель подложки: 3 - подложка: 4 - анод; 5 - колпак;
6 - плита; 7 - присоединение к вакуумному насосу; 8 - подвод аргона;
9 - токопровод; 10 - катод (мишень); 11 - ион аргона; 12 - атом металла;
13 - термокатод
Рис. 15.10. Магнетронное распыление (диодный класс):
а - магнетрон с плоским катодом; б - схема бомбардировки катода; 1 - подложка;
2 - нейтральный атом; 3 - электрон: 4 - ион; 5 - плазма; 6 - темное анодное пространство;
7 - анод; 8 - темное катодное пространство
Жидкие фоторезисты наносят погружением (окунанием), поливом с центрифугированием, накатыванием ребристым роликом и другими способами.
Погружение (рис. 12.11, а) является самым простым способом, который дает возможность получить слой фоторезиста на двух сторонах платы.
Плата 7, закрепленная в держателе 6, погружается в сосуд 8 с фоторезистом. Держатель связан с блоком движения, снабженным электродвигателем 1, который через редуктор 2 вращает шкив 3. При этом ползун 5 перемещается в направляющих 4. Блок движения уравновешивается грузом 9. Толщина получаемых слоев фоторезиста зависит от скорости, с которой плата извлекается из ванны. Для получения толстых слоев используют многократное окунание с промежуточной сушкой каждого слоя.
Рис. 12.11. Методы нанесения жидкого фоторезиста:
а - погружением; б - центрифугированием; в - накатыванием ребристым роликом
Поливом с центрифугированием можно получить почти беспористое покрытие. Плату устанавливают на планшайбу 1 (рис. 12.11, б), которая получает вращение от электродвигателя 5 через зубчатые колеса 4, шкив 3 и фрикционный ролик 2. Изменяя расстояние между роликом и осью вращения планшайбы, можно регулировать частоту ее вращения. Фоторезист наносят во время первых оборотов центрифуги, а затем частоту вращения увеличивают. Толщина получаемого покрытия зависит от вязкости фоторезиста и частоты вращения центрифуги. Для получения тонких пленок используют высокую частоту вращения, при этом необходимы фоторезисты с достаточно низкой вязкостью. Толщина слоя обычно составляет от 2 до 4 мкм, а неравномерность толщины 0,5 ... 1,0 мкм.
Накатывание фоторезиста ребристым роликом, (рис. 12.11, в) обеспечивает большую равномерность нанесенного слоя. Канавки на поверхности ролика служат резервуаром для фоторезиста.
Недостатки жидких фоторезистов - малая толщина и неравномерность слоя покрытия, большая трудоемкость процесса нанесения и невозможность его использования для нанесения на платы с отверстиями.
Характеристики
Тип файла документ
Документы такого типа открываются такими программами, как Microsoft Office Word на компьютерах Windows, Apple Pages на компьютерах Mac, Open Office - бесплатная альтернатива на различных платформах, в том числе Linux. Наиболее простым и современным решением будут Google документы, так как открываются онлайн без скачивания прямо в браузере на любой платформе. Существуют российские качественные аналоги, например от Яндекса.
Будьте внимательны на мобильных устройствах, так как там используются упрощённый функционал даже в официальном приложении от Microsoft, поэтому для просмотра скачивайте PDF-версию. А если нужно редактировать файл, то используйте оригинальный файл.
Файлы такого типа обычно разбиты на страницы, а текст может быть форматированным (жирный, курсив, выбор шрифта, таблицы и т.п.), а также в него можно добавлять изображения. Формат идеально подходит для рефератов, докладов и РПЗ курсовых проектов, которые необходимо распечатать. Кстати перед печатью также сохраняйте файл в PDF, так как принтер может начудить со шрифтами.
















