DEN1 (561270), страница 2
Текст из файла (страница 2)
Допустимой мощностью называют предельную мощность пропускания, умноженную на коэффициент запаса электрической прочности, учитывающий неоднородности, вызывающие местные концентрации электрического поля, климатические факторы и наличие стоячей волны. Допустимая мощность Рдоп определяется как: Рдоп = (1/3…1/5)Рпред.
Рдоп=400 кВт.
При повороте волновода на 900, производить скругление изгиба не требуется, так как данная антенна работает в достаточно узкой полосе частот.
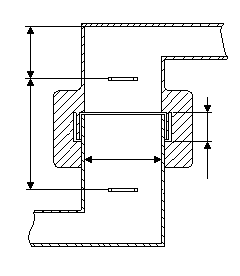
Параметры круглого волновода:
Осевая симметрия поля, необходимая для сохранения постоянства передачи электромагнитной энергии при вращении подвижной части волноводного тракта относительно неподвижного, имеется в круглых волноводах с симметричными волнами типа Е01 и Н01.
Поперечное сечение такого волновода имеет вид:
Из-за сложности возбуждения волны Н01 в круглом волноводе в чистом виде (одновременно возбуждаются волны типа Н11, Е01, Н21,Е11) использование вращающихся сочленений на основе данного типа волны не получило широкого практического применения.
Диаметр основного круглого волновода сочленения D определяется из условия распространения волны Е01 (D>0,76) и затухания высших типов волн (D<0,97), т.е.
3,04 см D = 3,82 см. Rв = 1,91 см. Проверка круглого волновода на максимальную пропускаемую мощность не производится, так как в прямоугольном волноводе с волной Н10 электрический пробой наступает быстрее, чем пробой в круглом волноводе при любом типе волны. 1=6,7 см; 1=5,1см – длины волн в круглом волноводе. Дроссельно-фланцевые соединения: Для соединения отрезков волноводных линий передачи используются дроссельные соединения в круглых, вращающихся друг относительно друга, волноводах и контактные фланцевые соединения в прямоугольных волноводах. В качестве дроссельной секции в круглом волноводе применяется полуволновая замкнутая линия, состоящая из двух параллельных четвертьволновых участков, длиной 1,68см., с разными волновыми сопротивлениями. Использование притертого фланца при тщательной обработке и строгой параллельности фланцевых поверхностей позволяет получить в месте соединения двух отрезков волноводных линий хороший электрический контакт. Переход от прямоугольного волновода к круглому: Для согласования волнового сопротивления прямоугольного волновода с круглым волноводом используются индуктивные диафрагмы, которые впаиваются с двух сторон в прорези в узких стенках прямоугольного волновода, емкостные диафрагмы в виде кольцевого выступа в круглом волноводе, индуктивные штыри, впаиваемые в прорези в широкой стенке прямоугольного волновода, положение и размеры которых подбираются экспериментально. Подавление паразитных типов волн: При переходе от прямоугольного волновода с волной Н10 к круглому волноводу в последнем возникают волны: рабочая - Е01 и более низкая паразитная - Н11. Волна Н11 имеет несимметричную структуру поля и её энергия в круглом волноводе равна Схема сочленения с резонансными кольцами имеет вид: Схема установки резонансных колец в круглом волноводе: Принцип действия резонансных колец заключается в следующем. Линии электрического вектора перпендикулярны кольцу, поэтому при точной ориентировке кольца в волноводе в нем не возбуждаются токи и волна Е10 распространяется без потерь. В то же время волна Н11 возбуждает в кольце токи, имеющие резонанс при длине кольца, равной длине волны в воздухе. Текущие в кольце токи возбуждают в волноводе волну типа Н11 с фазой поля, сдвинутой на 1800 по отношению к фазе возбуждающего поля. Поэтому в круглом волноводе за кольцом поля волны Н11 взаимно уничтожаются. r0 = 0,075 см - радиус круглой проволоки для изготовления колец. r = 0,8 см – внутренний радиус кольца. L=(2n+1) - расстояние между фильтрующими кольцами; n=1,2…. L=6,4 см. Расстояние от кольца до дна основного круглого волновода выбирается из конструктивных соображений. Так как оно больше четверти длины волны Н11, то практически не влияет на резонансную частоту кольца. L1=n* - расстояние от кольца до дна основного круглого волновода; n=1,2…. L1=2,55 см Список литературы. Расчет антенн СВЧ. Пособие к курсовому проектированию под редакцией Воскресенского Д. И, часть 1. МАИ, 1970. Расчет антенн СВЧ. Пособие к курсовому проектированию под редакцией Воскресенского Д. И, часть 2. МАИ, 1973. Пономарев Л. И. Апертурные антенны СВЧ. МАИ, 1983. Расчет и конструирование вращающихся сочленений. Пособие к курсовому проектированию под редакцией Мякишева Б. Я. МАИ, 1962. Фельдштейн, Явич. Справочник по элементам волноводной техники. «Советское радио», 1967. Воскресенский, Гостюхин, Пономарев, Максимов. Антенны и устройства СВЧ. МАИ, 1999.
1%, поэтому необходимы специальные устройства для гашения этой волны (допустимое содержание паразитных волн составляет 0,1%). В конструкциях таких сочленений для подавления паразитных волн широко применяют «гасящие объемы» и резонансные кольца.















