01Глава I (561018), страница 3
Текст из файла (страница 3)
Рассмотрим алгоритм расчета базового элемента:
I. Задаемся типовыми значениями параметров диодов, транзисторов и резисторов.
2. Задаемся близкими к оптимальным значениям R1 / R2 = 2.. .4 и
R2 / R3 = 1…2.
3. По заданному значению S0 с помощью выражения
определяем U0max , т.е. получаем ограничения
.
4. По заданному значению S1 с помощью выражения
определяем U1min и , используя зависимость
находим напряжение Е. При известном Е уточняем величину R2 / R3.
5. Из выражений
по заданному значению Р и выбранным отношениям R1 / R2 и R2 / R3 определяем номиналы резисторов R1 , R2, R3 (с учетом
).
6. Из соотношений
находим максимальные и минимальные значения токов открытых транзисторов.
7. C помощью
и выбранного значения S3=1,2…1,3 определяем сопротивление rк3.
8. Из условия Uk2 < Uэн+UDз+U0 находим ограничения на величину Uк.н.2.
9. При заданных N, Т и Е и выбранных значениях и находим ограничения на величины β2min и β3min:
10. Из выражения
получаем значения β1max и Iвх 1у.
11. Полагаем, что величина предельно допустимого тока транзистора VT3 в импульсном режиме Iк3min не должна превышать величины максимального тока Iк3 в статическом режиме более чем в три раза. При выбранном значении R2 считается, что rD ≈ rк3 ≈ rк4 . С помощью выражений
определяем номинальное значение R4.
12. В соответствии с результатом статического расчета выбираем структуру и геометрию элементов схемы—транзисторов и резисторов. Для выбранных структур определяем параметры элементов τ0 , τр , Сэ, Ск, β, оцениваем величины паразитных емкостей в различных узлах схемы СП1, СП2, СП3, СП4, СП вых. Если параметры элементов оказываются существенно отличными от принятых в пунктах 1…11, необходимо произвести повторный расчет с уточненными их значениями.
13. В соответствии с выражениями td1 = t'd1 + tc и td2 =t'd2 +tн получаем величины задержки сигнала в схеме. Если найденные значения не удовлетворяют заданию, следует произвести соответствующую коррекцию параметров элементов и повторить расчет.
14. Определяем величину динамической мощности Рg:
Если полученное значение Pg превышает заданное, то уменьшают ток Iэ4max, путем увеличения сопротивления R4.
Одним из недостатков рассматриваемой схемы является то обстоятельство, что их нельзя объединять по выходу, поскольку они имеют низкое выходное сопротивление в обоих состояниях.
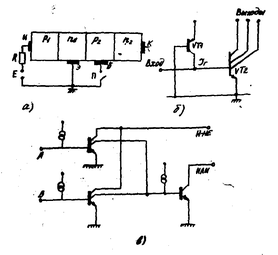
Чтобы осуществить объединение по выходу; можно использовать схемы ТТЛШ с тремя состояниями (рис. 3, б). Особенность их заключается в том, что все транзисторы, кроме VT4, являются транзисторами Шоттки и, кроме того, имеется управляющий вход, который удерживает VT1 в состоянии насыщения в прямом направлении, благодаря чему закрыт VT2, а следовательно, и VT5. В то же время управляющий вход шунтирует коллекторную цепь VT2, в результате чего транзистор VT4 также закрыт. В этом случае выход находится в третьем состоянии — в состоянии, высокого выходного сопротивления.
ТТЛШ с тремя состояниями позволяют производить некоторые весьма полезные операции, связанные с коммутацией. Заметим, что в этой схеме для обеспечения большого тока нагрузки плечо выход- кого каскада выполнено по схеме Дарлингтона. В этом случае диод в выходном каскаде не требуется, так как пара составных транзисторов создает падение напряжения на двух переходах “база – эмиттер” . Поскольку в транзисторах Шоттки отсутствует накопление носителей, они могут иметь большой коэффициент усиления по сравнению с обычными схемами. Однако переход Шоттки имеет собственную емкость, поэтому соответствующая постоянная времени RС должна быть минимизирована за счет тщательной разработки конструкции.
На рис. 3, в показана ТТЛШ ИС, выполняющая логическую операцию ИЛИ и состоящая из трех каскадов: входного, реализующего операцию ИЛИ на транзисторах VT1, фазоразделительного на транзисторе VT2 и выходного каскада на транзисторах VT3…VT6.
Рассмотрим работу схемы. Предположим, что в первоначальный момент на все входы схемы подаются низкие потенциалы. В этом случае входные диоды открыты и ток протекает через R0 и VD1 на вход схемы. На базах транзисторов VT1 устанавливается низкий потенциал, а на их выходах - высокий, который открывает фазоразделительный транзистор VT2; на коллекторе VT2 — низкий потенциал, недостаточный для открывания выходного транзистора VT4; на эмиттере VT2 - высокий потенциал, который открывает транзистор VT6 и еще больше подзапирает выходной транзистор VT4, и на выходе схемы устанавливается низкое напряжение.
В том случае, если хотя бы на один вход схемы подается высокий потенциал, то и на соответствующий вход транзистора VT1 также подается высокий потенциал (входной диод смещен в обратном направлении). Транзистор VT1 открыт, и на его коллекторе устанавливается низкий потенциал, транзистор VT2 закрыт, и на его выходе устанавливается высокий потенциал, который открывает соответственно транзисторы VT3 и VT4 и переводит схему в единичное состояние.
Рассматриваемая схема имеет дополнительные особенности, которые могут быть использованы в любых схемах ТТЛ. Входы зашунтированы диодами VD3 для защиты от высокочастотной генерации, а транзистор VT5 обеспечивает быстрое выключение VT6. Коэффициенты усиления транзисторов возрастают с повышением температуры, что приводят к увеличению времени закрывания VT6. Вместе с тем с ростом температуры увеличивается сопротивление резистора а его влияние уменьшается. В схему введен транзистор VT5, носящий название активного шунта. С повышением напряжения ток через этот транзистор возрастает и компенсирует температурные изменения.
Основные характеристики двухвходового базового элемента ТТЛ и ТТЛШ, выполняющего логические функции штрих Шеффера, ИЛИ и исключающая ИЛИ, приведены в табл. 3.
Таблица 3.
Основные характеристики схем ТТЛ и ТТЛШ
| Тип ИС | Логическая схема схема | Параметры | |||||||||||||||||||
| Напряжение пита- ния E, B | Uвх1 min , B a | Uвх0 max , B | Uвых1 , B | Uвых0 , B | Iвх1 , мкА | Iвх0 , мА | Iвых1 , мкА | Iвых0 , мА | td1 , нс | td2 , нс | td , нс | P , мВт | N | ||||||||
| ТТЛ | И-НЕ | 5 | 2 | 0,4 | 5 | 0,2 | 40 | -1,6 | 250 | 16 | 8 | 35 | 20 | 15 | 10 | ||||||
| ИЛИ | 5 | 2 | 0,4 | 3,4 | 0,2 | 40 | -1,6 | -800 | 16 | 14 | 14 | 14 | 19 | 10 | |||||||
| Исклю- чаю- щая ИЛИ | 5 | 2 | 0,4 | 3,4 | 0,2 | 40 | -1,6 | -800 | 16 | 15 | 22 | 22 | 10 | 10 | |||||||
| ТТЛШ | И-НЕ | 5 | 2 | 0,4 | 5 | 0,5 | 50 | -2 | 250 | 20 | 4,5 | 5 | 4,7 | 19 | 10 | ||||||
| ИЛИ | 5 | 2 | 0,4 | 3,4 | 0,25 | 20 | -0,36 | -400 | 4 | 4,5 | 4,5 | 4,5 | 30 | 10 | |||||||
| Исклю- чаю- щая ИЛИ | 5 | 2 | 0,4 | 3,4 | 0,5 | 50 | -2 | -1 | 20 | 6,5 | 7 | 5 | 17,5 | 10 | |||||||
2.3. БАЗОВЫЙ ЭЛЕМЕНТ С ИНЖЕКЦИОННЫМ ПИТАНИЕМ
На рис. 4 показан элемент, относящийся к схемам с двойной инжекцией (ИИЛ), которые также называются многоколлекторными логическими схемами (МКЛ).
Рис. 4. Базовый элемент с инжекционным питанием:
















