Книга хз0561.1-из интернета (559875), страница 52
Текст из файла (страница 52)
C+Cф ≥ ПДК (6.2)
по каждому вредному веществу (Сф –фоновая концентрация), а при наличии нескольких вредных веществ однонаправленного действия – условие (3.1). Соблюдение этих требований достигается локализацией вредных веществ в месте их образования, отводом из помещения или от оборудования и рассеиванием в атмосфере. Если при этом концентрации вредных веществ в атмосфере превышают ПДК, то применяют очистку выбросов от вредных веществ в аппаратах очистки, установленных в выпускной системе. Наиболее распространены вентиляционные, технологические и транспортные выпускные системы.
На практике реализуются следующие варианты защиты атмосферного воздуха:
– вывод токсичных веществ из помещений общеобменной вентиляцией;
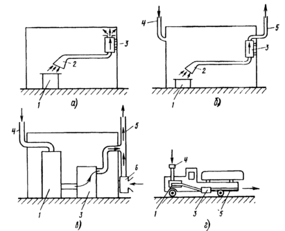
– локализация токсичных веществ в зоне их образования местной вентиляцией, очистка загрязненного воздуха в специальных аппаратах и его возврат в производственное или бытовое помещение, если воздух после очистки в аппарате соответствует нормативным требованиям к приточному воздуху (рис. 6.2, а);
– локализация токсичных веществ в зоне их образования местной вентиляцией, очистка загрязненного воздуха в специальных аппаратах, выброс и рассеивание в атмосфере (рис. 6.2, б);
– очистка технологических газовых выбросов в специальных аппаратах, выброс и рассеивание в атмосфере; в ряде случаев перед выбросом отходящие газы разбавляют атмосферным воздухом (рис. 6.2,в);
– очистка отработавших газов энергоустановок, например двигателей внутреннего сгорания в специальных агрегатах, и выброс в атмосферу или производственную зону (рудники, карьеры, складские помещения и т. п.) (рис. 6.2, г).
Для соблюдения ПДК вредных веществ в атмосферном воздухе населенных мест устанавливают предельно допустимый выброс (ПДВ) вредных веществ из систем вытяжной вентиляции, различных технологических и энергетических установок. Предельно допустимые выбросы ГТДУ самолетов гражданской авиации определены ГОСТ 17.2.2.04–86, выбросы автомобилей с ДВС–ГОСТ 17.2.2.03–87 и рядом других.
В соответствии с требованиями ГОСТ 17.2.3.02–78 для каждого проектируемого и действующего промышленного предприятия устанавливается ПДВ вредных веществ в атмосферу при условии, что выбросы вредных веществ от данного источника в совокупности с другими источниками (с учетом перспективы их развития) не создадут приземную концентрацию, превышающую ПДК.
Рис. 6.2. Схемы использования средств защиты атмосферы:
1–источник токсичных веществ; 2–устройство для локализации токсичных веществ (местный отсос); 3–аппарат очистки; 4–устройство для забора воздуха из атмосферы; 5–труба для рассеивания выбросов; 6 –- устройство (воздуходувка) для подачи воздуха на разбавление выбросов
Рассеивание выбросов в атмосфере. Технологические газы и вентиляционный воздух после выхода из труб или вентиляционных устройств, подчиняется законам турбулентной диффузии. На рис. 6.3 показано распределение концентрации вредных веществ в атмосфере под факелом организованного высокого источника выброса. По мере удаления от трубы в направлении распространения промышленных выбросов можно условно выделить три зоны загрязнения атмосферы: переброса факела выбросов Б, характеризующаяся относительно невысоким содержанием вредных веществ в приземном слое атмосферы; задымления В с максимальным содержанием вредных веществ и постепенного снижения уровня загрязнения Г. Зона задымления наиболее опасна для населения и должна быть исключена из селитебной застройки. Размеры этой зоны в зависимости от метеорологических условий находятся в пределах 10...49 высот трубы.
Максимальная концентрация примесей в приземной зоне прямо пропорциональна производительности источника и обратно пропорциональна квадрату его высоты над землей. Подъем горячих струй
Рис. 6.3. Распределение концентрации вредных веществ в атмосфере у земной поверхности от организованного высокого источника выбросов:
А–зона неорганизованного загрязнения; Б–зона переброса факела; В–зона задымления; Г– зона постепенного снижения уровня загрязнения
почти полностью обусловлен подъемной силой газов, имеющих более высокую температуру, чем окружающий воздух. Повышение температуры и момента количества движения выбрасываемых газов приводит к увеличению подъемной силы и снижению их приземной концентрации.
Распространение газообразных примесей и пылевых частиц диаметром менее 10 мкм, имеющих незначительную скорость осаждения, подчиняется общим закономерностям. Для более крупных частиц эта закономерность нарушается, так как скорость их осаждения под действием силы тяжести возрастает. Поскольку при очистке от пыли крупные частицы улавливаются, как правило, легче, чем мелкие, в выбросах остаются очень мелкие частицы; их рассеивание в атмосфере рассчитывают так же, как и газовые выбросы.
В зависимости от расположения и организации выбросов источники загрязнения воздушного пространства подразделяют на затененные и незатененные, линейные и точечные. Точечные источники используют тогда, когда удаляемые загрязнения сосредоточены в одном месте. К ним относят выбросные трубы, шахты, крышные вентиляторы и другие источники. Выделяющиеся из них вредные вещества при рассеивании не накладываются одно на другое на расстоянии двух высот здания (с заветренной стороны). Линейные источники имеют значительную протяженность в направлении, перпендикулярном к ветру. Это аэрационные фонари, открытые окна, близко расположенные вытяжные шахты и крышные вентиляторы.
Незатененные, или высокие источники свободно расположены в недеформированном потоке ветра. К ним относят высокие трубы, а также точечные источники, удаляющие загрязнения на высоту, превышающую 2,5 Нзд. Затененные, или низкие источники расположены в зоне подпора или аэродинамической тени, образующейся на здании или за ним (в результате обдувания его ветром) на высоте h≤2,5Нзд.
Основньм документом, регламентирующим расчет рассеивания и определения приземных концентраций выбросов промышленных предприятий, является «Методика расчета концентраций в атмосферном воздухе вредных веществ, содержащихся в выбросах предприятий. ОНД–86». Эта методика позволяет решать задачи по определению ПДВ при рассеивании через одиночную незатененную трубу, при выбросе через низкую затененную трубу и при выбросе через фонарь из условия обеспечения ПДК в приземном слое воздуха.
При определении ПДВ примеси от расчетного источника необходимо учитывать ее концентрацию Сф в атмосфере, обусловленную выбросами от других источников. Для случая рассеивания нагретых выбросов через одиночную незатененную трубу
где Н– высота трубы; Q – объем расходуемой газовоздушной смеси, выбрасываемой через трубу; ΔТ–разность между температурой выбрасываемой газовоздушной смеси и температурой окружающего атмосферного воздуха, равной средней температуре самого жаркого месяца в 13 ч; А –коэффициент, зависящий от температурного градиента атмосферы и определяющий условия вертикального и горизонтального рассеивания вредностей; kF–коэффициент, учитывающий скорость оседания взвешенных частиц выброса в атмосфере; т и п – безразмерные коэффициенты, учитывающие условия выхода газовоздушной смеси из устья трубы.
Оборудование для очистки выбросов. В тех случаях, когда реальные выбросы превышают ПДВ, необходимо в системе выброса использовать аппараты для очистки газов от примесей.
Аппараты очистки вентиляционных и технологических выбросов в атмосферу делятся на: пылеуловители (сухие, электрические, фильтры, мокрые); туманоуловители (низкоскоростные и высокоскоростные); аппараты для улавливания паров и газов (абсорбционные, хемосорбционные, адсорбционные и нейтрализаторы); аппараты многоступенчатой очистки (уловители пыли и газов, уловители туманов и твердых примесей, многоступенчатые пылеуловители). Их работа характеризуется рядом параметров. Основными из них являются эффективность очистки, гидравлическое сопротивление и потребляемая мощность.
Эффективность очистки
где Свх и Свых–массовые концентрации примесей в газе до и после аппарата.
В ряде случаев для пылей используется понятие фракционной эффективности очистки
ŋi=(Cвxi-Свыхi)/Cвхi
где Свх/ и Сдых/–массовые концентрации /-и фракции пыли до и после пылеуловителя.
Для оценки эффективности процесса очистки также используют коэффициент проскока веществ К через аппарат очистки:
Как следует из формул (6.4) и (6.5), коэффициент проскока и эффективность очистки связаны соотношением К= 1-ŋ.
Гидравлическое сопротивление аппаратов очистки Δр определяют как разность давлений газового потока на входе аппарата Рвх и выходе Рвых из него. Значение Δр находят экспериментально или рассчитывают по формуле
Δр=Рвх-Рвых=ζрw2/2 (6.6)
где w –коэффициент гидравлического сопротивления аппарата; р и W–плотность и скорость газа в расчетном сечении аппарата.
Если в процессе очистки гидравлическое сопротивление аппарата изменяется (обычно увеличивается), то необходимо регламентировать его начальное ΔPнач и конечное значение ΔPкон- При достижении ΔP = Pкон процесс очистки нужно прекратить и провести регенерацию (очистку) аппарата. Последнее обстоятельство имеет принципиальное значение для фильтров. Для фильтров ΔРкон = (2...5)ΔРнач
Мощность N побудителя движения газов определяется гидравлическим сопротивлением и объемным расходом Q очищаемого газа
N = kΔpQ/(ηмηв)
где k–коэффициент запаса мощности, обычно k= 1,1...1,15; ηм– КПД передачи мощности от электродвигателя к вентилятору; обычно ηм = 0,92...0,95; ηп. –КПД вентилятора; обычно ηв = 0.65...0.8.
Широкое применение для очистки газов от частиц получили сухие пылеуловители – циклоны (рис. 6.4) различных типов. Газовый поток вводится в циклон через патрубок 2 по касательной к внутренней поверхности корпуса 1 и совершает вращательно-поступательное движение вдоль корпуса к бункеру 4. Под действием центробежной силы частицы пыли образуют на стенке циклона пылевой слой, который вместе с частью газа попадает в бункер. Отделение частиц пыли от газа, попавшего в бункер, происходит при повороте газового потока в бункере на 180°. Освободившись от пыли, газовый поток образует вихрь и выходит из бункера, давая начало вихрю газа, покидающему циклон через выходную трубу 5. Для нормальной работы циклона необходима герметичность бункера. Если бункер негерметичен, то из-за подсоса наружного воздуха происходит вынос пыли с потоком через выходную трубу.
Многие задачи по очистке газов от пыли с успехом решаются цилиндрическими (ЦН-11, ЦН-15, ЦН-24, ЦП-2) и коническими (СК-ЦН-34, СК-ЦН-34М и СДК-ЦН-33) циклонами НИИОГАЗа. Цилиндрические циклоны НИИОГАЗа предназначены для улавливания сухой пыли аспирационных систем Их рекомендуется использовать для предварительной очистки газов и устанавливать перед фильтрами или электрофильтрами.
Рис. 6.4. Схема циклона
Конические циклоны НИИОГАЗа серии СК, предназначенные для очистки газа от сажи, обладают повышенной эффективностью по сравнению с циклонами типа ЦН, что достигается за счет большего гидравлического сопротивления циклонов серии СК.Для очистки больших масс газов применяют батарейные циклоны, состоящие из большого числа параллельно установленных циклонных элементов. Конструктивно они объединяются в один корпус и имеют общий подвод и отвод газа. Опыт эксплуатации батарейных циклонов показал, что эффективность очистки у таких циклонов несколько ниже эффективности отдельных элементов из-за перетока газов между циклонными элементами. Методика расчета циклонов приведена в работе |6.11].
Электрическая очистка (электрофильтры) –один из наиболее совершенных видов очистки газов от взвешенных в них частиц пыли и тумана. Этот процесс основан на ударной ионизации газа в зоне коронирующего разряда, передаче заряда ионов частицам примесей и осаждении последних на осадительных и коронирующих электродах. Для этого применяют электрофильтры.
Аэрозольные частицы, поступающие в зону между коронирующим 1 и осадительным 2 электродами (рис. 6.5), адсорбируют на своей поверхности ионы, приобретая электрический заряд, и получают тем самым ускорение, направленное в сторону электрода с зарядом противоположного знака. Процесс зарядки частиц зависит от подвижности ионов, траектории движения и времени пребывания частиц в зоне коронирующего заряда. Учитывая, что в воздухе и дымовых газах подвижность отрицательных ионов выше, чем положительных, электрофильтры обычно делают с короной отрицательной полярности. Время зарядки аэрозольных частиц невелико и измеряется долями секунды. Движение заряженных частиц к осадительному электроду происходит под действием аэродинамических сил и силы взаимодействия электрического поля и заряда частицы.















