ВСН 332-74 (558417), страница 22
Текст из файла (страница 22)
Электродвигатели серии “Украина” на номинальное напряжение 6000 В в исполнении до В3Г включительно по ТУ 16.510.098-69
| Электродвигатель | Номинальная мощность, кВт | КПД, % | cos j | |
| Частота вращения 3000 об/мин (синхр.) | ||||
| “Украина-11-1/2” | 200 | 92,5 | 0,88 | 6,0 |
| “Украина-11-2/2 | 250 | 93,0 | 0,88 | 6,5 |
| “Украина-11-3/2 | 315 | 93,5 | 0,88 | 6,5 |
| “Украина-11-4/2 | 400 | 94,0 | 0,88 | 6 |
| “Украина-12-2/2 | 500 | 94,0 | 0,88 | 6,5 |
| “Украина-12-3/2 | 630 | 94,0 | 0,89 | 6,5 |
| “Украина-12-4/2 | 800 | 94,6 | 0,90 | 6,5 |
| Частота вращения 500 об/мин (синхр.) | ||||
| “Украина-11-1/4” | 200 | 93,0 | 0,84 | 6,0 |
| “Украина-11-2/4” | 250 | 93,5 | 0,84 | 6,0 |
| “Украина-11-3/4” | 315 | 94,4 | 0,84 | 6,0 |
| “Украина-11-4/4” | 400 | 94,5 | 0,85 | 6,0 |
| “Украина-12-2/4” | 500 | 94,6 | 0,86 | 6,0 |
| “Украина-12-3/4” | 630 | 94,7 | 0,87 | 6,0 |
| “Украина-12-4/4” | 800 | 95,0 | 0,87 | 6,5 |
| “Украина-12-5/4” | 1000 | 95,2 | 0,87 | 6,7 |
| “Украина-13-1/4” | 1250 | 95,3 | 0,87 | 6,0 |
| “Украина-13-2/4” | 1600 | 95,5 | 0,88 | 6,0 |
Приложение 9
МАГНИТНЫЕ ПУСКАТЕЛИ И ПОСТЫ УПРАВЛЕНИЯ
Таблица П9-1
Пускатели серий ПМ-702А и ПМ-701А
| Пускатель | Номинальный ток пускателя, А | Мощность двигателя при напряжении 380 В, кВт | Наличие тепловой защиты от перегрузок | Количество блок-контактов н. о. | Количество блок-контактов н. з. | Предельный ток отключения, А | Масса без масла, кг | Масса масла, кг | Условные обозначения взрывозащищенности | Размер трубной резьбы ввода, дюйм |
| ПМ-712А-25 | 25 | 13 | Есть | 1 | 2 | 550 | 17 | 2 | НМБ | 2х1 |
| ПМ-722А-25 | 25 | 13 | Нет | 1 | 2 | 550 | 16 | 2 | НМГ | 2х1 |
| ПМ-712А-100 | 100 | 55 | Есть | 1 | 2 | 1300 | 27 | 3 | НМБ | 2х11/2 |
| ПМ-722А-100 | 100 | 55 | Нет | 1 | 2 | 1300 | 26 | 3 | НМГ | 2х11/2 |
| ПМ-711А-250 | 250 | 100 | Есть | 1 | 2 | 2300 | 56 | 12 | НМБ | 2х21/2 |
| ПМ-721А-250 | 250 | 100 | Нет | 1 | 2 | 2300 | 55 | 12 | НМГ | 2х21/2 |
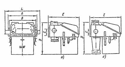
Рис. П9-1. Магнитные пускатели повышенной надежности против взрыва с маслонаполненными элементами.
а — пускатели ПМ 702А-25; б — пускатели ПМ 702А-100 и ПМ 701А-250.
| Пускатель | A | B | C | D | E | L | M |
| ПМ 702А-25 | 278 | 215 | 58 | 207 | 282 | 356 | 10 |
| ПМ 702А-100 | 303 | 250 | 60 | 340 | 318 | 430 | 10 |
| ПМ 701А-250 | 356 | 290 | 60 | 480 | 330 | 452 | 10 |
Таблица П9-2
Посты управления в исполнении М'ОД на номинальное напряжение до 500 В и номинальный ток 5 А (КУ-700 по ТУ 16.526.039-68; ВК-700 по ТУ 16.526.198-70)
| Пост управления | Количество кнопочных элементов | Способ управления | Объем масла, л | Масса, кг | Позиция на рис. П9-2 |
| КУ-700/2 | 2 | Рукоятка | 0,5, | 3 | а |
| КУ1-700/2 | 2 | Трос | 0,5 | 3,3 | — |
| КУ-700/3 | 3 | Рукоятка | 0,75 | 4,2 | б |
| ВК-700 | 2 | Рычаг | 0,5 | 3,3 | в |
| КУ-700/2Т | 2 | Рукоятка | 0,5 | 6,5 | а |
| КУ1-700/2Т | 2 | Трос | 0,5 | 6,8 | — |
| КУ-700/3Т | 3 | Рукоятка | 0,75 | 8,7 | б |
| ВК-700Т | 2 | Рычаг | 0,5 | 6,8 | в |
Кроме приведенных в таблице посты управления выпускаются в следующих исполнениях: КУ-703 — с фиксацией кнопки “Стоп”; КУ-701 — с фиксацией кнопок “Ход” и “Стоп”; КУ-701 ¾ утопленные без фиксации; КУ-702 — утопленные с фиксацией кнопок “Стоп” или “Ход” и “Стоп”.
Посты управления утопленного исполнения предназначены для встройки в комплектные пульты управления и располагаются внутри пульта с выводом на его лицевую сторону конца валика.
Рис. П9-2. Маслонаполненные посты управления серии КУ-700 и конечные выключатели ВК-700.
а — пост КУ-700/2; б — пост КУ-700/3; в ¾ выключатель ВК-700.
Технические данные
постов управления серии КУ-90 в исполнении В3Г по ТУ 16.526.201-70
Номинальный переменный ток при номинальном напряжении 380 В, А .............................. 10
Номинальный постоянный ток при номинальном напряжении 110/220 В, А .................... 10/5
Количество элементов:
КУ-91 ......................................................................................... 1
КУ-92 ......................................................................................... 2
КУ-93 ......................................................................................... 3
Количество вводов:
КУ-91 ......................................................................................... 1
КУ-92, КУ-93 ............................................................................ 2
Диаметр отверстий в сальниках, мм:
наибольший ............................................................................. 24
наименьший ............................................................................. 12
Масса, кг:
КУ-91 ....................................................................................... 0,7
КУ-92 ....................................................................................... 0,9
КУ-93 ....................................................................................... 1,5
Рис. П9-3. Посты управления взрывонепроницаемые КУ-90-В3Г.
Технические данные
















