lab_6 (544388), страница 2
Текст из файла (страница 2)
В санитарно гигиенической практике широкое распространение нашел метод с использованием аналитических аэрозольных фильтров (АФА). С помощью фильтров АФА проводится массовый, радиоспектрометрический, радиографический, радиохимический анализ аэрозолей.
Методика определения массовой концентрации частиц с помощью фильтров АФА включает следующие этапы: предварительную подготовку и взвешивать фильтра, отбор пробы, вычисление концентрации аэрозольных частиц.
Рассмотрим фотоэлектрический метод регистрации аэрозольных частиц Частицы, попадая в освещенный рабочий объем, рассеивают свет. Интенсивность рассеянного света определяется размером частиц. В качестве приемника света используется ФЭУ, на нагрузке которого возникает электрический импульс. Амплитуда импульса пропорциональна количеству рассеянного света, т.е. определяется размером частиц.
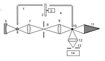
Таким образом, возможен анализ частиц по размерам. На рис.3 изображена оптическая система счетчика.
Свет от источника 6 фокусируется с помощью объективов 7,9 и диафрагмы 8 в луч диаметром 1 мм. Перпендикулярно этому лучу поступает аэрозоль. Диаметр струи аэрозоля 0,9 мм. Попадая в рабочий объем, каждая аэрозольная частица 10 дает импульс рассеянно, который воспринимается фотокатодом фотоэлектронного умножителя 14, расположенным под углом 90 градусов к оси луча. Падающий луч, пройдя камеру, улавливается световой ловушкой 11, выполненной в виде конуса. Свет, рассеянный частицей при прохождении луча света, собирается объективом 12. Рабочий объем образуется при пересечении луча света и потока аэрозоля. Для уменьшения рабочего объема на фигуру пересечения накладывается изображение диафрагмы 13. Для увеличения освещенности в рабочем объеме используется рефлектор 5.
Рис.3. Оптическая система счетчика: 1, 4 - световоды; 2 - модулятор; 3 - двигатель; 5 - рефлектор; 6 - источник света; 7,9,12 - объективы; 8,13 - диафрагмы; 10 - частица; 11 - световая ловушка; 14 - фотоэлектронный умножитель.
Экспериментальная часть
Требуется определить: массовую концентрацию в производственных помещениях, используя весовой метод, счетную концентрацию и фракционно-дисперсный состав частиц, а также выполнить расчеты по определению параметров закона распределения аэрозольных частиц по размерам, оценить значение концентрации респирабельной фракции и провести сравнительный анализ экспериментальных данных по чистоте воздуха в производственных помещениях и действующих санитарных и технологических норм.
Установка для определения массовой концентрации весовым методом (рис.4) состоит из пылевой камеры (1) и пункта управления (2). Пылевая камера имитирует производственное помещение, в котором производится исследование воздуха. В камере может быть создана различная степень запыленности воздуха. На внутренней стороне откидной стены камеры (3) расположен бункер-дозатор (4) с пылью. При повороте ручки дозатора на одно деление в камеру вводится порция пыли. В камере расположен вентилятор, создающий в ней движение воздуха. На откидной стенке имеется смотровое окно, через которое можно визуально определить наличие пыли в камере. В рабочем положении патрон с фильтром (5) закрепляется в отверстии для забора воздуха (7). На пульт управления вынесены ручки регулировки аспиратора и вентилятора. Аспиратор - прибор для просасывания запыленного воздуха с определенной скоростью (л/мин) через патрон с фильтром.
Для определения счетной концентрации аэрозольных частиц и их дисперсного состава используем счетчик аэрозольных частиц. Счетчик регистрирует аэрозольные частицы в шести каналах по размерам: 2, 5, 10, 15, 20 и 25 мкм, а также общую концентрацию от 102 до 3105 частиц в литре.
Указания по технике безопасности.
1. Строго соблюдать инструкцию по ТБ на стенде.
2. Не выключать стенд без проверки его преподавателем.
3. В случае неправильной работы отключить стенд.
Порядок выполнения работы.
1.Определить исходную массу фильтра с точностью до 1 мг, используя торсионные весы WT рис.5 (инструкция по эксплуатации на стенде).
-
Перед началом работы ручка 9 должна находиться в положении «Z».
-
При закрытой дверце 6 перевести ручку 9 в положение «0».
-
Ручкой 8 установить подвижную стрелку на «красную точку» (окружность).
-
Ручкой 7 установить подвижную стрелку на начало отсчета – нулевое значение шкалы.
-
Перевести ручку 9 в положение «Z» орретирование.
-
Открыть дверцу 6 и на чашку весов осторожно положить взвешиваемый предмет.
-
Закрыть дверцу 6 и аккуратно перевести ручку 9 в положение «0».
-
Вращением ручки 8 от себя установить подвижную стрелку на «красную точку» (окружность).
-
Результат взвешивания определяется по положению неподвижной стрелки относительно подвижной шкалы.
-
После взвешивания ручку 9 перевести в положение «Z».
-
Ручкой 8 «на себя» привести весы в исходное положение.
-
Снять взвешиваемый предмет.
2.Заложить фильтр в патрон и вставить его в отверстие для забора воздуха.
3.Включить вентилятор и поворотом ручки бункера-дозатора ввести порцию пыли.
4.Включить аспиратор и в течение 5-10 минут прокачивать запыленный воздух через патрон с фильтром, фиксируя по верхнему краю поплавка ротаметра скорость воздушного потока.
5.Отключить аспиратор и вентилятор.
6.Извлечь фильтр из патрона и произвести его повторное взвешивание (см. п.1).
7.Вычислить концентрацию пыли С (массу пыли в мг, содержащуюся в 1 м3 воздуха) в камере, имитирующей помещение, по формуле:
С = (Р2 Р1)/(tV)103,
где P1 - начальная масса фильтра, мг;
Р2 - масса фильтра после прохождения через него запыленного воздуха, мг;
t - время прохождения запыленного воздуха через фильтр, мин.;
V - скорость прохождения воздуха воздуха через фильтр, л/мин.
Сравнить вычисленное значение концентрации пыли с ПДК. Для двуокиси кремния с содержанием пыли до 10% ПДК составляет 4 мг/м3.
8.Включить оптический прибор, нажав кнопку "СЕТЬ". Выдержать счетчик включенным в течение 10 минут. Все остальные кнопки на левой панели отжаты. Шланги выхода подсоединить к входному штуцеру оптического прибора.
9.Нажмите кнопку «2» переключателя каналов. При нажатии кнопки время измерения устанавливается таймером автоматически и начинается процесс измерения концентрации аэрозоля в диапазоне 2 мкм.
10.Поочередно нажимая кнопки «5, 10, 15, 20, 25» определяем концентрацию по показанию электронного счетчика.
11.Выключите оптический прибор.
Содержание отчета
Отчет должен содержать:
1.Элементарную схему установки для определения запыленности весовым и счетным методами.
2.Протокольную запись определения запыленности воздуха весовым методом: массу фильтра до и после забора пыли, продолжительность и скорость просасывания воздуха через фильтр, объем исследуемого воздуха, вычисление концентрации пыли в камере и выводы о степени запыленности воздуха - действительную оценку отношения концентрации пыли к ПДК.
3.Протокольную запись определения запыленности воздуха счетным методом: результаты подсчета количества частиц по фракциям и суммарная величина. Построить дифференциальную кривую распределения частиц по размерам.
4.Зная счетную концентрацию аэрозольных частиц, определить массовую концентрацию по формуле (1).
5.Сравните значение концентраций, полученных счетным и весовым методами. Каковы возможные причины рассогласования значений.
Произвести расчет НКПР для мелкодисперсного аэрозоля при t=25оC. влажности 65%, используя данные для исследуемого аэрозоля на стенде.
Сделать выводы о пожаровзрывоопасности пыли.
Контрольные вопросы
1. Как действует промышленная пыль на организм человека? Пример.
2. От чего зависит вредное воздействие пыли на организм человека?
3. Отчего зависит величина ПДК вредных веществ в воздухе рабочей зоны. в атмосферном воздухе?
4. Какие существуют пути снижения запыленности воздуха на производстве?
5. Какие существуют методы определения запыленности воздуха на производстве?
Изложите сущность счетного и псового методов определения запыленности воздуха. Какой из них позволяет установить соответствие воздушной среды принятым нормам?
Литература
Охрана труда / под редакцией Б. А. Князевского, М.: Высшая школа. 1982..
















