otchet14 (544380)
Текст из файла
М Э И
( ТУ )
Лабораторная работа №14
Тема: защита окружающей среды от электромагнитного
излучения СВЧ диапазона
Выполнили студенты группы А-15-0
.
2005 г.
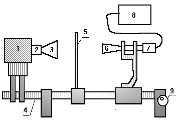
1. Схема измерительной установки:
1 - Генератор на диоде Ганна, 2 - ферритовый вентиль, 3 - излучающая антенна, 4-выдвижная штанга, 5 - экран, 6 - приемная антенна, 7 - термисторный преобразователь, 8 - термисторный мост, 9 - рукоятка для перемещения приемной антенны
2. Результаты измерения защитных свойств экранов различных типов
и рассчет ослабления поля, создаваемого экранами различных типов :
= 10lg(ППЭ без экрана/ППЭ с экраном)
Расстояние между излучающей и приемной антеннами 20 см
| Без Экрана | Экран 1(дерево) | Экран 2 (пластмасса) | Экран3 (сетка) | |
| ППЭ,мкВт/см2 | ||||
| , дБ |
Расчет значения теоретически ожидаемой величины ослабления поля для сетчатого экрана:
| вариант | b | r | | |
| 2 | 5 | 0.5 | 3 | 16.3 |
b - шаг сетки , мм;
r - радиус проволоки , мм;
- длина волны излучения , мм;
- эффективность экрана, дБ.
теоретич.= 16.302 дБ
3. Выводы о том, какие типы экранирующих материалов целесообразно применять в данной лабораторной установке.
Так как для безопасности жизнедеятельности населения предельный уровень ППЭ при непрерывном облучении составляет 10 мкВт/см2, то в данной лабораторной установке целесообразно применять экран из:_____________
4. Результаты измерения ППЭ в зависимости от расстояния до излучения антенны:
| Расстояние между излучающей и приемной антеннами, м | |||||
| 0,20 | 0,30 | 0,40 | 0,50 | 0,60 | |
| ППЭ,мкВт/см2 | |||||
5. Вывод о безопасном расстоянии, на котором можно располагаться в течение рабочего времени, в течение выполнения данной лабораторной работы.
Для безопасности жизнедеятельности населения предельный уровень ППЭ при непрерывном облучении составляет 10 мкВт/см2.
Безопасное расстоянием, на котором можно располагаться при непрерывном излучении ______
Безопасном расстояние, на котором можно располагаться в ограниченный период времени:
ППЭПДУ = К.ЭНПДУ / Т
где: ЭНПДУ = 2 Втчас/м2 (200 мкВтчас/см2);
Т - время пребывания в зоне облучения за рабочую смену, час;
К - коэффициент ослабления биологической эффективности,
К=1- для всех случаев воздействия, кроме облучения от вращающихся и сканирующих антенн.
Если считать продолжительность рабочего дня равной 8 часам, Т=8 час, то
ППЭПДУ = 1200/8 =25[мкВт/см2],
согласно графику, безопасным расстоянием , на котором можно располагаться в течении рабочего дня: _______.
Лабораторная работа выполняется в течении 1.5 часов
ППЭПДУ = 1200/1.5 =134[мкВт/см2],
Безопасным расстоянием , на котором можно располагаться в течении лабораторной работы: _______.
4
Характеристики
Тип файла документ
Документы такого типа открываются такими программами, как Microsoft Office Word на компьютерах Windows, Apple Pages на компьютерах Mac, Open Office - бесплатная альтернатива на различных платформах, в том числе Linux. Наиболее простым и современным решением будут Google документы, так как открываются онлайн без скачивания прямо в браузере на любой платформе. Существуют российские качественные аналоги, например от Яндекса.
Будьте внимательны на мобильных устройствах, так как там используются упрощённый функционал даже в официальном приложении от Microsoft, поэтому для просмотра скачивайте PDF-версию. А если нужно редактировать файл, то используйте оригинальный файл.
Файлы такого типа обычно разбиты на страницы, а текст может быть форматированным (жирный, курсив, выбор шрифта, таблицы и т.п.), а также в него можно добавлять изображения. Формат идеально подходит для рефератов, докладов и РПЗ курсовых проектов, которые необходимо распечатать. Кстати перед печатью также сохраняйте файл в PDF, так как принтер может начудить со шрифтами.
















