Пример отчета - турбины (543856)
Текст из файла
ТУРБИНА № 2 ТЭЦ МЭИ Методическое пособие к практическим занятиям по курсу «Источники и системы теплоснабжения промышленных предприятий» для студентов, обучающихся по направлению «Промышленная теплоэнергетика»
ОПИСАНИЕ ТЭЦ МЭИ
Теплоэлектроцентраль Московского энергетического института (ТЭЦ МЭИ) представляет собой промышленную паротурбинную электростанцию, входящую в систему Мосэнерго. Как и все московские ТЭЦ она отпускает вырабатываемую турбогенераторами электроэнергию в единое электрическое кольцо системы Мосэнерго и Единую энергетическую систему России (ЕЭС России). Тепло в виде пара отпускается от ТЭЦ МЭИ на нужды кафедр института, а в виде горячей воды отпускается на внешние тепловые потребители: на отопление, вентиляцию и горячее водоснабжение жилых зданий и промышленных предприятий района.
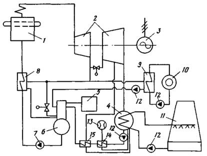
На ТЭЦ МЭИ установлено три2 паровых котла и два турбогенератора типа П-4-35 и П-65-35 Калужского турбинного завода, мощностью 4 и 6 МВт так что общая электрическая мощность Nуст — 10 МВт. Связь между основными агрегатами и аппаратами электростанции приведены на рис. 1.1, где показана принципиальная тепловая схема ТЭЦ в принятом в теплоэнергетике условном изображении основных элементов. Для упрощения и наглядности схемы на ней можно не показывать однотипное оборудование, это упрощение позволяет легче прослеживать взаимодействие основных агрегатов станции.
На принципиальной схеме обычно в левом верхнем углу (рис. 1.1) размещается парогенератор (котельный агрегат) (1), от которого перегретый пар направляется в турбогенератор (2), где пар последовательно расширяется в рабочих ступенях и передает энергию генератору (3), вырабатывающему электрический ток, направляемый в сеть Мосэнерго. Отработанный в турбине пар поступает в конденсатор (4) турбины (холодный источник цикла Ренкина), где пар отдает тепло охлаждающей воде и конденсируется полностью. Конденсат конденсатным насосом (12) прокачивается через подогреватель эжекторов, сальниковый подогреватель (14) и регенеративный подогреватель низкого давления (15) и попадает в деаэратор (6), где очищается от кислорода за счет термической деаэрации. После деаэратора смесь конденсата и химически очищенной воды подается к питательному насосу (7), который подает питательную воду при давлении рпв = 56 бар через подогреватель высокого давления (8) к водяному экономайзеру котла, тем самым замыкается цикл Ренкина по рабочему телу. Из промежуточной камеры отбора турбины при ротб = 5 бар забирается пар и направляется в подогреватель сетевой воды (9) для внешнего отпуска потребителям тепла (10), а также часть потока этого же пара идет на подогреватель высокого давления (8) и на деаэратор (6). Использование пара регулируемого отбора турбины как на цели внешнего отпуска тепла через сетевые подогреватели, так и на регенеративные подогреватели, является наиболее типичным для всех тепловых схем турбин с отборами пара.
Градирня показана на схеме (см. рис. 1.1 (11)), предназначенная для охлаждения циркуляционной воды, подаваемой циркуляционным насосом (12) в конденсатор (4) для конденсации пара после расширения его в части низкого давления турбины. В градирне происходит охлаждение циркуляционной воды за счет конвективного теплообмена с поступающим в башню градирни воздухом и, главным образом, за счет испарения воды с поверхности капель, получаемых путем распыления воды в центробежных форсунках.
В схеме показана система химводоочистки (5), обеспечивающая необходимое качество добавочной воды на питание котла в соответствии с нормами ПТЭ (Правила Технической Эксплуатации паротурбинных электростанций). На схеме (13) показан паровой эжектор и его охладитель, необходимый для конденсации пара, поступающего к соплам эжектора для удаления воздуха из конденсатора турбины. Вместе с тем на принципиальной схеме не показаны масло и воздухоохладители турбины, система использования непрерывной продувки парогенератора, система дренажей паропроводов и некоторые другие вспомогательные аппараты и агрегаты, необходимые для обеспечения нормальной работы основного оборудования электростанции. Назначение и описание этих устройств приводится в других разделах пособия.
Электрическая схема
На (рис. 1.2) приводится простейшая электрическая схема с указанием основных электрических агрегатов и коммуникаций ТЭЦ МЭИ. Основными элементами электрической части электростанции являются электрические генераторы, трансформаторы для связи с системой Мосэнерго, трансформаторы собственных нужд и сборные шины с секционными выключателями. Электрические генераторы, приводимые во вращение турбинами № 1 и № 2 подключены со статоров генераторов кабелями к сборным шинам электростанции напряжением 6 кВ, которые связаны повышающими трансформаторами 6/10 кВ с распределительным устройством 10 кВ и затем кабелями связаны с системой Мосэнерго. Понижающие трансформаторы 6/0,4 кВ связаны с секционными распределительными устройствами собственных нужд с напряжением 380 В, к которым подключены электродвигатели собственных нужд электростанции: питательные и циркуляционные насосы, вентиляторы и дымососы, конденсаторные и сетевые насосы и др. Приборы теплового контроля и автоматики питаются электроэнергией от двух специальных трансформаторов напряжением 380/220 В и 380/127 В.
Для аварийного управления и освещения электрические цепи управления, сигнализации, релейной защиты и освещения установлена в специальном помещении аккумуляторная батарея СК-10 емкостью 360 амперчасов с напряжением 220 В.. Помимо щитов управления на котлах и турбинах имеется главный щит управления, на котором сосредоточены приборы и устройства для управления и контроля за работой электрогенераторов, трансформатор связи с системой и трансформаторов собственных нужд. На главный щит вынесены показания контрольноизмерительных приборов и ключи для дистанционного управления выключателями, сигнализация положения выключателей, на нем размещены аппараты релейной защиты, аварийной сигнализации. Главный щит имеет средства связи со щитами и агрегатами машинного зала и котельной, такими как командные аппараты, аварийные сигналы, телефон. С главного щита оперативным управлением режимов работы всего оборудования электростанции руководит Дежурный Инженер Станции (ДИС), который в свою очередь имеет непосредственную связь и получает указания от диспетчера Мосэнерго и от диспетчера районной тепловой сети.
ТУРБИННАЯ УСТАНОВКА №2
Основные технические характеристики турбины №2
Паровая турбина П-4-35 изготовлена на Калужском турбинном заводе (КТЗ), номинальная электрическая мощность турбогенератора NH = 4000 кВт. Номинальное число оборотов n = 3000 об/мин или частота 50 1/с, при направлении вращения против часовой стрелки, если смотреть со стороны переднего подшипника турбины на генератор.
Номинальные параметры пара перед стопорным клапаном турбины:
давление пара 35 бар (отклонения 32—40 бар)
температура 435 °С (изменения 400—450 °С)
Номинальное давление в камере регулируемого промышленного отбора рпр = 5 бар (пределы регулирования 4—6 бар).
Максимальный расход пара на производственные нужды из отбора Dпр = 25 т/ч.
Максимальный расход на турбины Dтmax = 35,7 т/ч.
Номинальное давление отработавшего в турбине пара на входе в конденсатор рк = 0,07 бар (при номинальной мощности, номинальной температуре охлаждающей воды 20 °С и расходе охлаждающей воды 770 м3/ч). Турбогенератор допускает перегрузку по электрической мощности до 20 % от номинальной при номинальных параметрах пара и температуре охлаждающей воды 20 °С. При снижении номинальной величины регулируемого отбора пара, перегрузка турбогенератора выше 20 % не допускается заводом-изготовителем.
Автоматическое регулирование и защита турбины имеют следующие характеристики:
1) степень неравномерности автоматического регулирования числа оборотов 4 %;
2) диапазон синхронизации числа оборотов 10 %;
3) степень неравномерности автоматического регулирования давления в промышленном отборе 10 %, диапазон регулирования давления в промышленном отборе турбины 4—6 бар.
4) предохранительный выключатель (автомат безопасности) турбины срабатывает при числе оборотов ротора 3300—3360 об/мин;
5) предохранительный клапан на промышленном отборе срабатывает при давлении 7 бар.
Конденсатор турбины трубчатый с поверхностью охлаждения 280 м3, состоит из латунных трубок диаметром Ø 17/19 мм при активной длине трубок 2805 мм, количество трубок 1736 штук, трубки прямые, развальцованы в трубных досках. Охлаждающая вода проходит по трубкам осуществляя 4 хода, вследствие установки специальных перегородок в водяных камерах конденсатора, а в межтрубное пространство поступает отработавший в турбине водяной пар, который конденсируется, отдавая тепло охлаждающей воде. Выхлопной патрубок турбины и горловина конденсатора соединены жестко без компенсирующих устройств.
Конденсатор весом 12 т (с водой) и 9 т (без воды) установлен на четырех пружинных опорах, компенсирующих вертикальные температурные расширения конденсатора и выхлопного патрубка турбины. Трубки конденсатора компонуются в виде отдельных групп (островами) для свободного доступа к ним пара, для направления потоков пара и отвода стекающего конденсата установлены паровые щиты. Последняя по ходу пара группа трубок служит для охлаждения паровоздушной смеси перед ее удалением из корпуса конденсатора к специальным эжекторам.
На турбине № 2 имеется двухступенчатый паровой эжектор ЭО-30 производительностью 28 кг/ч паровоздушной смеси при давлении в камере всасывания рвс = 0,07 бара. Также имеется заменяющий его водоструйный эжектор такой же производительности по паровоздушной смеси, только работающий от насоса, подающего воду давлением 25 м Н2О к соплу водоструйного эжектора. Обычно турбина обслуживается при пуске и нормальной работе одним из эжекторов при примерно одинаковой эффективности их работы практически при всех режимах работы турбоустановки.
Конденсат, образовавшийся на латунных трубках, стекает вниз в виде капель и пленок и собирается в конденсатосборнике, откуда забирается конденсатным насосом типа ЭКН-18'-КГ производительностью 18 м3/ч при давлении нагнетания 4,2 бара (установлено два насоса, один из них в резерве).
Конденсатные насосы прокачивают конденсат через холодильник пароструйных эжекторов и подогреватель низкого давления, получающий греющий пар из части низкого давления турбины, и подают подогретый конденсат в деаэратор турбоустановки. Регенеративный подогреватель низкого давления (ПНД) типа ПН-9 имеет поверхность F = 9 м2 и рассчитан на расход конденсата через него до 17 м3/ч; при этом подогрев конденсата составляет 25—45 °С в зависимости от режима работы. Гидравлическое сопротивление ПНД составляет 5— 7м Н2О, а расход пара из отбора в разных режимах изменяется в пределах от 0,5 до 1,4 т/ч.
В таблице 1.1 приведены основные показатели турбины П-4-35 при различных режимах ее работы, в соответствии с данными испытаний завода-изготовителя — Калужского турбинного завода (КТЗ).
| Таблица 1 | ||||||
| № | Показатели работы | Единицы измерения | Режимы работы | |||
| 1 | Электрическая мощность | кВт | 4000 | 4000 | 4000 | 2000 |
| 2 | Величина промышленного отбора | кг/ч | 25000 | нет | нет | нет |
| 3 | Регенеративный подогрев воды | - | вкл | вкл | выкл | выкл |
| 4 | Температура. регенеративного подогрева | °С | 150+10 | 150±10 | нет | нет |
| 5 | Расход свежего пара | кг/ч | 35700 | 19900 | 18500 | 11400 |
| 6 | Удельный расход свежего пара | кг/кВт ч | 8,92 | 4,98 | 4,62 | 5,70 |
| 7 | Удельный расход тепла | кДж/кВт ч | 8977 | 13617 | 14916 | 17240 |
| 8 | Коэффициент полезного действия по электроэнергии | ηээ | 0,401 | 0,264 | 0,241 | 0,205 |
В таблице приведены режимы работы турбины как с промышленным отбором, так и на конденсационном режиме (без промышленного отбора, а также с регенеративным подогревом питательной воды и без него).
Характеристики
Тип файла документ
Документы такого типа открываются такими программами, как Microsoft Office Word на компьютерах Windows, Apple Pages на компьютерах Mac, Open Office - бесплатная альтернатива на различных платформах, в том числе Linux. Наиболее простым и современным решением будут Google документы, так как открываются онлайн без скачивания прямо в браузере на любой платформе. Существуют российские качественные аналоги, например от Яндекса.
Будьте внимательны на мобильных устройствах, так как там используются упрощённый функционал даже в официальном приложении от Microsoft, поэтому для просмотра скачивайте PDF-версию. А если нужно редактировать файл, то используйте оригинальный файл.
Файлы такого типа обычно разбиты на страницы, а текст может быть форматированным (жирный, курсив, выбор шрифта, таблицы и т.п.), а также в него можно добавлять изображения. Формат идеально подходит для рефератов, докладов и РПЗ курсовых проектов, которые необходимо распечатать. Кстати перед печатью также сохраняйте файл в PDF, так как принтер может начудить со шрифтами.
















